新浪财经 股票

黄祖仕打包“物业+商业” 融汇悦上市主体浮出

新浪乐居

关注

乐居财经徐酒眠发自重庆

“不是所有的人都能做制造家,不是所有的人都能做地产商。”

说这句话的黄祖仕,在如今风卷云涌的地产江湖更像是一个隐者,鲜少被提及。不过,在“闽系”地产史志上,他曾留下浓墨重彩的一笔。

有“福州地产黄埔军校校长”之称的黄祖仕,1989年与林文镜共同创建融侨,并一手将其塑造成了福建曾经最知名的地产品牌;15年后,黄祖仕挂冠而去,重组融汇,启动了黄氏家族的“造城”计划。

潜行十七年,融汇集团仅有过一次资产证券化,就是旗下主营园林景观工程的泽众园林(839506.OC)挂牌新三板。对于追名逐利的资本市场,他似乎兴致乏乏。

而今,身处物业上市风口,近古稀之年的黄祖仕也欲“乘风破浪”,开始对物业有了别的打算。“地产黄金潮渐退,物业和商业整合出击,与市场需求相契合。”4月20日,他亲自视察了旗下的物业公司。

有人猜测,难道也在做上市打算?此番推测并非空穴来风,事实上黄祖仕已悄然在“排兵布阵”了。

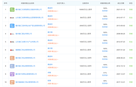
今年以来,融汇的物业剥离地产之外,商业管理公司也频频发生股东变更。辗转腾挪后,香港融汇悦生活有限公司(简称“融汇悦生活”)已经浮出水面。截至目前,融汇悦生活间接控股之下,“存续、在业”状态的企业已有10家。

“物业+商业”打包腾挪

2006年,融汇地产集团在重庆成立的同时,也诞生了其第一家物业管理公司——重庆融汇物业管理有限公司(简称“融汇物业”)。与之相比,其商业管理起步较晚,直到2012年7月才有相关公司成立。

笃定了“物业+商业”整合出击的思路,今年以来,融汇相继成立了两家法定代表人为黄威林的公司进行收权。1月12日,重庆融汇优家智慧生活服务有限公司(简称“融汇优家”)成立,注册资本1亿元;3月4日,重庆融汇家悦企业管理有限公司(简称“融汇家悦”)注册成立。

就在黄祖仕视察物业公司的4月20日,融汇优家的注册资本从1000万元激增至了1亿元,同时大股东从“重庆融汇地产(集团)有限公司”(简称“融汇地产”)变更为了融汇家悦。

而在此之前,分别用以腾挪物业与商业资产的两家公司——融汇物业与重庆融汇冠岭商业地产营运管理有限公司(简称“融汇冠岭”),已经被归置于融汇优家的控股之下。

前后相隔三天,分别在4月7日、10日,融汇物业与融汇冠岭先后从地产公司剥离出来,融汇优家跻身大股东,分别取代了重庆融汇实业有限公司、融汇地产。

于股权变更之前,融汇物业与融汇冠岭均曾减少了注册资本,前者从2000万缩减到了1000万,后者从1.6亿减至了2000万。

5月26日,融汇物业收购了重庆新天源物业管理有限公司51%股份。至此,融汇物业就有了包括福建融汇物业管理有限公司在内的两家控股物业管理公司;而融汇冠岭收权了4家商业相关的公司。

规模显“单薄”

腾挪资产,收权物业与商业之外,在今年的4月2日,融汇集团还备案了两个网站。其中,在融汇悦生活集团官网平台,已经明晰了其两大服务产品就是物业服务与商业运营。

然而,从融汇集团的发展中窥探,其物业服务与商业运营的底色略显单薄。

与融侨分家,重组融汇,黄祖仕将根扎在了重庆。

早在2001年,还在融侨的黄祖仕就引入其兄弟,借用融侨品牌开发了重庆南岸区融侨半岛项目。2004年退出融侨后,他又进军了重庆巴南区,独立开发了融汇半岛项目。

十余年来,以重庆、福建、山东、安徽为主要战略基地,辐射周边,截至2019年,融汇地产集团已开发面积逾1500万平米,开发占地超过2万亩。

而据融汇官网披露的信息显示,目前融汇物业的管理项目总建筑面积为超750万平方米,服务业主7万余户。与上市物企相比,无论是规模还是项目布局,融汇物业的竞争力都有限。

据乐居财经统计,2020年已披露年报的42家上市物企在管面积总共为42.8亿平方米,均值过亿,其中TOP5的在管面积均超3亿。2020年上市物企的在管面积平均增量为2930.7万平方米,较2019年的1952.2万平方米,增长了50.1%.

融汇物业在融汇地产之外,每年的招投标市场拓展项目并不多。截至目前,官方披露过的仅有3个,且管理面积都不是非常大。

2017年,福建融汇物业托管福建省林业厅宿舍,项目总建筑面积为4.31万平方米;2019年,重庆融汇物业签约蓝月亮集团,全面接管蓝月亮重庆厂区的物业管理工作,管理面积达9.8万平方米;2020年,重庆融汇物业与重庆冠昭物业签订咨询顾问协议,对冠昭物业旗下住宅提供管理输出,项目面积达55万平方米。

而商业运营管理项目方面,开启外拓之路还是在去年11月,重庆融汇物业与重庆永宏智造文化旅游有限公司,就解放碑“山城巷”物业管理项目签署托管协议。

黄威林“二代”继位?

黄祖仕退出融侨,外界一度猜测不断。直到多年后的一次采访,黄祖仕才首次回应,他说自己的出走挽救了林氏集团,也挽救了黄氏家族的生意。

“但是我是坚决反对的,因为确实我不了解钢铁行业”。彼时,黄祖仕在重庆做得风生水起,林文镜却提出要融侨退出重庆,让黄祖仕回福州筹建钢铁集团;而当时的黄祖仕觉得,离开重庆不做房地产开发是一个战略失误。

黄祖仕今年已经67岁,他打下的融汇集团江山,未来将交付予谁?

成立融汇悦生活集团,合并重组融汇物业与商业的组织架构中,黄威林是一个重要的存在,不过对于他与黄祖仕的关系,并没有官方盖棺论定。

在黄祖仕任董事长兼经理的重庆融汇投资有限公司,黄威林与黄丹青、陈忠、陈新萍任董事。其中已知的是,陈新萍是黄祖仕的妻子,而黄丹青是黄祖仕的女儿。

黄丹青出身1984年,中国香港籍,2007年毕业英国东伦敦大学。而黄威林的履历中,他也是中国香港籍,2008年7月毕业于英国伦敦皇后玛丽学院。

“黄祖仕的一对儿女,现在都在英国留学,一个学建筑,一个学管理,大女儿个性强,像父亲,小儿子则像母亲。”对照这段2008年的时候一位网友提供的信息来看,黄威林与黄祖仕颇有揣测的空间。

加载中...