新浪财经 股票

长江证券内部员工万字长文再爆新财富丑闻:行贿上位

中国证券报

关注

举报人接受独家采访:万字长文详述事件过程,不惧上法庭!长江证券:举报系个人恶意捏造!

相关阅读:

长江证券前员工举报总裁行贿上位:称是公开秘密

长江证券女销售手撕总裁刘元瑞:行贿拜票、出入会所

长江证券回应前员工举报:恶意捏造与事实严重不符

长江证券:前员工举报相关人员"行贿"新财富评选不实

长江证券前机构销售实名举报公司研究所向新财富行贿

一方是曾经跻身国内一流阵营的知名大券商,一方是被诊断患有抑郁症的一线女员工。昨日,员工王洁的一封公开举报信,再次将长江证券推向舆论风口浪尖!

8月14日下午,长江证券研究所前销售王洁,实名举报老东家行贿、炒股、违规招待等问题,在业内朋友圈迅速被传播。

昨天深夜,举报人王洁电话接受中国证券报记者独家采访,万言采访实录揭示了一名员工与知名大券商之间的长期恩怨情仇……真相究竟是什么?

长江证券当日第一时间回应媒体称:“举报内容系恶意捏造,公司将保留追究其法律责任的权利。”

对此,王洁向中国证券报记者表示:“不惧上法庭!”

此前,根据证监会7月26日公布的2019年证券公司分类结果,长江证券、东莞证券、网信证券三家券商被连降3级。其中,长江证券由去年的BBB级降为今年的CCC级,这也是长江证券十年来最差的一次评级结果。

对此,王洁认为:正常,必然!

同时,长江证券也给中国证券报记者给出了书面回复。

法律人士认为,劳动合同纠纷问题应由劳动仲裁机构依法仲裁,而关于举报的相关事项则需查明法律事实。

各执一词、互不相让

在给中国证券报记者的回复中,王洁发了总计22个附件、约10000字的事件解释内容。

举报人王洁称:

“本人2016年1月4日入职长江,原属于研究所机构部员工,直属领导为明敏,明敏的上级为杨忠,部门分管领导为总裁刘元瑞。以下为事情经过:(滚动查看)

1、2018年10月29日,我被约谈不续签:收到部门负责人杨忠的约谈,以“末尾淘汰”理由告知我合同到期不续约,我提出不认可末尾淘汰的说法,要求给出具体的规章制度及佐证,杨忠拒绝提供,后来又承认我能力完全胜任,但是不符合团队的风格,所以请我离开,我表示收到不续签的口头通知,到期不续签就按政府规定的及其他合理的补偿给我。

2、2018年11月9日下午五时左右,我被明敏恶意不公正对待:我要求报销一些客户业务往来的费用,明敏四次要求我打印客户送礼明细并要我亲笔签名,由于之前都有事先报备,我认为书面留痕对公司和客户都不利多次拒绝,并反复强调可以口头核对,明敏以拒绝报销为要挟,并且对别的销售并没有这样的要求,而且我的报销费用在所有销售里偏少(具体研究所经营总结含每个员工的具体报销费用公示,见附件2、3),明敏借此在办公司公开歪曲贬损我的业绩和能力,扬言要开除我,要我滚出办公室并公开质问我为何什么还不离开公司。随后我把当时被不公正对待的事情反馈给总裁刘元瑞,希望总裁刘元瑞主持公道。(具体请见附件4)

3、2018年11月12日,我讨要公道却被不合流程及规范的通知正式不续签:11月12日周一一大早杨忠拿着一份影印的“终止劳动合同通知书”,我问及理由,杨忠只是无根据的说,我王洁就是最差的,就是要我离开。(具体请见附件5)

4、2018年11月9日开始,我无法得到正常开展工作必要的条件:从我被明敏驱逐出办公室开始,我被无理由踢出平时开展工作的各种内部群,部分员工收到领导通知说我已经离职,被要求把我从其管理的群里移除,但是我本身合同2019年1月4日才到期,杨忠、明敏等通过各种手段导致我无法正常开展工作及造谣损害我的名誉。(具体请见附件6、7、8)

5、2018年11月12日开始,杨忠以研究所副所长邬博华是当初“推荐”我进长江(其实只是客户出面请邬博华递简历)为由要求邬博华来“善后”,我对邬博华坦诚了患抑郁症的情况,并希望换位思考不要给我那么大的精神压力(具体见附件9)

6、2018年12月17日下午五时,通过律师表达诉求:由于感到自己没有办法再有效的保障自己的权益,我无奈通过律所律师出具律师函表达自己的诉求,杨忠、明敏从2018年7月26日开始无理由给我降薪40%,我多次找明敏沟通,对方一直以“新财富”看表现为由拖延,此期间我要求给降薪依据,她也无法提供,我通过律师函提起弥补无理由克扣的工资以及正常的报销和年终奖的诉求,律师函具体通过纸质文件和电子邮件的形式发送给总裁刘元瑞,机构部副总经理杨忠,机构部副总经理甘露,人力资源部副总经理葛晓明,人力资源部黄晖荣,总裁秘书黄国伟。(具体律师函请见附件10)

7、2018年12月17日晚开始,我又陆续被踢出各种工作有关联的微信群(见附件11)

8、2018年12月22日,由于近期工作压力导致抑郁症加重无法正常生活:我再次去“上海市精神卫生中心”诊治,医生诊断抑郁全面爆发,影响正常生活,原本不好意思公开自己抑郁的情况,但已影响到正常生活了,医生又再次开具了病假条。2018年12月23日在OA上提起了休假流程并邮件明确告知杨忠、明敏以及人力资源部葛晓明和黄晖荣,并同时顺丰快递病假条实物给人力资源部黄晖荣。(具体请见附件12、13)

9、2019年1月17日,总裁刘元瑞派在职领导甘露代表公司来协商调解事宜,经历一个月协调我让步同意接受公司象征性的补偿,消除非法开除,但我要求17年递延未发放的30%奖金141000如数发放给我,甘露表示自己的也没发放,但会帮我尽量跟人里沟通(见附件21)

10、2019年4月最终调解失败,我委托律师依法提起劳动仲裁。

11、2019年6月初,原本本人委托的律师事务所与长江证券的法律顾问相冲突,基于此通过内部人士了解到长江证券对此劳动仲裁案件的态度是:不惜一切代价必须赢的漂亮!鉴于此,我和我的律师也保留对该劳动仲裁法官的监督投诉权。”

对此,长江证券回复中国证券报记者称:(滚动查看)

“作为市场化经营机构,长江证券对绩效考核不理想的员工、部门坚持常态化绩效考核运用与调整。2019年1月,王洁劳动合同到期,机构客户部鉴于其业绩表现持续未有较大改善,决定不再与其续签合同,并于2018年11月12日向王洁发送《终止劳动合同通知书》。在得知不再续签劳动合同后,王洁对公司决定表示无法接受,对早期的工资调整、费用报销提出质疑,并持续与部门负责人、团队主管、员工发生矛盾纠纷,同时出现旷工等不服从管理的违纪行为。鉴于王洁持续旷工,不接受公司管理,极大的影响了部门的正常运行,2018年12月20日,公司分别使用电邮、快递向王洁送达《关于连续缺勤的法律风险告知函》,但王洁拒不改正;2018年12月25日、26日,公司分别使用电邮、快递向王洁送达《关于解除劳动合同的通知》,并正式与其解除劳动合同。

2019年1月开始,王洁通过朋友圈、微信群等多种方式散布不实言论、威胁公司,要求进行巨额赔偿,公司基于事实和客观公正,未予妥协。

2019年4月,王洁就劳动关系解除问题向上海市浦东新区劳动争议仲裁委员会提出仲裁;2019年6月5日,上海市浦东新区劳动争议仲裁委员会开庭审理;2019年6月20日,上海市浦东新区劳动争议仲裁委员会作出裁决,除了部分业务费用报销、交通费报销等请求外,对王洁所谓支付过往年度绩效奖金、克扣工资差额、违规解除劳动合同补偿等请求不予支持。目前,该案处于起诉期。

该微博所举报的所谓事实,系王洁不满公司解除其劳动合同,个人恶意捏造的信息,与事实严重不符。公司将保留追究其法律责任的权利。”

王洁在举报中还称:“历任研究所长通过不法手段获取新财富排名上位,再通过制定新财富考核制获取近千万年薪完成利益转移,原研究所所长现任总裁刘元瑞开大肆送购物卡行贿投票客户之先河,现任副所长邬博华送现金行贿客户获取新财富上位,败坏行业风气、是行业内众所周知公开的秘密。”联系到长江证券2019年的券商分类评级结果中连降三级,降至“BBB”。王洁认为此系“正常、必然。”

对此,长江证券回复中国证券报记者称:

“证券公司分类监管评价是监管机构对券商在固定报告期内风险管理能力、市场竞争力和持续合规状况三个方面的综合性评价。公司2019年分类评价结果变动较大,主要系收入利润指标双降,营业收入、投行收入等加分项均以1分之差错失加分,虽机构业务收入加分提升,但杯水车薪。扣分项方面,主要系长江证券承销保荐公司收到多张罚单所致。

中国证监会明确表示,“证券公司分类结果不是对证券公司资信状况及等级的评价,而是证券监管部门根据审慎监管的需要,以证券公司风险管理能力为基础,结合公司市场竞争力和合规管理水平,对证券公司进行的综合性评价,主要体现的是证券公司合规管理和风险控制的整体状况”。根据《证券公司分类监管规定》,证券公司分为A、B、C、D、E等5大类,其中A、B、C三大类公司均为正常经营公司,其类别、级别的划分仅反映证券公司在行业内风险管理能力及合规管理水平的相对水平。

公司目前经营正常,流动性充裕,财务状况良好,各项业务开展平稳。分类评价结果会对少数业务的展业有一定影响,但影响较小。其中,自营投资和股票质押业务的规模上限虽有下调,但实际业务规模距上限仍有50%以上的增长空间;新增投保基金缴费约7000万元,而公司今年以来盈利良好,对利润影响较小。

2019年上半年公司经营业绩显著回升,归属于上市公司股东的净利润10.87亿元,在已公布2019年半年度业绩预告的13家上市券商中排名第6位,同比增长187.60%,增速快于已公布半年业绩预告的上市券商平均水平。综上所述,此次分类评价结果下降不会对公司正常经营造成影响。”

关于王洁与长江证券的“互撕”,中国人民大学商法研究所所长刘俊海对中国证券报记者表示,这里面存在多种可能性。一种可能是王洁确实与长江证券存在劳动合同纠纷;另一种可能是,长江证券或的确存在王洁所述的诸如为获得新财富奖项去拜票、行贿,以及从事其他的证券市场上的不法交易。但是,长江证券究竟有无上述行为,还需查明法律事实,不可依靠媒体上的新闻事实。当事人所附的照片等证据、线索的真实性、合法性、关联性和充分性,有待于进一步核实。

“桥归桥,路归路。”刘俊海认为,涉及到道德的问题交由道德去评价,公众可继续讨论,但涉及到法律的问题需交由法律来解决。包括相关费用的报销问题、补偿金问题等,这些事情不难解决,完全按照劳动法和劳动合同法,通过仲裁程序化解争议。此外,王洁作为长江证券的前员工和普通公众,举报违法问题后,证券监管部门及纪检监察部门对于她提供的线索应当启动核实程序。

国浩律师事务所执业律师朱奕奕介绍,根据《劳动法》及《劳动合同法》的相关规定,若公司提出解除劳动合同,公司应在员工办理完毕工作交接后,支付该员工的薪资,且结算并支付一定的经济补偿。

根据《劳动合同法》第四十七条:“经济补偿按劳动者在本单位工作的年限,每满一年支付一个月工资的标准向劳动者支付。六个月以上不满一年的,按一年计算;不满六个月的,向劳动者支付半个月工资的经济补偿。劳动者月工资高于用人单位所在直辖市、设区的市级人民政府公布的本地区上年度职工月平均工资三倍的,向其支付经济补偿的标准按职工月平均工资三倍的数额支付,向其支付经济补偿的年限最高不超过十二年。本条所称月工资是指劳动者在劳动合同解除或者终止前十二个月的平均工资。”

“若王洁的该些举报皆属实,则建议相关机构予以查处;若举报皆为捏造,则其行为涉嫌侵犯当事人的名誉,应依法承担相应的侵权责任。”朱奕奕称。

从头部券商到CCC级

公开资料显示,长江证券前身为湖北证券,成立于1991年。至1996年,以股票主承销家数为排名指标,长江证券曾在全国位列第七位,一度跻身全国十大券商之列。2005年1月14日,受中国证监会的委托,长江证券托管大鹏证券经纪业务及所属的31家证券营业部和2家证券服务部。根据中国证监会2009年的证券公司分类监管评价结果,长江证券一度晋升至A类A级。

2015年,新理益集团有限公司受让长江证券原第一大股东青岛海尔投资发展有限公司持有的全部长江证券股份,新理益正式成为长江证券第一大股东,直到现在。新理益集团有限公司董事长系刘益谦,富豪榜常客。

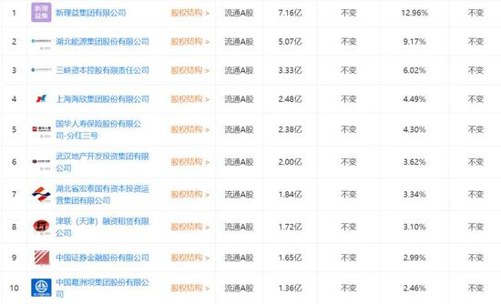
长江证券前十大流通股东

数据来源:天眼查

因股权分散,长江证券一度存在实际控制权之争。在刘益谦入主长江证券的一个月后,彼时以邓晖为主导的管理层于2015年5月启动120亿(后缩减为83亿)的定向增发。次年七月增发后,三峡资本控股、武汉地产开发、湖北中小企业金融服务公司、湖北鄂西生态文化旅游圈投资公司分别持有3.62%、3.62%、1.81%、1.81%的国有背景股东进入长江证券,新理益集团持股被稀释为12.62%。

此后,刘益谦虽通过旗下国华人寿在二级市场增持长江证券,以加强对长江证券的影响力,但第一大股东与第二大股东持股比例接近,这也导致长江证券至今宣称自己无控股股东,也不存在实际控制人。

没有实控人的长江证券,公司管理层的任命显得尤为重要。2017年底,总裁邓晖离任,副总裁刘元瑞接任。

此前,长江证券在券商分析师评选中表现亮眼,研究实力突出。天相投顾统计的数据显示,长江证券2018年的基金分仓佣金收入达4.06亿元,同比增长9.74%,首度超越中信证券,跃居首位。而被王洁举报在新财富评选中行贿拜票80后总裁刘元瑞,亦是新财富分析师出身,曾是长江证券钢铁行业首席分析师,也一度是国内最年轻的上市券商总裁,就任总裁时年仅35岁。

根据证监会今年7月26日公布的2019年证券公司分类结果,长江证券、东莞证券、网信证券三家券商被连降3级。其中,长江证券由去年的BBB级降为今年的CCC级,这也是长江证券十年来最差的一次评级结果。

2018年7月中旬公布的2018年分类评价加分情况表明,长江证券仅以总分10.2分位居第18位,评级已经降至“BBB”。同为湖北省券商的天风证券,则上升为“A”级。

而根据2017年全国97家证券公司分类结果,长江证券、天风证券均入围A类证券公司,评级较2016年上调。

相关人士称,证券公司分类结果不是对证券公司资信状况及等级的评价,而是证券监管部门根据审慎监管的需要,以证券公司风险管理能力为基础,结合公司市场竞争力和合规管理水平,对证券公司进行的综合性评价,主要体现的是证券公司合规管理和风险控制的整体状况。

“监管评级一年评一次,由于这几年资本市场变化很快,券商的经营活动,风险能力等指标也会发生波动,所以历史上券商评级上下浮动1个级别还是非常正常的。这种情况大小券商都遇到过,而且还不少。但如果评级浮动超过1个级别,可能就要具体看看是因为什么业务导致了评级的变化。”某业内人士向中国证券报记者表示。

降至“CCC”级对长江证券有什么影响?某银行人士表示,银行在和券商合作的时候,也会看这个评级,毕竟这是证监会发布的对券商的监管评级,具有权威性的。因此,一些大银行和券商合作时候,基本要求券商评级不得低于“BBB”。当然,也有很多银行是自己内部对券商会有评级,和券商分类监管评级不一样。

7月15日,长江证券发布的上半年业绩预告显示,该公司上半年实现净利润10.87亿元,较去年同期的3.78亿元增长187.6%。上半年实现每股收益0.2元/股,而去年同期每股收益为0.07元/股。

长江证券表示,2019年上半年,证券市场行情回暖。长江证券财富管理、投资业务等收入均实现增长,经营业绩同比大幅增长。今年以来,长江证券围绕资本市场服务实体经济的总体要求,遵循“稳中求进”的发展主基调,稳步推进各项业务持续、健康发展,取得了较好的经营业绩。

不过,7月经营情况则急转直下。8月6日长江证券发布的7月经营情况显示,公司(母公司)实现营业总收入3.39亿元,同比下降23.61%;净利润5726.32万元,同比下降55.02%。另外,公司境内证券子公司长江保荐实现营业总收入6590.10万元,净利润2630.96万元;长江资管实现营业总收入2934.69万元,净利润1033.19万元。

一位券商人士告诉中国证券报记者,员工举报及评级下调,实质上反映出公司内部管理失序。他也希望长江证券能够借内部重整来实现刮骨疗毒,破旧立新。

今年6月13日,湖北证监局称,近期在日常监管中发现,长江证券在对境外子公司管理方面存在以下问题:一是未按规定履行报告义务;二是对境外子公司管控不到位,未有效督促境外子公司强化风险管理及审慎开展业务;三是对境外子公司的绩效考核存在不足。

湖北证监局认为,上述情况反映出长江证券风险管理不到位,内部控制不完善的问题,违反了《证券公司监督管理条例》第二十七条第一款规定,依照《证券公司监督管理条例》第七十条第一款规定,决定对长江证券采取责令改正的行政监管措施。并要求于2019年9月30日前予以改正,向湖北证监局提交书面整改报告。

此外,在2018年下半年,长江证券(上海)资产管理公司作为管理人的长江资管祥瑞2号资产管理计划(简称祥瑞2号)“踩雷”上海华信国际集团有限公司发行的“17华信Y1”公司债券。据悉,祥瑞2号三期产品投资配置中均重仓了债券,其中“17华信Y1”在配置的前五大债券产品中居首位。

而在4月26日,因为长江证券业务部门未配备合规管理人员,且合规部门检查流于形式、未有效履行合规管理职责等,上海证监局做出了对长江证券承销保荐有限公司采取出具警示函措施的决定。

2018年9月份,长江证券还曾因为两单公司债项目,被上海证监局责令改正。其一,东方金钰项目中存在募集说明书中对个别关联方信息披露前后不一致,对发行人存在差额补足事项未进行充分核查并及时准确披露等问题;其二,在国泰君安项目中,存在尽调、发行定价、销售等工作由同一部门负责完成,部分机构的询价单等簿记建档底稿材料缺失等问题。

刘俊海认为,长江证券内部也应展开自查自纠,查明是否在券商分析师评选中存在行贿拜票行为。如果正如王洁所述,新财富分析师评选中存在诸多不正之风,相关从业人数做不到慎独自律,对证券行业的伤害很大,也会影响投资者的幸福感、获得感和安全感。整件事情的来龙去脉需在查明事实后才能确认。

转型迫在眉睫、合规风控是前提

此前,监管层也明确对推动证券行业健康发展形成四点共识:一是证券公司执业中应关注业务本身,提高核心业务水平,以高质量、高附加值的服务形成证券公司核心竞争力;二是应完善投资银行内部控制制度,合理确定价格,推动形成公平、有序的价格机制和竞争格局;三是进一步增强法治意识,大局意识,防止恶性竞争,形成廉洁从业、公正执法的行业风气;四是进一步加强行业自律管理,切实发挥“自律、服务、传导”职责,树立好榜样,传播正能量,努力增强证券业服务实体经济的能力。

多位国内头部券商掌门人已经就证券公司该如何转型,推动证券行业高质量发展给出了自己的答案:

国泰君安董事长杨德红提出,要持续强化证券公司及其从业人员的社会责任和诚信意识。证券公司要营造全员合规风控文化,强化从业人员廉洁执业,净化市场生态环境;强化投资者适当性管理责任,加强投资者教育和保护力度;秉持“金融报国”理念,服务国家战略,强化履行社会责任。

海通证券董事长周杰提出,证券公司要切实提升整个集团层面的合规风控水平,牢牢守住不发生系统性风险的底线。合规管理方面,要培育全方面合规的治理内控环境,构建集团化的合规管理体系,实现“合规管理全覆盖”,倡导全员合规意识,稳守合规经营的底线;风险管理方面,要完善集团范围内可测、可控、可计量、可应对的全面风险管理体系,构建集团基于客户的风险信息共享体系。

加载中...