新浪财经 股票

中弘股份重组失败最后1根救命稻草没了 大股东也没钱

国际金融报

关注
日k线图

日k线图

5月28日,中弘控股股份有限公司(下称“中弘股份”)公告称,由于中弘集团未能与相关债权人就偿债安排及该重组事项达成一致,并取得债权人同意意见,经中弘集团向港桥投资提出申请,中弘集团、中弘股份实际控制人王永红及港桥投资经协商一致,同意终止本次重组事项。

至此,将重组当作中弘股份“救命稻草”的王永红或要失望了。

一大家子都是亏

早在5月11日,地产深度报道就中弘股份的经营和财务问题进行了报道《巨亏、项目停工、财务存疑,中弘股份深陷内忧外患之局》。

在经营活动现金净额同比下降575.13%、净利润同比下降45.28%的2016年,中弘股份在其年报中称“公司A+3战略初步形成,‘A’就是在A股已经上市的中弘股份,‘ 3’则是指公司收购的三家境外上市公司(KEE公司,中玺国际、亚洲旅游)。”

但值得注意的是,上述三家境外上市公司均为亏损。

5月15日,中弘股份公告称,其间接持有的境外全资子公司著融环球于2018年5月11日收到律师事务所告知函,“因未能按照要求提前还款,著融环球持有的中玺国际股份2.3亿股作价3.41亿港元出售。此次质押转让对中弘股份造成投资损失9223.8万元。此次交易后,中弘股份不再持有中玺国际股份。”

公告显示,著融环球因日常运营需要,向民信财务借款3.2亿港元 ,借款期限为 12 个月,著融环球拟以持有的中玺国际全部股权为本次借款提供质押担保,同时中弘股份作为本次借款担保人。但鉴于中弘股份已发生多起债务违约, 故民信财务先后三次要求著融环球提前偿还借款。

事实上,不仅中弘股份自身深陷债务危机,被收购的中玺国际也资金告急。

中玺国际自2015年被中弘股份收购以来,净利润一直处于亏损状态。

截至2017年末,中玺国际分别亏损2805.2万港元、1079.5万港元、1422.5万港元。2015年至2017年年报显示,中玺国际在这三年的经营活动现金净额分别为-1203.8万港元、-1131.4万港元、-429.6万港元。

再来看亚洲旅游(Asiatravel.com),其2017年年报还未公布,但从2016年亚洲旅游的盈利来看,即中弘股份完成收购亚洲旅游的那一年,亚洲旅游扣税后亏损883.4万新加坡元。2015年,亚洲旅游扣税后亏损1151.5万新加坡元。

2016年,中弘股份境外子公司Glory Emperor Trading Limited完成对KEE公司的全面要约收购,占KEE公司已发行总股份的75%。

中弘股份公告称,在收购KEE公司之后,公司将通过投资或合作开放的方式,构建旅游产品的互联网营销平台和金融服务平台,开展旅游地产互联网营销及互联网金融业务,主要服务本公司正在开发的旅游地产项目营销。

但现实很骨感:KEE公司不但未如中弘股份所期待的一般,顺利开展旅游地产业务,还在2018年3月16日发布溢利警告。公告显示,2017年公司利润亏损主要因为房地产代销业务疲惫,并于2017年8月24日出售全部房地产代理业务。此外,公告称,截至2017年12月31日,KEE全年并未获得出售物业、厂房及设备与租赁土地给关联方的收益。

2017年年报显示,KEE公司净利润亏损4557万港元。在房地产业务亏损后,KEE在2017年选择“弃车保帅”,强调要维持拉链业务并确定其盈利性。

大股东也没钱?

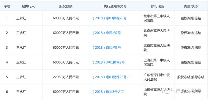
5月23日,中弘股份公告称,公司控股股东中弘卓业集团持有上市公司的全部股份再次被司法轮候冻结,具体原因尚在核实。

此前,中弘卓业曾因未能按时回购交易业务和逾期未清偿对外债务,被司法冻结其持有的中弘股份股权。

截至2017年12月31日,中弘卓业持有中弘股份22.28亿股且全部被冻结,其中,22.21亿股被质押。

一位律师向记者指出,“一般司法冻结有两种情况:一种是以股权作为质押标的为他人做担保,司法冻结是由于他人未按时缴付贷款,而承担连带责任;还有一种是因为自身资金需要而将股权质押融资,但是因自己经营问题还不上贷款,而承担债务责任。”

2017年年报显示,中弘卓业为中弘股份担保63亿元。此外,公开资料显示,王永红作为中弘卓业的实际控制人(持股比例为100%),自今年以来所持股权被司法轮候冻结。

上述律师表示,“大股东股权被冻结,像乐视的贾跃亭,一方面意味着个人资金周转或面临困难;另一方面也意味大股东没办法用股权进行融资,获取现金为公司造血。”

记者就中弘卓业持股股份被司法冻结的原因多次致电中弘股份,但截至发稿前,电话均无人接听。

值得注意的是,5月24日,中弘股份再次发布公告称,由于其收购的A&K公司2017年未能完成业绩承诺,根据公司与中弘卓业签订的《业绩承诺与补偿协议》,中弘卓业2017年应补偿中弘股份现金金额3.86亿元。

但公告指出,中弘卓业并无足额资金以现金方式进行补偿,故补偿金额从中弘卓业全资子公司给公司下属全资子公司的无息借款中(借款余额为8452.34万美元)予以直接扣除。

虽然集团内部借款并不稀奇,但公开资料显示,中弘卓业集团控股企业达147家。

一位资深审计人员表示,“由于中弘卓业不是上市公司,内外部借款并不需要进行公示,中弘卓业到底借了多少钱、它底下的公司又在外面借了多少钱,除非有诉讼公告,否则很难得知。但是,中弘卓业以借款形式冲抵业绩补偿或从侧面说明其本身现金流有困难。”

加载中...