新浪财经

苹果要造床垫?已申请智能床垫专利 可监测睡眠、无声充气唤醒

腾讯美股

关注

原标题:苹果要造床垫?已申请智能床垫专利 可监测睡眠、无声充气唤醒 来源:腾讯科技

腾讯科技讯 3月27日消息,苹果最新公布的专利申请文件显示,该公司正在研究一种所谓的“触觉反馈装置”,这种装置可以放在床垫上,除了帮助监测睡眠外,还可拥有无声充气唤醒功能。

苹果已经有了几个与睡眠相关的项目。2017年,苹果收购了床上传感器公司Beddit,其通过与苹果专利设备类似的传感器来跟踪人们的睡眠质量。此外,苹果于2020年在其Apple Watch平台上引入了睡眠跟踪功能。

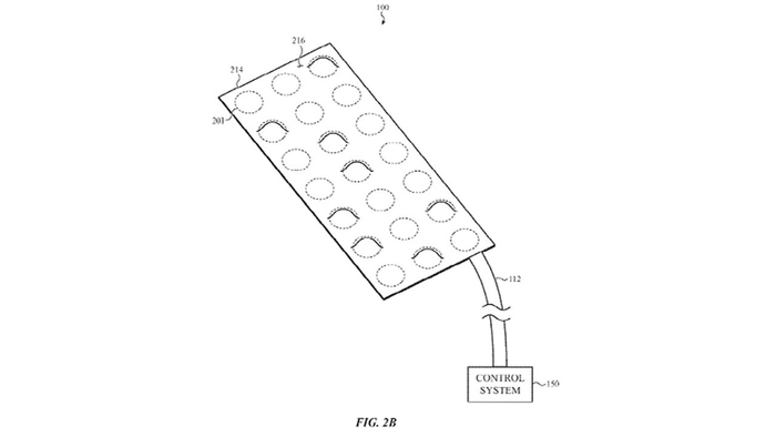
在最新名为“具有用于在床垫上产生触觉输出驱动单元的气动触觉装置设备”的专利申请中,苹果概述了一种新型的睡眠相关系统,该系统可以让控制设备在床垫上提供触觉反馈。

所谓的“床上触觉设备”可以由可以充气或放气的致动单元组成,以产生触感和可感知的冲击。它可以通过引入或移除某种类型的“流体”来做到这一点,这些“流体”也可能包括空气、气体、液体或它们的某种组合。

该专利写道:“这种床上触觉设备可以包括一个外壳,该外壳被配置成在使用过程中放置在用户的身体下方。它可以沿着用户可以触觉到(例如通过触摸感知)的顶部外表面提供触觉输出。”

舒适性是睡眠的重要组成部分,因此苹果补充说,床上触觉设备足够薄或足够柔韧,当放在床垫上时,不会打扰用户。

该系统可以被配置为以预定顺序扩展、收缩或以其他方式改变形状,以提供触觉输出。苹果指出,它可以用来“帮助用户放松,移动或叫醒用户,在床上触觉设备或其他电子设备上指示输出、警报或通知等等”。

苹果还说,触觉装置可以与输入系统相结合,也可以包括输入系统,输入系统可能包括力传感机械、生物识别传感器、光传感器或其他传感器。

有了这套传感器,该系统可以检测用户是否躺在床上,以及他们是保持仰卧还是侧卧姿态。如果传感器套件中包括麦克风,系统还可以检测打鼾。

就实际使用而言,该系统可以作为轻柔无声的“闹钟”来唤醒用户。与打鼾检测系统相结合,它可以自动提供触觉反馈,如果用户整夜打鼾,它可以轻轻地叫醒他们。

该专利发明人包括莱利·勃兰特(Riley Brandt)、琳达·贝纳文特-诺塔洛(Linda Benavente-Notaro)、安东尼奥·埃雷拉(Antonio Herrera)、丹尼斯·林(Denis Lin)、曾紫静(音译)、张志鹏(音译)以及埃尔诺·克拉森(Erno Klaassen)。其中至少有两位发明者还研究过与Apple Watch血压传感机制和“智能毯子”相关的技术。

苹果还在其他专利中展示了它在睡眠方面的雄心,包括2月份发布的一项睡眠跟踪系统。苹果每周都会提交并获得大量专利申请,但并非所有专利都可能转化为成品,有时还被用作营销形式或阻止竞争对手向某些领域扩张的方法。

在这项专利申请曝光之前,有消息称苹果计划推出一款专为运动员设计的强固型Apple Watch,具有更好的抗冲击和保护功能。该公司计划在今年晚些时候或2022年发布新版本智能手表,目标用户是那些在极端环境下使用智能手表的人。(腾讯科技审校/金鹿)

加载中...