新浪财经

官方玩梗最致命 拼多多申请“拼夕夕”商标

东方财富网

关注

原标题:官方玩梗最致命 拼多多申请“拼夕夕”商标 来源:东方财富网

原标题:官方玩梗最致命 拼多多申请“拼夕夕”商标

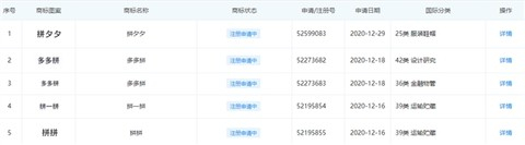
企查查APP显示,近日,拼多多关联公司上海寻梦信息技术有限公司新增“拼夕夕”商标申请信息,国际分类为25类“服装鞋帽”,商标状态为“注册申请中”。

拼夕夕,原来是拼多多“黑称”,最初拼多多不少商品审批不严,导致出现了不少山寨货、残次品,网友以此来调侃。

加上部分平台不允许“拼多多”三个字的出现,也间接导致了这一词汇的流行,大家一看就秒懂。

其实,拼多多早在2018年和2020年都曾申请注册过多个“拼夕夕”的商标。

此次,拼多多官方申请“拼夕夕”商标,网友的第一反应也是震惊,纷纷表示:拼夕夕实锤了

笔者猜测,拼多多申请“拼夕夕”商标,应该是出于防御性商标保护,防止别人抢注对自己品牌造成负面影响和损失。

如今拼多多可谓如日中天,“百亿补贴”让很多人直呼真香,随之而来的,拼多多市值也创出历史新高,日前总市值近2300亿美元,甚至超过京东+百度之和。

拼多多创始人黄峥总身家业来到了660亿美元,进一步拉开与马云、马化腾的差距,稳坐中国第二富豪,仅次于农夫山泉创始人钟睒睒。

加载中...