iPhone 14见!苹果想给iPhone加个潜望式镜头,涨粉“杀手锏”来了?
前瞻网
原标题:iPhone 14见!苹果想给iPhone加个潜望式镜头,涨粉“杀手锏”来了? 来源:前瞻网
前不久iPhone 12系列发布,果粉们都在拿到手之后迎来了各种期待和“意料之外”的功能配置。事实上,每年各大厂新品拍照方面的提升,都是网友们颇为关注的焦点——于是在发布结束后,苹果在超长焦镜头上始终兵马未动的姿态,直接沦为了一个槽点。
不过,据韩媒DigiTimes等报道,苹果已经在考虑为未来的iPhone开发独特的“潜望式镜头”,从而强化iPhone的光学变焦功能。
可以预见的是,如果后续的iPhone产品能够搭载潜望式变焦镜头,那么将带来比现在更高的变焦倍数和焦距。
那目前的状况是怎么样的呢?
以当前的技术而言,潜望式镜头的确是手机长焦拍摄的最佳解决方案。
2014年,苹果就已经申请了与潜望镜镜头技术有关的专利。但据报道称,由于竞争对手三星拥有几项重要的潜望式镜头专利,苹果在开发自己的潜望相机系统时就遇到了瓶颈。
据悉,2019年,三星收购了以色列的Corephotonics公司,从而获得了这些专利。在其所有的知识产权中,Corephotoinics公司拥有一项专利,该专利覆盖了一种据称对潜望式镜头开发至关重要的“球型致动器”技术。
(Corephotonics潜望式镜头的立体演示图)
由于拥有这些专利,三星成为了开发潜望式镜头的少数几家公司之一,并在其Galaxy S20 Ultra上使用了这项技术,它搭载了108MP的后置主摄和100倍数字变焦的潜望式变焦镜头。
而恰恰iPhone的变焦能力一直被视为其拍照的一大短板,屡屡被大众诟病。比如,DXOMark就在iPhone 12 Pro Max评测中一针见血地挑明:这款新机拍照最薄弱的环节就在于:远摄功能不足。
如今,在无法设计出自己的潜望式镜头这一困局下,不少行业人士预测——苹果可能会寻求直接从三星购买这种相机技术。
不过,一些业内人士认为,这样的交易不太可能发生。三星可能会拒绝向苹果提供Periscope相机,以保持其Galaxy系列智能手机的竞争优势。
因此,苹果还可能会找到另一种方法来实现未来iPhone的光学变焦目标。正如一些分析师指出的那样,这可能意味着要与其他公司合作。如果真的是这样的话,可能这个功能推出还得再等好一阵子。
更值得注意的或许还有一点:天风国际分析师郭明錤曾发布报告称,iPhone可能会在2020年使用特殊的潜望镜相机镜头,可以提供比目前iPhone上更好的光学变焦性能,并表示两家镜头供应商Semco和舜宇光学将分别在2020下半年和2021年进入苹果镜头供应链。
无论如何,种种迹象表明:苹果对潜望式镜头这一块显然是很在意的,而且未来iPhone搭载这一拍照配置,也是顺理成章的事。
潜望式镜头是什么?为何如此受欢迎?
潜望镜镜片,顾名思义,就是用镜子在很小的体积内实现更高的光学变焦。而潜望式镜头是一种像潜望镜一样折射光线的相机,其最特别之处在于:镜头和传感器水平放置而不是垂直放置。
潜望式镜头能够提供高倍率的光学变焦,而不影响智能手机的厚度。简单来说,就是帮你实现“将超长镜头塞进薄薄的手机里”。
潜望式镜头会自动折叠成一个紧凑和坚固的存储包装。镜头和快门连接到镜头板上,镜头板通过一个不透光的折叠风箱连接到相机的机身上。当相机完全展开时,它提供了正确的对焦距离。潜望式镜头的主要优点是,当相机折叠存储时,其物理尺寸与胶片尺寸的比例达到极佳。
光学变焦是由镜头和图像传感器之间的距离决定的。更长的焦距可以实现更高的放大率的光学变焦。
然而,由于相机模块的厚度不利于智能手机的设计,目前的相机模块结构通常会将传感器和图像传感器垂直堆叠在一起,因此增加光学变焦的放大率就会面临限制。
这就是为什么摄像头在智能手机中如此“脱颖而出”的原因。
像潜望镜一样的折叠相机结构已经成为一种替代方法。
它不是将传感器和图像传感器垂直叠加,而是通过棱镜折射光线,并将镜头和图像传感器水平放置。这种结构已经开始受到工业界的青睐,因为它解决了摄像头模组凸起的问题,并有助于增加光学变焦的放大倍率。
从苹果申请的专利来看,潜望式镜头通过反射手机内部的镜面光线,然后通过另一个更小的镜头,这个镜头可以移动到离传感器更近或更远的地方,从而放大光线,从而实现更大的光学变焦。
苹果公司多年来都被传出过要搭载潜望式镜头。在2015年,它获得了“镜像倾斜驱动”(Mirror Tilt Actuation)的专利,装配包括一个折叠的光学装置、进入镜头的光线和镜子组装等等。
2016年的一项专利描述了一种折叠长焦相机镜头系统,该系统包括多个具有折射率的镜头和镜面形式的光路折叠元件。
(苹果潜望式镜头专利图)
去年,美国专利商标局授予了苹果两项潜望式镜头专利。第一项专利是“五种折叠式镜片系统”(folded lens system with five refractive lenses),第二项专利是“三种折叠式镜片”(three refractive lenses)。
目前,苹果的高端iPhone 11 Pro和Pro Max机型都配备了可实现2倍变焦的长焦镜头,但潜望镜镜头的变焦能力显然会更强。
潜望式镜头的“前世今生”
潜望式镜头相机的名字来源于船上或潜艇上使用的同名仪器,它可以让用户看到海平面以上的物体,或者视线以外的任何东西。潜望镜已经在坦克或潜艇等装甲车上使用了几十年。它本质上是使用镜子或棱镜的组合来“掰弯”光线。
(潜望式镜头原理图,图源:Wikipedia)
智能手机制造商也采用了同样的概念来制造用于相机的潜望镜模块,以增强相机的变焦范围。
初期我们见到的不少拍照手机,镜头体从主要组件突出,也可以在需要时伸出。这样做也推进了镜头和内部阵列,形成了光学变焦。
当然,如今轻薄时尚的智能手机是不会让这样粗糙的操作继续存在的——它们根本不可能让相机占据这么大的空间。传感器和镜头之间需要有更大的间隙,来垂直移动并创造光学变焦范围,这在智能手机的狭窄空间似乎难以发挥用途。
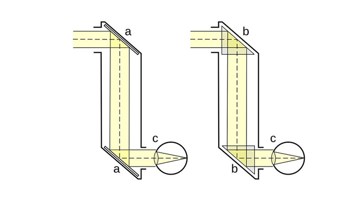
然而,使用潜望镜结构可以让设计师以这样的方式安排镜头和传感器,镜头元素有更多的空间移动,从而大大扩展光学变焦范围。这是通过使用l形隧道实现的:顶部有一个矩形开口用于收集光线,然后光线落在棱镜上。棱镜使光线以90度弯曲,然后光线通过镜头元素,然后落在传感器上,在那里就可以对图像进行处理。
较长的隧道增加了镜头元件和传感器之间的间隙,使镜头的动态范围更高,这直接意味着更高的变焦输出。当用户在取景器中调整变焦级别时,内部镜头元素会远离传感器,以提供必要的变焦效果。
另外,与提供2倍或3倍光学变焦的标准远距相机不同,潜望镜相机通常通过使用多个镜头和相机传感器提供5倍或10倍变焦。潜望镜的作用是在不大幅增加智能手机厚度的情况下,帮助适应镜头阵列。
要理解潜望镜在摄像头模块中的作用,可以用不同的X、Y和Z坐标表示轴来可视化智能手机的三维布局。智能手机屏幕平放在YZ平面上,而厚度可以沿X轴测量。传统的相机传感器和附加镜头也在YZ平面,垂直于Z轴。
(图源:xda-developers)
然而,在潜望镜装置的情况下,传感器和镜头位于XZ平面上,与Y轴相交成直角。最后,在相机传感器的对面放着一个棱镜,它改变光线的方向,与传感器垂直。直角棱镜的使用,也解释了为什么潜望镜相机会采用正方形或长方形裁剪,而不是传统的圆形。
光线通过潜望镜相机的矩形开口进入,以直角折射,然后通过镜头到达传感器。为确保用5倍或10倍放大镜拍摄的图像清晰,潜望镜远距照相机配备了自动对焦支持,其中镜头向前或向后移动以对焦传感器上远处的物体。
此外,在5倍或更高的变焦,甚至细微的震动都被放大。为了避免这种急剧又夸张的变化,潜望镜相机是建立了OIS或光学稳定,通常在棱镜部分。这意味着棱镜可以根据重力变化在多个轴上自由移动——因此,可以适应任何突然的颠簸运动。
通过设置镜头和直角棱镜垂直于相机的开口,智能手机制造商可以节省大量的空间。这就避免了配备潜望镜远摄相机的智能手机的镜头厚度,远远超出其他相机的镜头厚度这样的“翻车”窘况。
我们在照相机中看到的潜望镜还有另一个有趣而又相当普遍的用途:让用户更好地窥视微观世界。你可以使用潜望镜相机捕捉微距镜头,即使不太接近一个物体。如果你热衷于捕捉昆虫或小型爬行动物,这一点尤其有用。
各大厂商纷纷入局,iPhone拍照还香吗?
全球只有少数公司已经商业化潜望式镜头相机。其中包括为Galaxy S20 Ultra model提供潜望式镜头的三星机电(Samsung electro mechanics),以及中国的Sunny光学技术(Sunny Optical Technology)。
也正是因为三星电子拥有与潜望式镜头相关的关键专利,一些人提出了苹果与三星电子或三星机电合作的可能性。不过前面已经提到,这种概率或许并不大。三星要是哪天真的成为了苹果相机供应链管理(SCM)的一部分,带来的潜在影响将是巨大的。
苹果目前接收的相机模块则主要来自LG Innotek、Sharp和O-Film等公司。LG Innotek是主要的合作伙伴,因为它负责相机模块的最大数量的供应。
华为P30 Pro是第一款配备了5倍潜望镜变焦的商用设备;随后不久,OPPO Reno 10倍变焦版也推出了。
去年夏天,三星电子也开始生产这些潜望镜相机模块,但他们花了一段时间才获得大量订单。
在华为P30 Pro发布很久之后,Vivo的X30 Pro(仅限于中国)一度成为“最新的带潜镜摄像头的手机”,但很快被三星Galaxy S20 Ultra取代。Galaxy S20 Ultra于2020年2月发布,也成为第一款支持100X混合变焦的智能手机。
三星Galaxy S20 Ultra的变焦功能称为“空间变焦”,可以实现100倍的数码变焦。潜望镜镜头本身使用了一个折叠的4倍长焦镜头和一个4800万像素的传感器,可以在4倍和10倍变焦之间切换。
(图源:三星展示视频截图)
小米发布的第一款带有潜望镜变焦模块的手机是小米10青春版。接着,Realme的旗舰杀手——Realme X3 SuperZoom问世了。最近新增的两款产品是三星和Vivo的最新旗舰产品——三星Galaxy Note 20 Ultra 5G和Vivo X50 Pro。
虽然华为P40 Pro和P40 Pro+都配备了潜望镜变焦相机,但Plus版本上的潜望镜相机具有10倍光学变焦功能,而普通Pro则只有5倍光学变焦功能。除了10倍光学变焦潜望镜外,华为P40 Pro+还配备了另一个3倍光学变焦的长焦相机。
华为Mate 40 Pro和Mate 40 Pro+配备了专用的潜望镜摄像头,具有5倍和10倍光学变焦功能。和P40 Pro+一样,Mate 40 Pro+也有一个二级远摄相机。保时捷版华为Mate 40 Pro RS跟随Mate 40 Pro+,配备了一个10倍的潜望镜和一个3倍的远摄相机。
(图源:华为展示视频截图)
据说OPPO也计划推出一款10倍光学变焦的智能手机,将搭载160mm潜望式镜头,支持6倍光学变焦。如下:
(图源:GSMArena)
(图源:OPPO展示视频截图)
潜望镜相机的未来
在相机分辨率方面,潜望镜相机背后的技术正在以相对缓慢的速度发展。尽管它同时吸引了消费者和制造商,但它并不像超高速充电或不断增长的显示器刷新率等其他技术那样受欢迎。
潜望式摄像头其实也有自己的“阿喀琉斯之踵”。除了可能会让智能手机背部设计变凸变丑之外,在一些暗光、光线复杂的环境下,光学变焦功能难以激活,而潜望式镜头也可能无法开启。
潜望式镜头内的棱镜,可能会大大地影响光线摄入量,同时非常考验镜头的防抖性能。光线强度被棱镜折射后,会出现一定程度的衰减。这也就意味着——潜望式镜头比普通镜头对传感器尺寸的要求更高。
像OPPO这样的智能手机品牌一直在努力解决潜望镜相机的局限性,同时各大厂都在镜头硬件、软件算法、像素硬件等方面不断追求水平上的差异化。
据调研机构Sigmaintell乐观估计,潜望式摄像头出货量2020年增长六倍以上达到1亿颗,2023年有望突破4亿颗。
未来,苹果iPhone的潜望镜镜头一旦横空出世,必将成为主流厂商中的“拍照黑马”。