新浪财经

关于比亚迪的“刀片电池”,这是我们所知道的一切

新浪财经

关注

原标题:关于比亚迪的“刀片电池”,这是我们所知道的一切

编者按:本文来自微信公众号“极客汽车”(ID:GeekCar),作者James杨建文,36氪经授权发布。

最近,比亚迪成为了舆论的焦点,理由来自三件事:

1. 在前两天的百人会上,比亚迪董事长王传福透露一些关于‘刀片电池’的信息:‘将于今年 3 月在重庆工厂首次量产,新推出的“刀片电池”体积比能量密度相比传统铁电池提升了 50%,具有高安全、长寿命等特点,整车寿命可达百万公里以上。“刀片电池”搭载的第一款车型将是比亚迪“汉”,这款车将于今年 6 月上市,续航 600 公里。’

2. 同样是在百人会上,比亚迪国际合作事业部总经理舒酉星透露:这款‘刀片电池’,比亚迪拥有 300 多项‘核心技术’。

3. 随后几天,由于刀片电池的消息的利好,比亚迪股票大涨。

为什么这个电池技术这么受关注?其实归根结底还是因为电池在一台纯电动车中的‘份量’很重。这个份量不只是说重量,还有成本。电池成本占到了整车成本的 1/3-1/2。这也是为什么 EV 没有大规模普及开来的原因之一——整车成本难以大幅降低,导致售价偏高,自然无法与传统燃油车抗衡。

而刀片电池这个技术,在比亚迪看来有可能大规模降低电池成本,这对他们来说无疑是一个巨大利好,也可以在一定程度上提升产品竞争力。比亚迪股票的大涨,或许也是因为资本市场看到了刀片电池技术背后的这些潜在‘价值’。

那么问题来了,刀片电池技术真的那么强吗?它的性能到底如何?在这篇文章里,我们基于目前掌握的信息,对‘刀片电池’技术做一些解读。

‘刀片电池’是什么?

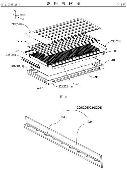
比亚迪的‘刀片电池’技术,可以在国家专利局找到如下的专利申请:

比亚迪的这个电池专利是一种针对电池包设计的专利。在这个电池包中,创新的采用了长单体电池的设计,将多个长单体电池集合成电池阵列,从而提高电池包的容量,与此同时,单体电池有其特定尺寸,通过电池本身来提高电池包整体的刚度。

具体来说,比亚迪对电池单体进行改进,因为电池单体样子很像刀片,所以取名‘刀片电池’,可以使得电池包内布置更多电池单体。同时,因为减少了电池包中横梁或纵梁的使用,甚至可以不使用横梁或纵梁,从而提高了电池包的空间利用率,进而提高整个电池包的容量、电压以及续航能力。

具体效果如何?比亚迪在其专利中举了一个例子:在电动车中,此设计可以将空间利用率由原先的 40%左右,提高到 60%以上甚至更高,比如 80%。

同时,因为更少的横梁和纵梁使用,也让电池组的制作工艺得到简化,单体电池的组装复杂度降低,生产成本降低;另一方面,也能在一定程度上给电池组减重。用上这种电池组的电动车,理论上来说可以实现轻量化和续航能力的提升。此外,因为单体电池为硬壳(铝壳或钢壳)且尺寸很长,直接通过单体电池本身便可代替加强结构来保证电池组的结构强度,确保电池组在外力作用下不易发生形变。

此前,我们的动力电池包封装分为三大块:电池单体-电池模组-电池 Pack。即:将单体电池封装成电池模组,然后将电池模组封装为电池 Pack,也就是我们常说的‘电池组’。按照之前欧阳明高给出的解释,比亚迪的‘刀片电池’其实是将中间环节去掉,直接将电池单体组装为电池组。‘车有多宽,电池就能做到多宽,以前的电池很短,但是现在的长条就像一个刀片,但是高度还是那么高,冷却风道、防爆阀等配置放在两侧,然后长块电池一片一片叠起来,叠起来刚度、强度还非常好,还可以做结构件,这是很重要的创新。电池单体制造成本还将进一步下降。’欧阳明高对于这一技术很是赞许。

对于磷酸铁锂电池来说,看的不是重量比能量,而是体积比能量。体积比能量偏小,是因为其材料压实密闭小,比亚迪的刀片电池就能很好的解决这个问题。根据相关人士透露的消息:‘ 新型电池体积比能量密度提升 50%左右,成本估计能下降 20%-30%’。王传福说‘刀片电池’首先会在比亚迪‘汉’上搭载,续航里程 600 公里(应该是 NEDC 工况)。这样来看,这个刀片电池技术确实有料。

以上,就是我们所了解的‘刀片电池’的全部内容。

为什么比亚迪用回铁电池?

比亚迪的刀片电池,将会用回磷酸铁锂电芯。

这是为什么?

目前乘用车动力电池使用锂离子电池的主要有两种:一种是磷酸铁锂电池,一种是三元锂电池。在补贴政策的推动下,目前主流厂商使用的都是三元锂电池。磷酸铁锂电池的优点在于循环次数多,安全性高,比较稳定;缺点是电池比能量低,这也是为什么后续大家转了三元锂电池路线,因为三元锂电池的比能量高,更容易满足国家补贴政策。补贴退坡,会让政策因素对电池技术发展路线的影响越来越小。

补贴退坡后,如何选择合适的电池技术路线?比亚迪给出了自己的答案:‘重操旧业(用回磷酸铁锂电池)’是他们考虑的方向。

另外,虽然磷酸铁锂电池能量密度比较低,但是铁电池的比能量天花板很低,很容易进入一个瓶颈,这个也和现阶段锂离子电池材料体系有关系。此时要做一个平衡:安全 or 成本。如果想要增加单体比能量,那么电池安全性无法保证(会发生自燃等情况),需要再加很多东西(比如电池管理系统)保持电池的一致性,这些都是成本。

欧阳明高说,2019 年中国动力电池成本已经做到 0.6 元-1 元/Wh,其中,磷酸铁锂电池可以到 0.6 元/Wh,也就是说,磷酸铁锂电池的成本可以做到 100 美元/kWh 以下,而这个目标值,在很多人看来正是电动车能否和燃油车抗衡的分水岭。这肯定也是比亚迪想要用回磷酸铁锂电池的原因之一;此外,相比于三元锂电池,比亚迪在磷酸铁锂电池领域的积累要更深厚一点,所以从这一点进行技术突破,也在情理之中。

总的来看,比亚迪的‘刀片电池’并不是一种电芯本身技术上的革新,更多的是针对电池包进行的一种创新。比亚迪官方披露的信息也印证了这一点,同时官方表示,电芯本身也会有一定的改进:‘刀片电池的能量密度提升不仅来自电芯的尺寸和 pack 的优化,更有电芯及内部的设计及生产工艺的革新。’

To be Continue……

但是事情并没有结束,关于刀片电池还是有不少问题:它在电芯方面的具体有哪些改进?最终性能表现(比如放电能力、衰减情况)如何?还有最重要的一点,对于比亚迪本身开放的电池业务来说,又会有怎样的影响?

今年 3 月,‘刀片电池’会在比亚迪的重庆工厂实现首次量产,届时,真相将会大白。

责任编辑:梁斌 SF055

加载中...