新浪财经

万达突发!王健林再度转让旗下资产

21世纪经济报道

关注

王健林再度转让旗下资产

7月初,又有两座万达广场被卖了。据公开资料,自2023年至今已有27家相关公司被转让。

在今年4月,北京万达总部大楼也被卖了。什么信号?

退出!又卖了

7月1日,烟台芝罘万达广场有限公司发生工商变更,原全资股东大连万达商业管理集团股份有限公司退出。新增股东包括坤华股权投资合伙企业与坤元辰兴投资管理咨询有限公司,分别持有约99.99%和0.01%的股份。此次变更同时涉及多位主要人员。

此前,烟台芝罘万达广场有限公司的注册资本已由5000万人民币增至7.08亿人民币。2014年11月21日,烟台芝罘万达广场开业,成为万达商管旗下第103座万达广场。

万达商管官网显示,自转型商业中心建设运营以来,万达集团建设运营万达广场从第1座到第100座用了15年,从第100座到第300座用了5年。

7月2日,宜春万达广场投资有限公司也在近日发生多项工商变更,原全资股东大连万达商业管理集团股份有限公司退出。

多个万达广场发生股权变更引发市场关注。据统计,烟台芝罘万达成为万达自2023年至今转让的第27家公司。此前,万达已转让旗下多地万达广场关联公司的股权。

今年以来,上海金山万达广场、广州萝岗万达广场、湖州万达广场、太仓万达广场等多个万达广场股权在去年完成变更。还有厦门殿前万达广场、呼和浩特万达广场、海口万达广场、福州白湖亭万达广场、合肥万达广场等接连发生工商变更。

北京万达总部大楼也被卖

据天眼查,今年4月万达集团总部所在地,位于北京大望路的北京万达广场也被出售。

2019年,王健林曾表示万达商业是万达的核心,什么企业都可以放,唯独万达商业不能放。

谁在接盘?

万达开启“卖卖卖”模式,接盘的是谁?据不完全统计,万达出售的资产,多数引入保险公司作为新的股东,包括新华保险阳光保险、大家保险等。

就比如此次接手烟台芝罘万达广场的是新华保险、中金资本。

股权穿透图显示,坤华(天津)股权投资合伙企业(有限合伙)由新华保险、中金资本运营有限公司分别持股99.99%、0.01%,坤元辰兴(厦门)投资管理咨询有限公司2位自然人股东也在中金相关公司任职。

此前,坤华投资、坤元辰兴一同受让了北京万达广场实业有限公司,受到外界关注。

天眼查显示,2024年4月9日,北京万达的全资股东万达商管退出,新增股东坤华投资、坤元辰兴。

在5月底接盘了合肥万达广场的苏州联商壹号,其间接控股股东为丽水联融壹号股权投资合伙企业(有限合伙),最终控股股东系阳光人寿,后者系阳光保险的控股子公司。

去年12月,苏州联商壹号还相继接盘了位于太仓、湖州、上海、广州的多家万达广场。

公开资料显示,去年5月底,大家保险将万达旗下上海松江万达广场、西宁海湖万达广场和江门台山万达广场三个购物中心间接收入囊中;10月份,又拿下了上海周浦万达广场。

卖卖卖或将持续

万达的“卖卖卖”似乎并没有停止,资产出售或将持续。除了上述万达广场,万达还将旗下电影、酒店业务摆上了货架。

2023年12月26日,万达集团出售上海万达瑞华酒店资产。此前,万达电影也发生了重大股权变更,腾讯旗下的上海儒意投资管理有限公司实现对北京万达投资有限公司的全资控股,成为万达电影的第一大股东。

万达为何持续“卖卖卖”?这与其资金链紧张不无关系。

据21世纪经济报道此前报道,2023年11月10日,珠海万达商管第五次更新招股书,更新了部分财务数据。

根据招股书,2020年至2022年,珠海万达商管的收入分别为人民币171.95亿元、234.81亿元及271.18亿元;净利润分别为11.12亿万元、35.12亿元及75.33亿元。

2023年12月28日,据港交所披露的信息,珠海万达商业管理集团股份有限公司的招股书再度失效。由于冲击港股IPO迟迟未能成功,为缓解对赌压力,万达选择出售其在全国范围内的部分资产以换取流动资金。

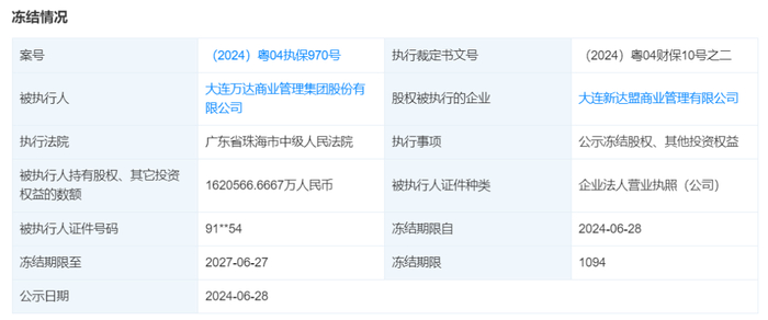
获600亿输血后,162亿元股权被冻结

据21世纪经济报道记者此前消息,2024年3月底,大连万达商管与太盟投资集团、阿布扎比投资局、穆巴达拉投资公司、中信资本、ARES等投资方正式签约,资方联合向大连新达盟投资约600亿元。

不过,天眼查显示,6月28日,大连万达商管所持有的大连新达盟(大连新达盟商业管理有限公司)162亿元全部股权再次被冻结。冻结期限至2027年6月27日,执行法院为广东省珠海市中级人民法院。

除了大连新达盟以外,大连万达商管所持的大连万耀企业管理有限公司、大连万智企业管理有限公司、大连万跃企业管理有限公司股权也被冻结。

王健林父子重回富豪榜前十

上个月,王健林、王思聪父子以1408亿元的总身家,重回富豪榜前十,一度引发广泛关注。

据新财富500创富榜最新榜单,王健林、王思聪父子由于拥有大连万达商管集团46%股权,以1408亿元资产重回前十。

2023年,王健林陆续出让了万达电影、珠海万达商管的控制权以回笼现金。目前,其仍掌握着大连万达商管集团46%的股权,后者2023年正常发债,按3000亿元净资产测算,加上持有的万达电影股份,王健林父子总身家达1408亿元,重新跻身创富榜第九名,2023年排在第25位。

虽然王健林父子重回富豪榜,但万达系并未能完全度过危机。

来源:21世纪经济报道(张敏)、天眼查、万达商管官网、中国基金报、大皖新闻

加载中...