新浪财经

卖空比例高达100%!京东系两大港股上市公司遭遇做空

市场资讯 2024.01.09 13:57

财联社1月9日讯(编辑 胡家荣)自港股今日开市以来,三大指数的走势并不理想。不过部分港股科技股的卖空比例却居高不下。

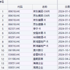
注:2024年1月以来的卖空数据

从年初港股的卖空数据来看,京东集团-SWR(89618.HK)、京东健康-R(86618.HK)、李宁-R(82331.HK)、安踏体育-R、华润啤酒-R(80291.HK)的卖空比例居高不下。

其中在1月3日到8日期间,京东健康-SWR的卖空股份占总成交量100%。同期的京东集团-SWR也是如此。而根据京东集团-SW(09618.HK)在1月3日到8日期间的卖空比例维持在21%-25%区间。

事实上,京东集团-SWR并非市场所常见的京东集团的股票,而是人民币股票。

什么是人民币股票?

根据中金此前的研报,该模式是整个港币-人民币双柜台交易流程、庄家活动及结算模式的统称。双柜台模式下,合资格证券同时拥有港币和人民币两个交易柜台,投资者可以分别以港币和人民币两个币种进行买卖和结算。

两个柜台下的证券属于同一类别证券,因此两个柜台的证券可以在不改变实益拥有权的情况下相互转换,并且设有双柜台庄家机制解决流动性及双柜台间价差问题。此外,双柜台证券的人民币柜台同时也被纳入可进行卖空的制定证券名单及市场波动调节机制证券名单。

港币-人民币双柜台表现慢热

引发部分人民币股票卖空比例居高不下,或许与其交易不活跃有关。根据此前报道,该品种的做市商较少。根据港交所的双柜台做市商配对档案,双柜台证券的做市商数量在5家至7家不等。有11只证券无中资做市商。而在人民币柜台成交额方面,中资做市商家数多的股票明显高于家数少的股票,无中资做市商的股票则较少。

从推出时间来看,港币-人民币双柜台自2023年6月19日正式推出,至今仅过去半年。交易目前还不算不活跃。

业内人士称这一模式有助于提升人民币计价资产的交易活跃度

尽管“港币-人民币双柜台模式”并不火热。中金公司此前的研报认为,“港币-人民币双柜台模式”的推出,是香港市场发展的又一重要里程碑,也是推动人民币国际化重要一步。“双柜台模式”可以为离岸人民币提供更多资产配置选择,有助于促进人民币国际化发展。对于港股市场,中长期维度下,双柜台模式有助于改善港股流动性和成交活跃度,进一步巩固香港离岸人民币中心地位。

加载中...