新浪财经

上海瀛翊违规减持29亿背后 疑曾被列入经营异常名单

每日经济新闻

关注

原标题:上海瀛翊违规减持29亿背后:疑曾被列入经营异常名单 GP江苏瑞联副总担任药明康德旗下私募执行董事 来源:每日经济新闻

每经记者 杨建    每经编辑 吴永久    

近期超级大牛股药明康德的股东上海瀛翊违规减持公司股份28.94亿元,震惊资本市场。目前证监会也正调查此案,不过围绕此次事件的一个又一个的“谜团”仍然让不少投资者感到疑惑不已。

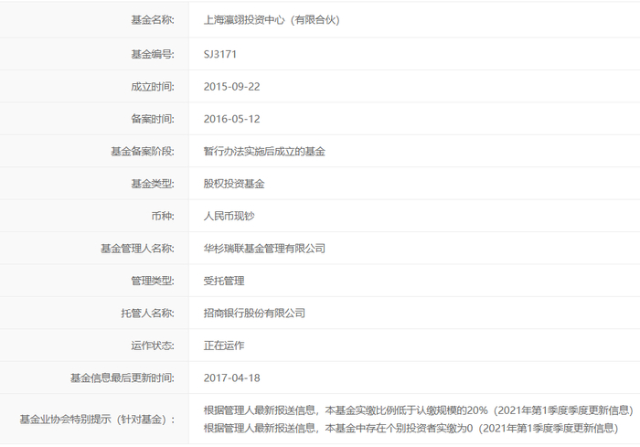
基金业协会数据显示,对于上海瀛翊投资中心(有限合伙)这只基金,根据管理人最新报送信息,“本基金实缴比例低于认缴规模的20%(2021年第1季度更新信息);根据管理人最新报送信息显示,本基金中存在个别投资者实缴为0(2021年第1季度更新信息)。”另据启信宝数据,上海瀛翊还曾因隐瞒真实情况,弄虚作假被列入经营异常名单。

上海瀛翊实缴比例低于20%,存在个别投资者实缴为0

对于违规减持药明康德的股东上海瀛翊投资中心(有限合伙),据基金业协会数据,上海瀛翊投资中心(有限合伙)成立于2015年9月22日,基金类型是股权投资基金,基金管理人是华杉瑞联基金管理有限公司。

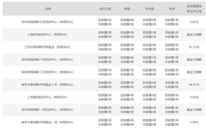
华杉瑞联基金所管理的基金

(图片来源:基金业协会网站)

目前上海瀛翊投资中心(有限合伙)的运作状态是“正在运作”,不过协会数据显示,该基金信息最后更新时间是2017年4月18日。诡异的是,《每日经济新闻》记者从基金业协会发布的特别提示(针对基金)发现,“根据管理人最新报送信息,本基金实缴比例低于认缴规模的20%(2021年第1季度更新信息);根据管理人最新报送信息显示,本基金中存在个别投资者实缴为0(2021年第1季度更新信息)。”上述这种情况可以从该基金投资者查询账号开立率为0得到一定程度的佐证。

(图片来源:基金业协会网站)

那么到底什么是投资者查询账号开立率呢?所谓的投资者查询账号开立率,就是已开立查询账号的投资者数量/投资者总数。投资者查询账号开立率为0也就说明没有投资者登陆过查询账户。

上海瀛翊投资中心(有限合伙)的基金管理人是华杉瑞联基金管理有限公司,不过从华杉瑞联基金管理有限公司管理的其它产品的投资者查询账号开立率来看,比如说旗下的江苏华泰瑞联并购基金(有限合伙)的投资者查询账号开立率为83.33%,南京华泰瑞联并购基金三号(有限合伙)的投资者查询账号开立率为66.67%。

据基金业协会数据,华杉瑞联基金管理有限公司登记备案时间是在2014年5月20日,机构类型是私募股权、创业投资基金管理人,管理规模区间100亿元以上。

(图片来源:基金业协会网站)

上海瀛翊曾疑因隐瞒真实情况被列入经营异常名单

目前,不少投资者对药明康德在公告中表示上海瀛翊此次违规减持只是因为缺乏“意识”的说法感到不解。无论是从上海瀛翊的第一大LP泰康保险集团来看,还是从基金管理人华杉瑞联基金管理有限公司来看,其均有着深厚的金融背景,尤其是有着券商从业背景,不可能不知道违规减持的问题。

那么此次引发了一场轩然大波的上海瀛翊的出资人有哪些呢?据启信宝数据,上海瀛翊投资中心(有限合伙)的出资人名单中,泰康保险集团出资2.78亿元,出资占比55.64%;江苏华泰瑞联并购基金(有限合伙)出资7729万元,出资占比为15.46%;江苏雅文商贸有限公司出资3555万,出资占比为7.11%;嘉兴丹青投资合伙企业(有限合伙)出资3555万,出资占比7.11%;中卫成长(上海)创业投资合伙企业(有限合伙)出资3545万,占比7.09%。其中泰康保险集团是上海瀛翊最大的LP。

据药明康德发布的有关公告,上海瀛翊的GP为江苏瑞联投资基金管理有限公司。此前,药明康德发布的招股说明书也显示,上海瀛翊和泰康集团的关联关系为:泰康集团作为上海瀛翊的有限合伙人持有其55.64%的份额。

值得注意的是,据启信宝数据,在2020年9月7日,上海瀛翊投资中心(有限合伙)就被列入经营异常名单,列入的原因是公示企业信息隐瞒真实情况,弄虚作假。不过上海瀛翊投资中心(有限合伙)在2021年1月6日被移除经营异常名单。那么在2020年9月7日,上海瀛翊投资中心(有限合伙)到底因何种原因被列入经营异常名单的呢?也是此次未解谜团之一。

江苏瑞联投资基金副总岳大洲担任药明康德设立的苏州药明汇聚私募基金执行董事

上海瀛翊投资中心(有限合伙)的执行事务合伙人是江苏瑞联投资基金管理有限公司。基金业协会数据显示,江苏瑞联投资基金管理有限公司的副总经理是岳大洲。据启信宝数据,在2020年4月29日,华泰瑞联基金管理有限公司进行了名称变更,基金名称变为华杉瑞联基金管理有限公司。华杉瑞联基金管理有限公司则持有江苏瑞联投资基金管理有限公司100%的股权。

(图片来源:启信宝)

基金业协会显示,江苏瑞联投资基金管理有限公司成立于2015年7月22日,机构类型私募股权、创业投资基金管理人。

那么岳大洲又和药明康德有着怎样的关系呢?2021年3月9日,药明康德发布《关于参与设立基金管理公司及基金普通合伙人暨关联交易的公告》,全资子公司无锡药明康德投资发展有限公司与 MeadowSpring、晨壹投资有限公司、苏州民营资本投资控股有限公司共同出资设立苏州药明汇聚私募基金管理有限公司,注册资本为人民币1亿元。其中药明投资拟认缴出资4500万元,占45%的股权;MeadowSpring拟出资2500万元,占比25%;晨壹投资拟出资2000万元,占20%的股权;苏州民营资本投资则出资1000万元,占10%的股权。

此次药明康德的并购基金出资方可谓阵容豪华,其中晨壹投资的法定代表人就是“并购女王”刘晓丹,她在2019年离开华泰联合证券,创立私募机构晨壹基金管理(北京)有限公司,引起市场轰动。

值得注意的是,江苏瑞联投资基金管理有限公司的副总经理岳大洲从2021年3月至今,担任苏州药明汇聚私募基金管理有限公司投资部执行董事,而这个苏州药明汇聚私募基金就是药明康德参与设立的私募基金。

从岳大洲的履历来看,2009年7月至2014年5月期间,其在华泰联合证券并购与私募融资总部担任业务董事。2014年5月至2020年5月,其在华杉瑞联基金管理有限公司投资部担任执行董事。2020年6月至2021年3月,其在药明汇英投资管理(苏州)有限公司投资部担任执行董事。2021年3月至今,岳大洲在苏州药明汇聚私募基金管理有限公司投资部担任执行董事。

新证券法背景下,巨额违规减持该怎么罚?怎么赔?

药明康德股东上海瀛翊因未履行承诺违规减持引发了市场高度关注。监管层方面无论是证监会还是上交所对这一行为均采取了相关措施,日前证监会更是向上海瀛翊发了调查通知书。

对于上海瀛翊违规减持药明康德28.94亿元,有私募人士表示,对于这种金额巨大的违规减持行为,可以用一个道歉就完事的话,那么新证券法岂不是个摆设?

既然是违规减持,就应该按照证券法的规定进行处罚,那么上海瀛翊到底会受到怎样的处罚呢?

北京安博(上海)律师事务所程金海律师告诉《每日经济新闻》记者,“根据新《证券法》第一百八十六条,在限制转让期内转让证券,或者转让股票不符合法律、行政法规和国务院证券监督管理机构规定的,责令改正,给予警告,没收违法所得,并处以买卖证券等值以下的罚款。从减持金额来看,如果违法减持成立的话,可以处买卖股票等值以下罚款;同时,上海瀛翊未及时披露相关信息,构成虚假陈述,在证监会做出处罚决定后,投资者可以向法院起诉索赔。”

封面图片来源:摄图网

加载中...