新浪财经

一天申请177个商标!"池底捞"、"海底捡"…都是海底捞的?半年裁员上万人

券商中国

关注

原标题:一天申请177个商标!"池底捞"、"海底捡"…都是海底捞的?半年裁员上万人 来源:券商中国

来源:券商中国

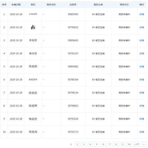
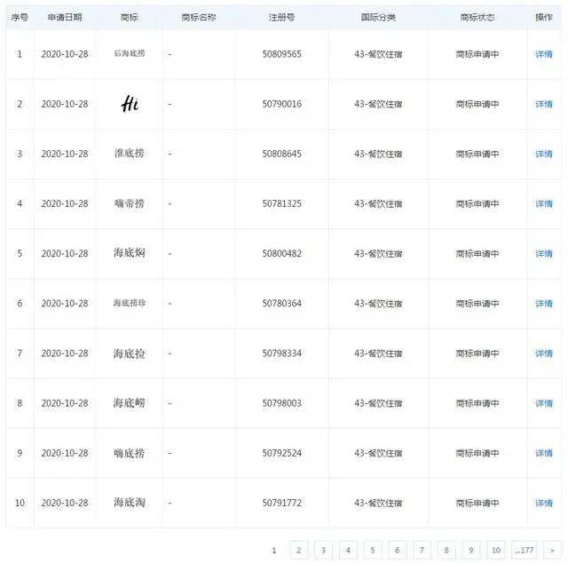
天眼查APP数据显示,近日,四川海底捞餐饮股份有限公司(海底捞)新增多条商标信息,申请日期为2020年10月28日,共计177条,包括「上海底捞」「黑海捞」「海底唠」「池底捞」「渠底捞」「清底捞」「海底捡」「三每底手劳」等,商标状态均为「商标申请中」。

此外,在10月27日,海底捞还一口气申请了近90个商标,包括「小嗨妹妹」「乖小嗨」「小嗨家」等。

海底捞是一家以经营川味火锅为主的餐饮民营企业,成立于2001年4月,注册资本12500万人民币,创始人张勇任董事长,国籍为新加坡。2020年4月6日,张勇、舒萍夫妇以1150亿元人民币财富名列《胡润全球百强企业家》第62位。

曾状告「河底捞」商标侵权败诉

因为商标,海底捞此前和「河底捞」对簿公堂,但以败诉告终。

今年8月12日,长沙市天心区人民法院公布了一起商标侵权案例,长沙一家湘菜馆因招牌中有「河底捞」三字,被海底捞告上法庭,理由是商标侵权。

海底捞认为,河底捞餐馆使用的「河底捞」标识与公司核准注册的「海底捞」商标为近似商标,河底捞餐馆在其经营场所使用「河底捞」商标,属于饭店服务业中典型的商标使用行为,构成在相同服务上使用近似商标,侵犯了原告海底捞公司的「海底捞」商标专用权。

不过,长沙市天心区法院审理认为,「河底捞」标识与「海底捞」商标虽都有「底捞」二字,但海底捞其注册商标「海底捞」为方正华隶字体,「河底捞」标识则是艺术字构成,并且「河」字三点水部分则是呈现河流的艺术形态,「底」字其下面的点则是用艺术形态的鱼的图像构成。读音方面「河」字与「海」字,无论是按照普通话读法,还是按照湖南本地方言读法,均无任何相似性。

河底捞餐馆店铺牌匾与海底捞火锅店铺牌匾在构图、颜色等方面没有相似性,且其整体结构、立体形状、颜色组合均无相似性。故被告河底捞餐馆不构成对原告海底捞公司的注册商标「海底捞」的商标权的侵犯。

网友热议:还有好多「捞」呢

海底捞上半年亏损近10亿元,减员上万人,创始人套现……

8月25日,海底捞公布的2020年半年财报中显示,海底捞的业绩从截至2019年上半年的人民币11,694.6百万元下降到2020年同期的人民币9,760.6百万元,下降了16.5%。亏损了9.65亿元,而去年同期的盈利为9.12亿元,同比下降205.7%。

据悉,受疫情影响,海底捞1月26日起关闭了大陆地区所有门店,3月12日才逐步开放营业。海底捞董事长张勇此前在做客高瓴创始人张磊的直播间时,曾回顾自己在疫情期间「受伤最严重,九死一生」、「门店疫情期间天天不营业,工资又得发,那还得公司来掏啊。」

海底捞员工数量的变化也引人注意。

海底捞中报显示,截至2020年6月30日,公司共有92179名员工,其中85261名工作于中国大陆,6918名工作于港澳台及海外地区。

而据其2019年年报,截至报告期末,公司共有员工102793名,中国大陆地区95334名,港澳台地区1984名,海外员工5475名。

也就是说,从总数上来看,2020年上半年海底捞减少了10614名员工,其中中国大陆地区减少10073名员工。

「九死一生」之际,海底捞得到了中信银行的授信支持。

今年2月,中信银行方面主动和海底捞取得联系,启动防疫情紧急授信流程,三天完成授信审批,合计为海底捞提供21亿元授信额度,第一笔8.1亿元放款资金于2月19日到账。

另外,海底捞在半年报中表示,已就疫情收取政府补助及资助,并从若干出租人获得租金减免,帮助公司克服疫情造成的负面影响。

然而不久后,张勇就因大手笔套现,引起外界关注。

海底捞上市之前,张勇夫妇已加入新加坡国籍,上市后张勇一跃成为2019年新加坡首富。今年8月福布斯发布的新加坡富豪榜上,张勇夫妇以190亿美元身家蝉联榜首。

5月7日,海底捞公告称,张勇夫妇配售4700万股股份,相当于套现15.6亿元港币。配售完成后,公司控股股东、实际控制人仍为张勇夫妇。至于套现用途,海底捞回应称,是用于股东个人在公益上的安排。实际上,在套现做公益的同时,张勇也将退休计划提上日程。

4月27日,海底捞通过公司内部邮件宣布全面启动接班人计划。张勇在声明中称,除施永宏、苟轶群、杨小丽以外的所有员工都有机会参与,并表示自己将在十至十五年后退休。

编辑/Jeffy

加载中...