新浪财经

LCD屏下指纹识别来了 小米又要“吃螃蟹”

中国家电网

关注

原标题:LCD屏下指纹识别来了 小米又要“吃螃蟹” 来源:中国家电网

原标题:LCD屏下指纹识别来了 小米又要“吃螃蟹”

屏下指纹解锁是什么?这原是当年手机行业“全面屏”风潮前期的终极难题,因为在当时手机普遍还是采用Home键指纹解锁方案,这个大胆想法的提出在当时显得颇为“科幻”,时过境迁,经历了几代解锁方案的演变,如今看来,屏下指纹已几乎成为了当下旗舰手机的标配,当然,“固执”的苹果除外。

3月9日,Redmi红米总经理卢伟冰在微博上发布了一则重磅消息,即Redmi的研发团队已经在LCD屏幕上实现了屏下指纹解锁,并号称具备可量产性,同时还配有演示视频,这似乎表明了Redmi下一代中低端机型会铁定搭载这项技术,因为熟悉小米营销套路的朋友们都知道,一旦做什么新技术的微博预热,那么基本这项技术就会铁定搭载了。

直到这时候,或许各位才会恍然大悟,原来目前市面上虽然搭载屏下指纹解锁的手机众多,但无论是不足千元的荣耀20青春版还是刚刚发布的售价逼近7000元的OPPO Find X2 Pro,无一例外采用的都是AMOLED屏,因为按理说千元机为了压缩成本肯定会选择LCD屏,为什么非要采用AMOLED屏,很明显,就是因为LCD做不了屏下指纹。问题来了,为什么LCD屏做不了屏下指纹?

首先我们先来了解下目前手机指纹解锁的三种主流方案,即电容式指纹识别、光学式屏幕指纹识别和超声波式指纹识别,通过下图可以清楚的知道三者的工作原理和优缺点,

电容式指纹识别

电容式指纹识别技术我们应该都不陌生,全面屏手机时代之前,几乎所有的手机指纹识别技术都是电容式指纹识别,比如之前的老旗舰iPhone8和三星S9,都是采用的电容式指纹识别。电容式指纹识别技术应用发展多年,无论是识别速度还是准确性都很高,可以说已经相当成熟。

不过电容识别不能湿手解锁,以及无法隔着电场情况复杂的屏幕实现屏下指纹识别。想要将电容式指纹识别转移到屏下有着不小的困难,因为其穿透能力太差让它在全面屏时代显得格格不入。

光学指纹识别

光学识别的应用很普遍,比如日常上下班的打卡机或门禁等,都是光学指纹识别技术,其原理是利用了光的折射和反射。当手指按压屏幕时,OLED屏幕发出光线将手指区域照亮,照亮指纹的反射光线透过屏幕像素的间隙返回到紧贴于屏下的传感器上。获取的指纹图像与手机初次录入的图像进行对比,最后进行识别判断,光学屏下指纹识别可以有效的避免环境光的干扰,在复杂环境下的稳定性表现更好。

最初应用光学指纹识别的手机品牌是Vivo, 从2018年1月,第一款量产屏幕指纹技术的手机——  vivo X20 Plus屏幕指纹版发布,之后针对用户体验,光学屏下指纹技术不断改进,获得了长足发展,截止目前在电商上我们能搜索到上百款搭载屏下光学指纹识别技术的手机。

其实从这一点上我们就能搞清楚为什么LCD屏幕无法做屏下指纹了,可以看下图,从LCD屏幕和OLED屏幕的构造中,由于LCD屏幕无法自发光,需要背光模组来提供背光,这就形成了天然的屏障,无法实现光信号的接收,所以LCD屏幕要想做屏下指纹就需要另辟蹊径。

直接在屏幕下方放置光学传感器肯定是行不通的,而OLED屏幕拥有的自发光、可弯曲,厚度薄等特性,是光学指纹识别得以实现的物理基础,这也解释清楚了为什么目前搭载光学指纹技术的手机都是采用的OLED屏。

超声波指纹识别

超声波具有穿透性,指纹模组发出的特定频率的超声波扫描手指,利用指纹的不同对超声波反射的不同,能够建立3D图像,类似于声呐的原理。

目前在研发超声波指纹识别的巨头就是高通,其将超声波指纹识别命名为Sense ID,它对手指表面的清洁程度没有太多要求。而且不用对屏幕面板进行开孔,无需按压、可以实现湿手解锁。但目前应用该技术的手机厂商并不是很多,三星去年的旗舰机Galaxys S10是最初应用超声波指纹识别技术的手机,今年的S20系列也延续搭载了此项技术。

三星S20继续搭载超声波指纹识别

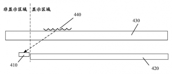
了解了三大指纹识别技术,我们也从中知道了为啥LCD做不了指纹识别,但能否另辟蹊径来实现呢?一如上文说到,背光模组的存在阻碍了光信号的传播,但是光既有直射,也有反射和折射,所以目前研发出LCD屏下指纹技术的面板厂几乎都采用了“光折射”这一原理。目前笔者找到的最早资料是汇顶科技在18年10月15日申请的一项名为“屏下指纹识别装置和电子设备”的发明专利。

从图中可以看出,屏下指纹识别装置应用于具有背光模组420和液晶面板430的电子设备中,背光模组位于液晶面板的下方。液晶面板包括显示区域和非显示区域,液晶面板的显示区域上设置有指纹探测区域440。

其中,屏下指纹识别装置可以包括指纹传感器410。该指纹传感器用于设置在液晶面板的非显示器区域的下方,并接收背光模组发出的经指纹探测区域上方的手指反射回来的光信号,并根据接收的光信号生成手指的指纹信息。指纹传感器位于液晶面板的下方,即指纹传感器位于玻璃盖板的下方。

由于指纹传感器位于液晶面板的下方,而不是背光模组的下方,指纹传感器接收的手指反射回来的光信号不需要经过背光模组,因此,指纹传感能够接收到手指反射回来的光信号进行指纹识别。此外,指纹传感器设置在液晶面板非显示区域的下方,也不会影响屏幕的显示效果。

当然这是一个实现区域屏幕指纹识别的方案,全屏解锁方案中,友达光电于参加美国DisplayWeek 2019时,展出了全球首款全屏幕光学内嵌式指纹扫描LTPS显示屏,不过专家表示,其成本可能会限制全屏幕光学内嵌式指纹扫描LTPS显示屏的普及速度。目前各整机厂商均对此表示兴趣,但是无法接受如此大幅度的成本增加。

可能的改善方向是将sensor重新放置在Array一侧,重走ITP发展之路,目前包括深天马、友达、阜时科技、汇顶科技、京东方等均在2019年陆续发布了屏下指纹解决方案,从上游来看,这项技术已没有太多技术难题。

上文我们提到的Redmi采用的屏下指纹方案,据悉就是采用的深天马的屏下指纹解决方案。小米应该是第一个站出来说宣布要做LCD屏下指纹手机的终端厂商,小米又要做第一个“吃螃蟹”的人,而且可以预见这项技术未来将会应用到整个小米的中低端手机上,那么大家有没有必要为这样一项新技术买单呢?

综上我们也介绍了好多面板厂都已经有了这项技术的方案,所以实现起来已经不是事儿了,无非是成本和量产性,但笔者看来,说到底这并不算是一种技术创新。因为这本就是是液晶面板厂为了解决LCD面板销路问题,以及厂商为了打出低端手机差异化,双方强行推进的TO B行为,其实从这可以看出,包括之前电视产品搭载的叠屏技术在内,都是面板厂和品牌方所主导的技术转型。

为什么呢,归根接地还是为了打开销路,大家都知道目前的液晶面板行业一直供过于求,但是无论是之前的叠屏技术还是如今的LCD屏下指纹技术,都显得进步有限,有强造噱头之嫌。

如今OLED面板需求量激增,高端旗舰的电视或者手机也都一窝蜂的导向OLED,所以厂家的策略就是,OLED能做的,如果LCD也能做到,就可以多一些噱头去做产品差异化和高溢价,所以技术研发就这么提上日程了。

最后,未来出现这类产品,值不值得买的问题,笔者认为参与这项技术研发的上游厂商这么多,激烈的竞争下必然会导致解决方案的价格下降,目前可以说半屏指纹解锁的方案到终端的话不会导致增加很多成本,所以不用担心未来搭载LCD屏下指纹技术的手机价格会因此上涨很多。

在解锁速度方面,应该也是和OLED屏下指纹差不多的,因为都是光学指纹识别原理。LCD若真想做出差异化,全屏幕LCD指纹解锁是弯道超车的方法,但是上文也说了,目前限于成本,量产可能性不大。

所以,如果有一天真的推出了LCD屏下指纹手机,建议可以先去体验下LCD屏下指纹解锁速度,价格的话肯定要比OLED同类产品便宜才能说有一定性价比,另外就是合理看待屏下指纹的重要性,比如坚持了三年的苹果Face ID,目前依旧没有透露出会使用屏下指纹识别技术的消息,当然不排除已经和高通和解的苹果,未来会否倒向超声波指纹识别方案。

总之目前来看,屏下指纹识别依旧是手机迈向终极全面屏的关键一步,且技术竞赛仍将长期存在。

加载中...