新浪财经

传明年 iPhone 附赠 AirPods/微信回应发原图泄露位置/小米 9 官网下架

爱范儿

关注

原标题:传明年 iPhone 附赠 AirPods/微信回应发原图泄露位置/小米 9 官网下架 来源:爱范儿

明年 iPhone 或与 AirPods 捆绑销售

图片来自:Hypebeast

据台湾杂志 DigiTimes 报道,苹果正在考虑在 2020 年将 AirPods 与新款 iPhone 捆绑在一起销售。该报告援引不愿透露姓名的业内人士消息称:「包括苹果,三星和小米在内的智能手机厂商都希望明年将其全新机型与自家的 TWS 耳塞捆绑在一起进行销售。」TWS 也就是真无线立体声耳机,包括 AirPods 和三星的 Galaxy Buds 之类的耳机。

不过,此消息的真实性让人存疑,一方面,DigiTimes 过往有关苹果的爆料都不是很靠谱。另一方面,AirPods 的售价近一千元人民币,现在赠送的 EarPods 官网售价只有 223 元,制作成本可能几乎可以忽略不计。即便苹果要将 AirPods 作为 iPhone 的随机配件,估计也不会维持原价格水平,毕竟苹果从去年开始连耳机插孔转换器都不再随机赠送。

MacRumors 也认为尽管传闻的可信度不高,即使传闻属实,AirPods 也只会出现在高端机型中,或许未来苹果真的会在新 iPhone 中附赠 AirPods,但我们不太可能在明年看到。

微信回应发原图或泄露位置信息

昨天,「微信发原图或泄露位置信息」在网上被热议,微信方面回应称,任何智能手机拍摄的照片都含有 Exif 参数,可以调用 GPS 数据,在照片中记录下位置、时间等信息。无论用微信、短信、邮件或是其他传输工具发送原图,都会将附带信息一并发送。不过,朋友圈发送的照片都经过系统自动压缩,不带位置等信息。微信方面提示,「实在担心的话,可以避免发原图,或者关闭定位。还有一招绝杀,P 完图再发」。

除了关闭定位等,用户还可通过关闭「附近的人」功能、关闭「允许陌生人查看照片」功能、开启「加我为好友时需要验证」功能等,减少微信带来的不必要的打扰。你还设置了哪些隐私功能?

小米 9 官网下架

新浪科技消息,今年年初,小米官方宣布发布最后一款性价比手机 —— 小米 9,一段时间,这部手机广受好评,并且一度形成一机难求的盛况,也被称作骁龙 855 标杆级别产品。不过这款产品已经正式在小米官网下架,官网已经无法搜索到小米 9 这款设备。

据悉,距离小米 9 今年 2 月份发布至今,仅仅过去了 9 个月左右的时间,可以说这是小米史上最短命的旗舰机了。它的下架,也代表着小米的高性价比时代结束,正式冲击高端产品之路。

用 Apple Pay 刷上海公交:今天刷,明天返

昨天,苹果官方宣布,从 12 月 1 日至 12 月 31 日,用 Apple Pay 刷上海交通卡,可参与「今天刷,明天返」活动,最高一共可以返 30 元,每天最高返 3 元,20 元开卡同时支持退服务费。

用户报名后的 30 天内,当日在公交、地铁和轮渡场景通过 Apple Pay 使用上海交通卡消费,即可次日起在上海交通卡 app 钱包内累计获赠不超过 3 元的优惠权益,每个用户整个活动期内累计最高 30 元,优惠权益可用于为卡片充值。

现在办手机号要全面实施人像比对

图片来自:Unsplash

据工信部印发的《关于进一步做好电话用户实名登记管理有关工作的通知》,12 月 1 日起,电信企业在实体渠道全面实施人像比对技术措施,人像比对一致后方可办理入网手续。电信企业自 12 月 1 日起通过自有营业厅向用户提供查询名下手机号码的服务,对用户提出存在异议的手机号码应立即组织核查和处理,切实维护群众合法权益。

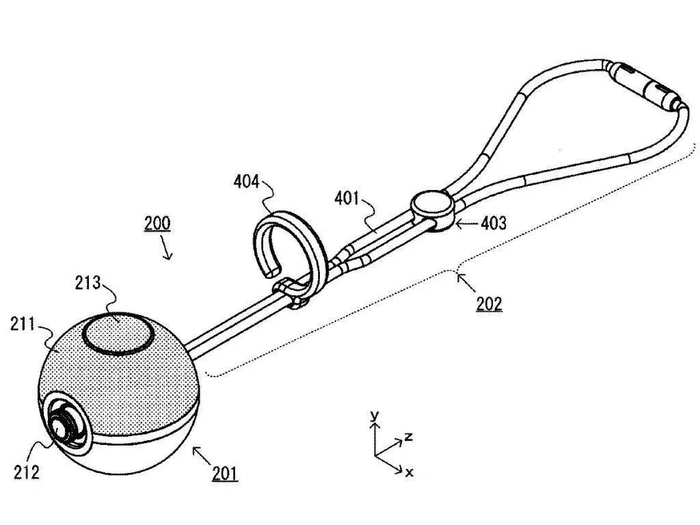
任天堂在日本新注册精灵球 Plus 五项专利

3DMGame 消息,任天堂在日本申请了五项和精灵球 Plus 相关的专利,精灵球 Plus 可与游戏《宝可梦 剑/盾》《精灵宝可梦 Let's Go 皮卡丘 / 伊布》和《宝可梦 GO》配合使用,能发光、震动和发出声音,并计算玩家的步数等。

从描述上来看,基本上任天堂注册这些专利是为了防止山寨品的出现,也有可能意味着在未来更多的利用该控制器。最后,通过解剖图我们可以发现精灵球里面是装不下精灵的。

微博新增用户锁定功能,可自主临时隐藏已发布内容

近日,微博新增用户锁定功能。目前,该功能还在内部测试中,后续会逐步开放。用户锁定功能是用户自主临时隐藏已发布内容,停止接收互动信息的操作。

账号锁定后,用户的所有微博将对其他人不可见,个人主页将隐藏已发布内容。用户仍可浏览微博,收发私信,参与群聊,但通知功能和关注、转发、评论、赞等互动操作将被停用。7 天后用户锁定结束,账号状态恢复。另外也可进入隐私设置页面随时恢复账号。

盒马首个购物中心盒马里开业

腾讯新闻消息,盒马首个数字化购物中心盒马里・岁宝购物中心前天正式开业。据了解,新的盒马里不再局限于生鲜,目标是购物中心的线上线下统一体验:消费者既可以在购物中心内购买,也可以打开盒马 app,找到对应的商品和服务,在线下单。

盒马鲜生总裁侯毅表示,目前盒马有将近 200 家店,都需要用盒马里去赋能,只要模式能走成功,就会变成近 200 个,以后变更多个。

美国「黑五」消费创纪录

TechCrunch 消息,今年的黑色星期五创下 74 亿美元的销售额,不仅成为黑色星期五有史以来销售额最高的一天,还仅次于去年「网购星期一(Cyber Monday)」 的 79 亿美元,成为有史以来在线收入第二高的一天。另外,消费者的平均订单价值为 168 美元,同比增长近 6%,也创下了黑色星期五的新纪录。

电影《阿凡达 2》已完成真人拍摄:2021 年上映

前天,《阿凡达》官推及 Jon Landau 制片人披露了该片的最新动向。据悉,目前剧组已经完成在新西兰的真人拍摄,2019 年工作结束,明年 2 月将继续投入拍摄工作。

据悉,《阿凡达 2:水之道》和《阿凡达 3:带种者》(暂定名)分别定于 2021 年 12 月 17 日、2023 年 12 月 22 日上映。《阿凡达》续集中,第 2、3 部一起拍,拍完后统一进行后期制作,随后第 4、5 部再一起拍。阵容方面,《阿凡达》续集仍由詹姆斯・卡梅隆执导,萨姆・沃辛顿、佐伊・索尔达娜、西格妮・韦弗等演员回归。

越来越多银行家爱做「生活方式农民」

据统计,美国 41% 的小型农场都是由本职不是农民的人经营的。其中,华尔街的银行家们占了不少,他们都是「生活方式农民」。

在华尔街打拼多年的 Jon McConaughy 的「务农」爱好就发展成了他的副业。他在 2004 年的时候出于爱好设立了一个农场 Double Brook ,主要是养殖动物和种植物给自己家里的人吃。

虽然大部分「生活方式式农民」都不是为了盈利而参与到农业,但很多时候都会在不经意间带来收入。

McConaughy 现在将这个农场扩大至数百英亩,衍生出一个独立的肉店、面包店、零售市场、两家餐厅以及一个屠宰场,完成独立的闭环。

在我们心底还是会有一种渴求,能够在一天结束的时候,能数到摸到我们自己的劳动成果。

虽然现在仍任职于金融业,但他认为这个工作没法提供务农带来的满足感。不过,也有银行家真的是为了爱好投钱来做这个事情。

Chris Andersen 是一家投资公司的负责人,他有一次在西班牙吃上了一种非常美味的火腿,但由于没法将能做这类火腿的猪带回美国,他开启了自己的周末农场,亲自选购和养殖猪。

经过一番折腾,他挑了一种来自匈牙利的猪种。他称其为「带腿的牛油果」,因为这种猪肉所蕴含的大部分都是不饱和脂肪。从 2008 年开始,他实验了多种喂养配方,从进口栗子面粉到羊奶他都实验过,现在终于找到一种他满意的。他的农场每年大概得花七位数的支出,直到最近为止才开始收支平衡。

当一名农民比大部分人想象中更复杂。

对于部分人来说,「务农」是一种放松方式。

务农非常放松,就跟冥想和瑜伽一样。它让人内心平静,感到满足,投入其中让人感觉很好。

Lee Montgomery 说道。他的正职主要是帮购物中心管理基金,每到下班,最喜欢就是沉浸于自己的八英亩的葡萄园中,大量行走也是很好的运动。

除了爱好等因素,另一点建立农场的好处在于,这也是一种很常见的避税方式。在美国,将所拥有土地用于农业用途,可享受一定缴税优惠。

新西兰培育放屁少的羊

图片来自:Unsplash

《卫报》12 月 1 日报道,为应对气候变化,减少温室气体排放,新西兰畜牧业宣布全球首个基因项目,将培育甲烷排放量较低的绵羊,以减少温室气体排放。新西兰人均拥有六只羊,畜牧业占该国温室气体排放总量三分之一。

网友:「羊:你白天薅羊毛,晚上织毛衣,还不让我放屁?」「管放屁会不会管得有点宽,还不如多种树,定闹钟偷能量」「说真的,不是这条新闻,我还不知道羊会放屁」。

1991 年 12 月 2 日,苹果电脑公司发布了第一个 QuickTime 版本。

作为 System 7(BigBang,macOS 7)的多媒体附加功能,Bruce Leak 在 1991 年 5 月的 WWDC 上做了 QuickTime 的首次公开展示,在 Mac 上播放了苹果的经典广告片《1984》,惊艳全场。而微软公司针对性的竞品 Video for Windows 在 1992 年 11 月才亮相。QuickTime 包括影片工具箱、图像压缩两个管理器,加上一些苹果提供的 QuickTime 内嵌组件。而且,用户可以安装插件来获得更多功能。1998 年 2 月 11 日,国际标准组织 (ISO) 认可 QuickTime 档案格式作为 MPEG-4 标准的基础。对于 Mac 用户来说,QuickTime Player 一直都是系统默认的多媒体工具,而苹果在 1994 年 11 月也推出了 QuickTime 2.0 for Windows 版本,最终因播放器漏洞问题在 2016 年停止对所有 Windows 系统的支持。

可能我们现在会认为 Google 和 Oculus 乃至是 VR 领域的领跑者,但实际上苹果在 1995 年 WWDC 上就推出过首款 VR 产品:QuickTime Virtual Reality(QuickTime VR)。但由于技术所限,那时候的 QuickTime VR 所提供的更像是全景图片或 Google 街景这一类体验,因此其在苹果后来的产品开发里并没有得到重视,并逐渐淡出人们的视野。

喜欢这篇文章就点这里

加载中...