新浪财经 股票

合作多年一朝反目,信达证券被起诉

市场资讯 04.14 20:52

  来源:行家券业

合作多年一朝反目,信达证券被起诉

在月前爆出“猥亵+刑拘”事件的信达证券,又卷入了一场蹊跷的诉讼风波。合作多年的服务商帕米尔,将信达证券告上了法庭。

开庭公告

来自上海市高级人民法院的官网显示,上海市奉贤区人民法院预定在今年6月16日开庭审理(2026)沪0120民初1743号买卖合同纠纷案。

案件的双方,都颇有来头。

被告方信达证券,那可是是base帝都的上市券商,因中金公司出台“1+1+1”并购计划,而成为热点。

而原告方上海帕米尔信息科技有限公司(简称:帕米尔),则是一家专注于专业知识服务领域的企业。

企查查显示,帕米尔成立于2019年4月。在上海、北京、深圳和南京设有办公地点,拥有300名员工和40万余名专家资源。主要服务对象包括公募基金、银行、保险、证券、私募基金等机构客户。以“连接专业知识,使决策更明智”为使命开展经营活动,通过专家网络和研究咨询服务帮助客户进行决策。2023年被评为国家级高新技术企业;2025年获得省级专精特新中小企业和国家级科技型中小企业称号。

曾经合作

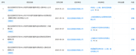
企查查收录了帕米尔44条招投标信息,其中中标信息26条。近期的合作方几乎都是知名金融机构——包括永安期货,中信保诚,国信期货,国泰海通,华源证券,浙商证券中泰证券财通证券,国开金融等。

而帕米尔与信达证券的交集,时间更早——

2020年1月,帕米尔首次作为投标方,出现在信达证券研究开发中心外部专家顾问服务采购项目入围成交供应商公示名单中。2020年8月,信达证券研究开发中心外部专家顾问服务追加采购项目竞争性磋商公告显示,帕米尔中标。2020年9月,信达证券研究开发中心外部专家顾问服务追加采购项目二次磋商,继续中标。

一年之后的2021年9月,信达证券研究开发中心2021年外部专家顾问服务补充采购项目重新采购,帕米尔参与投标,但未中标。

2024年5月,信达证券研究开发中心外部专家顾问服务项目入围中标人公示,帕米尔是11家供应商之一。但最后中标的8家名单显示,帕米尔并不在其中。其后,双方再无招投标的合作。

时隔数年,曾经的合作双方,为何会反目?

恩怨猜测

从深度绑定到对簿公堂,双方的恩怨,尚未有公开信息。我们结合行业惯例、合作周期、业务属性及案由,猜测可能的原因,或许来自服务合同欠款。

是否存在这样的情况:帕米尔为信达证券提供了专家访谈、调研咨询等服务。完成交付后,信达证券未按约定结算款项,帕米尔在最终选择起诉。

这类纠纷在券商研究所行业并非个例,背后是行业长期存在的现状。

第三方服务商普遍处于弱势地位,即便手握大量头部机构客户,面对大型券商,依旧缺乏议价权。券商内部审批层级复杂、流程繁琐,服务验收滞后、费用跨期拖欠十分常见,长期积压的欠款,会直接冲击服务商的正常现金流运转。

同时,2024年5月合作全面终止后,双方原有业务对接中断,内部沟通渠道彻底切断,历史遗留账款的对账、审批、结算全部陷入停滞。没有了日常合作的纽带,遗留问题难以协商解决,诉讼也就成了服务商无奈之下的最后选择。

除此之外,合规分歧也或是潜在导火索。现阶段监管对于券商研报信息来源、外部专家访谈的合规要求持续收紧,如若过往合作中,部分服务内容在后期合规复核中产生争议,券商或以此为由暂缓扣款、拒付尾款,进而不断激化双方矛盾。

对于帕米尔而言,如果本次纠纷真的来自信达证券的欠款,这可能是影响公司现金流的核心问题。而对于信达证券来说,舆论风波尚未平息之时,又被曾经的供应商起诉,无形中也暴露了其研究条线更多情况。

免责声明:本文内容均来自公开权威信息,仅为舆情指数评级客观呈现,不构成任何投资建议,不代表监管机构官方评价,不涉及任何产品推介。市场有风险,投资需谨慎。本文版权归账号所有,未经授权不得转载

加载中...