新浪财经 股票

谁冒充了中基协?中菊资产的大聪明

市场资讯 2025.02.05 21:07

来源:券业行家

因为一组“跨年”投诉,行家留意到“诉讼缠身”的百亿私募中菊资产,似乎还有“冒充”中基协的“嫌疑”。

后续的“爆料”

春节前夕,行家收到一则署名“中国证券投资基金业协会”的投诉(下称“协会投诉”),指责“行家揭幕”发布于2024年5月的《百亿私募危险!负债累累?》一文“侵犯版权”,原因是援引了私募机构中菊资产管理有限公司(简称:中菊资产)在中基协的备案信息。

深觉意外的行家,对“无端指控”感到莫名其妙,第一时间进行了回应。推文发布次日,因不符合法定处理条件,腾讯驳回了“协会投诉”。

然而,行家收到一则读者爆料。曾经任职于中基协的圈内读人士表示,“协会投诉”有问题,“高度怀疑”存在利用官网下载的执照“冒充”中基协的情况。

最大的“嫌疑”

一瞬间,行家恍若福尔摩斯与波洛附体,“复盘”了这起事件,果然有所发现。

首先,中基协官网公开列示了其社会团体法人登记证书(副本)扫描件,无需登录即可下载(网页链接:https://www.amac.org.cn/gyxh/xhjs/ 

其次,投诉联系人冯某某,留下的是163邮箱。而中基协邮箱后缀是@amac.org.cn,与官网后缀名一致。既然是代表官方机构,为何会用“外部”邮箱地址?

最为重要的是,各家媒体对私募机构的报道,援引中基协备案信息的情况数不胜数。为何单单投诉“行家揭幕”这一篇?这得是多大的“偏爱”啊,就这么有“选择性”?

据说,最大受益者,就是最大嫌疑人。从动机来说,还真不能排除这样的可能。

“冒充”的指责

颇为巧合的是,就在今年2月4日傍晚,“行家揭幕”“又双叒叕”收到了一则来自“中菊资产管理有限公司”的投诉,并且出现了“冒充”字样。

这一次,中菊资产及联系人“田某某”的“指责”,有些语无伦次——“冒充媒体身份私自去网上乱搬运不好的内容来进行发布对我司进行恶意攻击,对我司名誉造成极大的影响”。

“傲慢和无知”,隔着屏幕都能感觉到。百亿私募机构,有着如此认知,行家一时半刻还没缓过劲来。

行家想知道,中菊资产是否是因为不太了解自媒体时代,还是对“恶意”有什么“恶意”。

毕竟,行家只是客观公正的陈述事实,并没有“无中生有”。站在投资者角度来说,通过公开报道全面了解私募机构的种种不足,可以少踏一些“坑”。这也是媒体发挥监督作用的重要体现。

在此之前的2024年11月27日,中菊资产及联系人“赵某某”曾以“谣言误导”为由对“行家揭幕”发起投诉。

今年1月14日,中菊资产及联系人“范某某”又以“天眼查信息有误”为由发起投诉。

顺便一提,这三拨明确显示来自“中菊资产”的投诉,留下的都是qq邮箱。

boss的出手

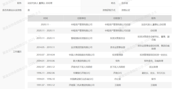
行家还发现,中菊资产的人员规模颇为可观,中基协备案的持证人员共有20名。其中唯一的田姓人士,正是法定代表人、董事长、总经理田本祯。难道说,这是公司boss亲自下场的投诉?

当然,腾讯也没有因为是百亿机构而有所偏坦。迄今为止的四次投诉,无论署名“中菊资产”还是“中基协”,无一例外,均被驳回。

要说屡败屡战,行家倒也佩服中菊资产的“勇气”。只是有这“死磕”的心态,是否需要提高接受不同意见的能力,以应对目前的“困境”。

“限高”的风险

事实上,行家最初关注到中菊资产,源起其名下的涉诉执行信息。

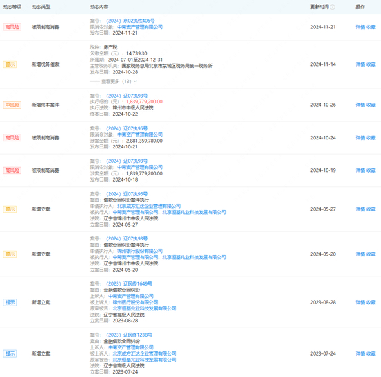
企查查显示,这家私募的“风险”提示还真不少。包括与锦州银行股份有限公司(简称:锦州银行)、北京成方汇达企业管理有限公司(简称:成方汇达)、昌图民祥村镇银行股份有限公司(简称:昌图民祥村镇银行)等机构的借款合同纠纷。还有就是2024年11月,来自北京市东城区税务部门的催缴通报。

值得注意的是,2024年11月,中菊资产及其法定代表人田本祯收到了来自北京市第二中级人民法院(简称:北京二中院)的限制消费令。原告方为兴业银行哈尔滨分行,但相关案件并没有公开信息。

而在此之前的2024年10月,中菊资产收到了来自辽宁省锦州市中级人民法院(简称:锦州中院)的“终本”和“限消”信息。原告方分别是锦州银行和成方汇达,涉案金额分别为18.40亿元和28.81亿元。

饶是百亿私募,拿出这样的巨款也不容易。这也难怪,连收三份“限高令”的中菊资产,显得“手足无措”。一方面着急上火多方斡旋,一方面忙不迭的投诉媒体。

行家倒也是出于好意,提醒包括田某某、范某某、赵某某在内的中菊资产相关人员:情绪稳定才是王道。“大聪明”等“小动作”,能少一些是一些吧。

毕竟,中基协官网就有这段表述:私募基金管理人“受人之托、代客理财”,应当立足信义义务,将投资者利益放在首位。

面对困境,行家希望中菊资产的相关人员,以诚信为本,带领公司朝着正确的方向稳步前行。而不是三天两头“投诉被驳回”,脸不疼吗?

加载中...