新浪财经 股票

豪掷重金,爱建证券搞大事

市场资讯 2024.08.06 20:43

来源:券业行家

刚完成“掌门”变更,爱建证券又有大手笔:斥资五千余万重金,进行总部大楼装修。

总部大楼的装修

浏览券商信息的行家,意外发现base魔都的爱建证券有限责任公司(简称:爱建证券),新增了一则招标公告。

这一项目名称为“爱建证券前滩总部大楼装修工程”,地址赫然写着“前滩大道199弄5号”。

查看爱建证券官网,以及中证协券商信息,行家发现公司注册地和办公地位于“世纪大道1600号1幢32楼”。

对照地图信息,两地隔着11.9公里的距离。这是否意味着,爱建证券将进行搬迁呢?

逾五千万的投入

从招标公告来看,这可是一项大工程。装修面积约12,546.27平方米,涉及多达七个楼层。投标方需要在92天的工期内完成室内装饰、装修、电气、弱电、给排水、消防、空调等在内的室内装修工程。

而本项目总投资金额5,350万元。招标设置最高限价,50205581.51元,精确到小数点后两位。

即使是头部券商,五千万的金额也不是小数目。更何况爱建证券。

最近两期年报,爱建证券的净利润均为负数:2022年亏损9,476.11万元;2023年亏损扩大,达13,738.40万元。

而本次装修的预算耗费,甚至超过了2021年净利润(6,063.78万元)的八成。

这也让行家猜测,今年以来爱建证券的业绩是否实现了“跨越式发展”。不仅填平了此前的亏损,甚至还有充裕的资金,可以轻松支付这笔预算。

大幅削减的待遇

在此之前,行家曾经注意到爱建证券的薪酬待遇情况。

2023年报披露,高管薪酬为488.01万元;较2022年的548.39万元“缩水”11%。

而员工薪酬,降幅更为明显。

“三张表”数据显示,2023年度爱建证券薪酬总额为1.37亿元,较2022年1.57亿元下降12.91%。以期末559名员工计算,2023年人均薪酬为24.53万元,同比下降11.51%。

启信宝显示,2024年内至少有4名员工与爱建证券发生劳动争议或劳动合同纠纷;自2021年以来的相关案件多达20起。考虑到爱建证券的员工基数,“讨薪”比例并不低。

刚刚更换的掌门

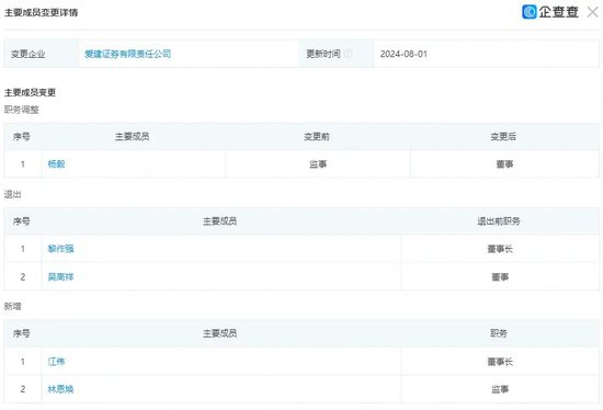
关于爱建证券,近期最大的事件是“换帅”。

今年4月22日,出身国君资管的女将江伟履新爱建证券党委书记、董事长。公开信息显示,她曾荣获“全国劳动模范”,并曾代表上海当选十九大代表。

8月1日,爱建证券完成工商变更,董事长由“黎作强”变更为“江伟”。

掌门变更以来,爱建证券多次通过官媒对外发声。

月前,证券日报专题报道了爱建证券学习贯彻党的二十届三中全会精神的心得体会。其中,“一流投资银行”目标,让行家深感敬佩。

或许,综合实力的提升,因基础较为薄弱,难以一蹴而就。爱建证券选择“勒紧裤带”,以崭新的门面,提升竞争优势。

加载中...