新浪财经 股票

Boss换了!百亿量化私募盛泉恒元,大佬“回归”还是老将“分家”?

市场资讯 2023.11.07 21:39

  来源:券业行家 

在头部量化中颇为“低调”的盛泉恒元,悄然发生了高管变动:卸任九年的法定代表人回归,接过执行董事的重担。

头部量化换帅

这段时间,行家关注的头部私募纷纷出事。抢公章、秀肌肉、对簿公堂,监管处罚……林林总总,不一而足。

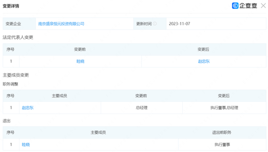
相对来说,行为低调的南京盛泉恒元投资有限公司(简称:盛泉恒元),却在不经意间更换了法定代表人兼执行董事。

据企查查信息,11月7日,眭晓先生卸任法定代表人、执行董事职务。赵忠东先生的职务由总经理变更为执行董事兼总经理,同时出任盛泉恒元法定代表人。

这并非这家私募近期首次工商变更。今年6月30日,眭(suī)晓就将盛泉恒元总经理职务交给了赵忠东。今年9月28日,由眭晓担任法定代表人的三亚分公司,也完成了简易注销。

更早之前的2014年7月,盛泉恒元法定代表人由从“赵忠东”变更为“沈捷尔”;同年12月,又从“沈捷尔”变更为“眭晓”。

历时九年,大佬回归。对这家量化私募来说,可能有特殊的意义。而卸任了总经理、执行董事、法定代表人的眭晓,又将去向何处?

执掌百亿机构

据中基协私募信息,盛泉恒元成立于2014年7月,2015年1月完成备案。现有48名全职员工,均取得基金从业资格。旗下存续产品105只,管理规模超过百亿。

在中基协备案高管列表中,赵忠东显示为实控人、总经理。

履历显示,早在上世纪八十年代,他就投身业界,主打人事工作。1992年,他加入南京金中富国际期货交易有限公司(简称:金中富),曾任日盘部主任。从1995年3月到2015年9月,他在江苏省创业投资有限公司(现为:江苏高科技投资集团有限公司,简称:江苏高投)任职长达十年,从证券部经理升至总经理。2015年11月,他担任江苏信泉创业投资管理有限公司(简称:信泉创投)副总裁职务,其后创立盛泉恒元。

顺便一提,信泉创投的总经理、法定代表人正是沈捷尔女士。兜兜转转,还是熟人。

而眭晓的履历,同样始于三十年前。彼时在金中富担任日盘经纪人的他,曾与赵忠东有过短暂共事。其后,他曾在江苏省金信证券公司、中国科技国际信托投资公司等早期的证券机构任职。自2001年起,他相继任职于广发证券南京洪武路营业部(现为南京汉中路营业部)、国信证券南京洪武路营业部,海尔纽约人寿保险公司、中宏人寿保险公司、泰康人寿保险股份有限公司等机构。

在加入盛泉恒元之前,他在由沈捷尔女士担任法定代表人的苏州盛泉百涛创业投资管理有限公司(简称:苏州盛泉百涛)担任市场部经理。

见证成长历程

自入行以来,行家见证了多家私募机构及高管人员成长。而盛泉恒元的时任boss,正是其中之一。

川谷数据显示,从2018年下半年起,盛泉恒元规模长期在10亿元以下徘徊;2019年5月首次超过20亿元;2020年7月突破50亿元,当年12月超过100亿元。2021年10月到2022年9月期间,规模达到135亿元;其后略有下降,仍在百亿阵列。

规模增长的同时,盛泉恒元的业绩表现颇为不错。

这也让行家感到疑惑,本次更换执行董事,究竟所为何事?

同为头部机构,行家想到了曾经点评过的鸣石私募。想当年,创始人袁宇因某些原因隐身幕后,由CEO李硕代持股权。共度患难之后,曾经的亲密战友,未能同享富贵不说,还闹出公开叫板的事件。经过亲切友好的磋商,袁宇“显名”,李硕“出局”。

工商变更信息显示,曾任鸣石私募法定代表人的王洋,在今年4月退出股东序列。鸣石私募对王洋等发起民间借贷纠纷诉讼,冻结总额超过680万元的财产。而在行家爆料后,鸣石私募曾表示系“误会”,并主动撤诉。

行家还注意到,曾在鸣石私募担任研发部合伙人兼CTO的陈红青,带队出走并成立南京宽辅私募基金管理合伙企业(有限合伙)(简称:宽辅私募)。企查查信息显示,上海市浦东新区人民法院(简称:浦东法院)曾宣布于今年8月开庭审理陈红青诉鸣石私募劳动争议案。由于本案的案情和进展均未见公开披露,这一诉讼是否也是“误会”,行家不得而知。

那么,在卸任盛泉恒元总经理、执行董事之后,眭晓是否也会另起门户?这中间,又是否有不足为外人道的内情呢?

未见红字提示

值得赞许的是,中基协迄今为止未收录盛泉恒元的诚信信息和提示信息。截至目前,行家也未查到与之有关的公开诉讼案件。

与此同时,多家头部机构,却因为种种情况,在中基协页面以红字提示。其中单是证券投资类的百亿私募,行家就查到六家存在诚信信息的机构。

上汽颀臻(上海)资产管理有限公司(简称:上汽颀臻),有一条信息报送异常的诚信信息,原因是未按要求按时提交经审计的年度财务报告,未按要求进行产品更新或重大事项更新累计2次及以上,所幸目前已经整改。

北京恒宇天泽基金销售有限公司(简称:恒宇天泽),虽已整改信息报送异常,却依然因异常经营而被暂停受理基金备案申请、重大事项变更申请以及相关关联方新设私募基金管理人的登记申请。

喆颢资产管理(上海)有限公司(简称:喆颢资产),诚信信息来自监管处罚。因未妥善保存投资者适当性管理方面的记录,对主要业务人员及相关团队实施过度激励,未按规定建立激励奖金递延发放机制。2022年12月,上海证监局对其采取监管警示函。

更早之前的2021年2月,因未认真履行谨慎勤勉的义务;向投资者承诺本金不受损失并承诺收益;未妥善保存私募基金业务相关资料,北京证监局对洛肯国际投资管理(北京)有限公司(简称:洛肯国际)采取责令改正的监管措施。

广州国寿城市发展产业投资咨询企业(有限合伙)(简称:广州国寿)旗下仅有一只产品。因未按要求按时提交经审计的年度财务报告(本异常机构公示情形已整改);逾期未办结信息核查事项(已整改),被列入信息报送异常。

上海映雪投资管理中心(有限合伙)(简称:映雪投资),曾在2022年9月收到上海证监局监管措施,原因是玩忽职守,不按照规定履行职责;未按照基金合同约定如实向投资者披露基金投资、基金净值等可能影响投资者合法权益的重大信息,未及时披露定期报告。

今年8月,中基协宣布取消映雪投资会员资格,予以公开谴责,暂停受理私募基金产品备案六个月。自2012年4月起担任映雪投资执行事务合伙人的郑宇,因多项违规被取消基金从业资格。合规风控负责人纪晨赟也被公开谴责。

而在映雪投资的关联方中,上海漱石投资管理事务所(有限合伙)被撤销私募管理人资格,时任合规风控负责人被公开谴责;上海执古资产管理有限公司、深圳雪杉基金管理有限公司、杭州莱茵映雪投资管理有限公司及高管人员,也相继领罚。

对量化私募来说,量化的是数据,而不是人心。如何在追求收益的同时,合规稳健经营,或许是值得深思的话题。

加载中...