新浪财经 股票

百亿启林,有什么事发生?

市场资讯 2023.09.08 21:48

  来源:券业行家 

在私募量化领域位列头部的启林投资,刚刚发生了异动:某位主要股东,撤资退出。

悄然股权变更

行家关注的百亿私募中,上海启林投资管理有限公司(简称:启林投资),新增了两则股权变更信息。

来自启信宝的信息显示,启林投资的注册资本由1217.1095万元减少到1063.2595万元,减资比例为12.6406%。

持股12.6406%的主要股东付宇鹏,退出了股东序列。而这足以解释注册资本减少的原因。

因为这位自然人股东的撤资退出,同为自然人股东的王鸿勇,持股比例从34.01%增至38.9311%;上海吉荣信息技术有限公司(简称:上海吉荣),上海芒灿信息技术有限公司(简称:上海芒灿)和上海荏远企业管理合伙企业(有限合伙)(简称:上海荏远)持股比例相应有所上升。

那么,付宇鹏是谁?为何撤资退股?这让行家颇为好奇。

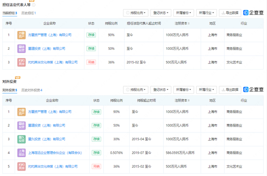
据企查查信息,付宇鹏分别持有方圜资产管理(上海)有限公司(简称:方圜资产)和圜道投资(上海)有限公司(简称:圜道投资)90%和50%的股权,并且是这两家机构的执行董事。其中,圜道投资因2020年-2022年连续三年未依照《企业信息公示暂行条例》第八条规定的期限公示年度报告,出现在经营异常名录中。

此外,付宇鹏还与汪涵、王鸿勇、沈显兵、董成共同参股了上海荏远。目前这家合伙企业未见工商信息变更。

百亿量化动向

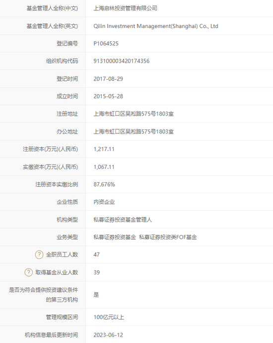
行家查看了中基协备案信息,启林投资成立于2015年5月,2017年8月备案为证券投资类私募机构。现有364只存续产品,管理规模超过百亿。

或许因为刚刚发生变更,启林投资在中基协备案的注册资本和股东信息,目前尚未更新。

另据中基协提示,今年6月6日,启林投资有“高管变更”重大事项,目前已经办理通过。然而,行家也未能从工商变更中发现线索。

启林投资在中基协备案的高管有四名,分别来自技术和投资领域。

实控人王鸿勇,担任启林投资法定代表人、总经理,此前曾在德国亥姆霍兹研究所从事激光等离子体理论模拟的博士后研究工作。

副总经理沈显兵,曾在科大讯飞等“硬核”机构担任研发相关职位。

有着投资背景的执行董事董成,在加入启林投资前,曾是圜道投资高级投资经理。

合规风控负责人李蕾女士,此前在上海璞归投资管理有限公司(简称:璞归投资)从事合规管理。顺便一提,璞归投资时任执行董事、法定代表人滕彬,曾经深度卷入了暴风集团MPS事件。据凤凰财经发布于2021年的报道称,他作为单位行贿的收受方,被“判三缓三”。

那么,启林投资近期是否有高管变动,究竟是哪位还是哪几位高管?行家未能确定更多信息。

监管红字提示

作为百亿量化私募机构,一举一动可能引发外界关注。相对来说,启林投资似乎颇为低调,行家并未查到今年以来的公开报道。

另一方面,百亿私募也频频发生“事件”。单是行家报道过的监管涉诉事项,就有锐天投资诉幻方量化“挖角”,映雪投资“失信”“限高”,中信产业基金“瞒报”高管变动,中融鼎新“倒签合同”索赔案,鸣石私募劳动争议撤诉,天演私募“抢公章”,民生财富“同室操戈”和“高管讨薪”,凌顶投资“打新被禁”,正心谷“年报非标”,茂源量化外籍“黑工”,洛肯国际合同纠纷案……

就在不久前,明汯投资因内控违规收监管处罚,中基协对迎水投资予以警告处分,均惊动了私募圈。

行家统计了现有的证券投资类百亿私募,共有110家,其中6家有诚信信息,33家有提示信息。

作为“身家清白”的私募机构,在谨言慎行,合规稳健方面,值得同行学习。

加载中...