新浪财经 股票

雪球诉雪球,券商怎么办?

市场资讯 2022.05.18 21:10

来源:券业行家

本以为“雪球诉雪球”只是个段子,没想到居然来真的,这让行家惊掉了下巴。

声明和维权

自运营自媒体平台以来,雪球的“小秘书”时常贴心的通知行家,对发布于专栏的新作“限流”。

而在“518”这个有着“财富”意味的日子里,行家又看到了“雪球”的身影。

就在刚才,行家瞥到了“雪球”通过官方微博发布的这则置顶声明。

针对任何未经授权发行以“雪球”命名的金融产品的行为,雪球义正词严的普及了《商标法》,“敦促相关各方谨慎处理,尽快更正名称中的不当用法,并澄清所造成的混淆后果”。

据新京报贝壳财经的报道,雪球公司自今年5月13日起,已向数十家用“雪球”命名旗下金融产品的机构递送了律师函。希望相关机构立即停止在金融产品名称中使用“雪球”字样,否则将依法采取升级维权措施。

隔着网络,这让行家感到一阵寒意。

要知道,初到帝都的那个冬天,行家也曾兴奋的在雪地中闹腾。时隔多年,是否有标题为雪球的旧照留在bbs中,恐怕只能翻墙查看了。

联想和推论

联想到同质化更为明显的证券行业,行家有了脑洞:如果推而广之,恐怕不止一家券商会瑟瑟发抖。

比如,曾经的“财富证券”,是否因为担心被“东方财富证券股份有限公司”投诉,而将公司名称更名为“财信证券股份有限公司”?

“东方财富证券股份有限公司”和“野村东方国际证券有限公司”,是否会因为“东方”二字,被东方证券找上门来?要不,未雨绸缪一下,分别改名为“西方财富”、“野村南方”?

因为曾是同门,券业“一哥”中信证券,是否有权要求中信建投证券改名?要不,中信建投改成当年的名号,华夏证券?正好保持中英文一致。

按这样的逻辑,行家还可以找到更多。

中国长城旗下的“长城国瑞证券有限公司”,是否侵了“长城证券股份有限公司”的权?

“中天国富证券有限公司”是否侵了中天证券的权?

还有几家有着外资基因的券商,恐怕要外交部出马了。

“东亚前海证券有限责任公司”和“汇丰前海证券有限责任公司”,究竟谁侵了谁?

“高盛高华证券有限责任公司”与曾经的中方股东“北京高华证券有限责任公司”,是否会因为“高华”而挑起争端?

诉讼和判决

另一方面,作为“雪球”的主体,成立于2010年的北京雪球信息科技有限公司(简称:雪球公司),已经有多项涉及侵权的诉讼记录。

据企查查信息,自2021年以来,雪球公司涉及“侵害作品信息网络传播权纠纷”、“侵害商标权纠纷”“网络侵权责任纠纷”“名誉权纠纷”的立案和开庭信息至少有16起,平均一个月一起。

在这些案件中,雪球公司主要是作为被告应诉。当然,行家并不知道被这些机构起诉时,雪球公司是否也收到过律师函。

目前,企查查信息收录了雪球公司的37份裁判文书,其中19份涉及“侵害作品信息网络传播权纠纷”。

其中唯一一份有明确结论的判决,来自天津中环半导体股份有限公司(简称:中环半导体)诉北京雪球信息科技有限公司网络侵权责任纠纷案。法院于2019年12月驳回了由被告雪球公司提出的管辖权纠纷。

除此之外的诉讼,几乎都是由原告撤诉,另有多份诉讼的结果,“不宜在互联网公开”。

融资和股权

同样没有公开的,还有雪球公司的业绩情况。

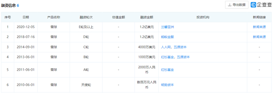
在2020年12月,雪球公司已经进行到E轮融资;而在2018年的D轮融资中,则有阿里系的蚂蚁金服参与。

虽然“创始股权”已经稀释多次,但雪球公司的股权结构,依然简洁明了。

同样简洁明了的,还有雪球公司的财报:无论是营收还是净利润,“企业选择不公示”。

一筹莫展之际,行家忽然意识到,北京雪球基金销售有限公司(简称:雪球基金)作为雪球公司旗下的独立基金销售机构,依然有不少公开信息。

规模和排名

就在不久前,中国证券投资基金业协会通过官网,公开披露了基金销售机构公募基金销售保有规模的统计数据。

2022年一季度,雪球基金权益类基金销售规模为262亿元,非货币基金销售规模为353亿元。而在2021年的四个季度,其权益类产品销售规模分别为229亿元、264亿元、289亿元和291亿元;非货币基金销售规模分别为328、378、402和397亿元。

与独立第三方基金销售机构的“顶流”相比,雪球基金的排名和实力,目前仍有一定差距。

2022年一季度,阿里系的蚂蚁(杭州)基金销售有限公司(简称:蚂蚁基金),权益类销售金额就达到6,142亿元,居于行业第二。而雪球基金的规模相当于蚂蚁基金的4.27%,在全行业排名第41位,在三方机构中排名第8。在2021年的四个季度,雪球基金权益类产品销售在全行业中分别排名第36、36、36、38位,在三方机构中分别排名第7、7、8、8位。

免责声明:本文仅供信息分享,不构成对任何人的任何投资建议。投资者据此操作,风险自担。

加载中...