新浪财经 股票

这家中药企业厉害了!手握46个中药独家品种,超10亿大品种领跑,7款新药发力

米内网

关注

精彩内容

近日,康恩贝的中药3.1类新药开心散申报上市、硫酸阿米卡星注射液过评并中标第十批集采、米诺地尔搽剂获批上市。今年以来,公司已有2款中药新药申报上市、一款中药1类新药申报IND、6款仿制药获批上市,累计有30个品种过评(3个首家)、9个品种中标国采。康恩贝坚持创新驱动,拥有46个中药独家品种,7款新药在研,13个新分类报产品种在审。

手握46个中药独家品种!超10亿大品种领跑

康恩贝成立于1969年,公司坚守以中药大健康为核心业务的产业发展战略,和以全品类中药产品为主体,以特色化学药品、特色健康消费品为两翼的“一体两翼”产品业务定位。

康恩贝中药产品已覆盖消化系统、心脑血管、呼吸系统、泌尿系统、骨骼肌肉系统、妇科、儿科等疾病领域,代表品种有肠炎宁片/颗粒、复方鱼腥草合剂、麝香通心滴丸、银杏叶片、黄莪胶囊、普乐安片等。目前,公司拥有中成药生产批件256个,其中中药独家品种有46个。

康恩贝中药独家品种情况(含独家剂型品种)

米内网数据显示,康恩贝的中药独家品种肠炎宁片2023年在中国三大终端六大市场(统计范围详见本文末)销售额超过10亿元,独家中成药麝香通心滴丸、牛黄上清胶囊及非独家中成药银杏叶片、复方鱼腥草合剂、普乐安片、肠炎宁颗粒均为过亿单品。

在肠道用药领域,康恩贝共有6款肠道中成药肠炎宁片、肠炎宁颗粒、肠舒片、肠炎宁糖浆、黄芩素胶囊、肠炎宁胶囊获批上市。凭借肠炎宁片、肠炎宁颗粒2大主力品种,康恩贝在肠道中成药市场稳居龙头地位。米内网数据显示,2024H1中国三大终端六大市场肠道中成药销售额TOP10企业中,康恩贝蝉联第一。

此外,黄蜀葵花总黄酮口腔贴片是公司首款中药1.2类新药,具有清心泄热的功效,用于心脾积热所致轻型复发性口腔溃疡,症见口腔黏膜溃疡,局部红肿、灼热疼痛等。该药于2022年12月获批上市,于2023年12月通过谈判进入国家医保药品目录,尚处于市场开拓阶段。

拿下6个重磅品种,30个品种过评

在仿制药方面,近期康恩贝的“光脚”品种硫酸阿米卡星注射液通过仿制药一致性评价并中标第十批集采,3类仿制药米诺地尔搽剂获批上市并视同过评。

硫酸阿米卡星注射液是一种氨基糖苷类抗生素,为国家医保目录甲类品种,2023年在中国城市公立医院、县级公立医院、城市社区中心以及乡镇卫生院(简称中国公立医疗机构)终端销售额超过4亿元。在第十批集采中,康恩贝的硫酸阿米卡星注射液以第一顺位中标,拟主供省 (区)为山东、河南、湖南、辽宁、黑龙江、宁夏。

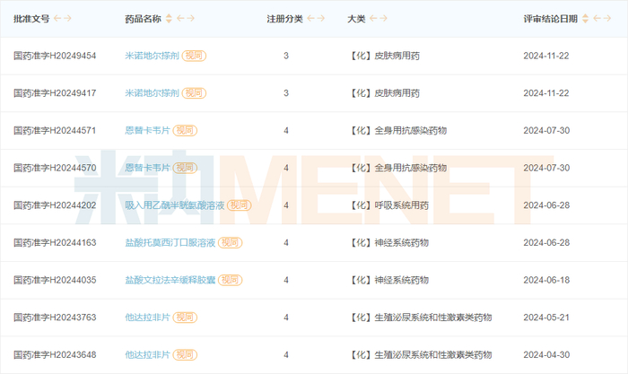
今年以来,康恩贝已有6个品种获批上市并视同过评,包括米诺地尔搽剂、恩替卡韦片、盐酸托莫西汀口服溶液、吸入用乙酰半胱氨酸溶液、盐酸文拉法辛缓释胶囊、他达拉非片,进一步丰富了公司的产品线。

2024年至今康恩贝获批产品

米内网数据显示,上述6个品种2023年在中国三大终端六大市场销售额合计超过84亿元。其中,他达拉非片销售额超过30亿元,吸入用乙酰半胱氨酸溶液销售额超过28亿元,恩替卡韦片销售额超过13亿元。

截至目前,康恩贝已有30个品种通过/视同通过一致性评价,其中3个品种泮托拉唑钠肠溶片、硫唑嘌呤片、复方磺胺甲噁唑片为首家过评。从治疗领域上看,30个品种主要集中在消化系统及代谢药(7个)、全身用抗感染药物(6个)。

康恩贝过评品种

已开展的九批化药集采中,康恩贝累计有9个品种阿莫西林胶囊、非那雄胺片、盐酸坦索罗辛缓释胶囊、泮托拉唑钠肠溶片、利伐沙班片、盐酸吡格列酮片、注射用哌拉西林钠他唑巴坦钠、乙酰半胱氨酸颗粒、硫酸阿米卡星注射液中标国家集采。

7款新药蓄力,13个新品抢攻41亿市场

近年来,康恩贝坚持研发创新驱动,扎实推进创新药研发、特色仿制药(一致性评价)、大品牌大品种产品二次开发三方面工作。公司2023年研发费用2.98亿元,同比增长52.31%;2024年前三季度研发费用2.08亿元,同比增长26.71%。

康恩贝主要在研新药

在中药新药方面,康恩贝的中药1.2类新药洋常春藤叶口服液已处于Ⅰ期临床研究阶段,用于治疗急性气管-支气管炎;中药1.2类新药ZY13片已获批临床,用于治疗湿性年龄相关性黄斑变性;中药2.1类新药清喉咽含片、中药3.1类新药开心散及苓桂术甘汤颗粒已提交上市申请,有望于2025年内获批上市。

在化药新药方面,康恩贝的化药1类新药EVT-401片(P2X7受体拮抗剂)已处于Ⅰ期临床研究阶段,用于治疗类风湿关节炎;2.2类改良型新药吸入用吡非尼酮溶液已获批临床,用于治疗特发性肺间质纤维化。

在研仿制药方面,康恩贝有己酮可可碱缓释片、布南色林片、替米沙坦氨氯地平片(Ⅱ)、培哚普利氨氯地平片(Ⅲ)、富马酸伏诺拉生片、盐酸丙卡特罗吸入溶液等13个新注册分类品种上市申请在审中,获批生产后将视同通过一致性评价。

康恩贝仿制3/4类报产在审品种

13个品种2023年在中国三大终端六大市场销售额合计超过41亿元。其中,硫酸特布他林雾化吸入用溶液、富马酸伏诺拉生片销售额均接近7亿元,艾司奥美拉唑镁肠溶胶囊、吸入用异丙托溴铵溶液销售额均超过5亿元。

资料来源:米内网数据库、公司公告

注:米内网《中国三大终端六大市场药品竞争格局》,统计范围是:城市公立医院和县级公立医院、城市社区中心和乡镇卫生院、城市实体药店和网上药店,不含民营医院、私人诊所、村卫生室,不含县乡村药店;上述销售额以产品在终端的平均零售价计算。

加载中...