新浪财经 股票

DeepMed数据库「流行病学」重磅升级,疾病领域全覆盖!(试用名额开放中)

市场资讯 2024.01.25 11:01

转自:医药魔方Plus

· 想要查肿瘤、糖尿病、心血管疾病等不同领域的流行病学数据

· 想要查中、美、欧等不同国家或地区的流行病学数据

· 想要查发病率、患病率、死亡率、生存率等指标

· 想要查疾病分期占比、分子分型占比等指标

· 想要查罕见病的流行病学数据

......

2024年伊始,医药魔方DeepMed数据库「流行病学」重磅升级!

重点一:「流行病学」成为一个独立板块

过去:如果要查询「流行病学」数据,需从「临床需求」版块进入,选择具体的疾病名称后,方可跳转至检索页。

现在:「流行病学」自立门户。

重点二:实现疾病领域全覆盖,重点覆盖中、美、全球,流病指标丰富

过去:「流行病学」以肿瘤为主。

现在:实现了疾病领域全覆盖,肿瘤领域约占20%,既包含非小细胞肺癌、乳腺癌、冠心病、II型糖尿病、阿尔兹海默病等较常见疾病,也包含血友病、多发性硬化症等罕见疾病。中国流病数据丰富,约占数据总量的50%。

流病指标包括发病患病情况(发病率、发病人数、患病率、患病人数)和生存预后情况(死亡率、死亡人数、生存率)等,后续还会增加例如确诊率、筛查率、治疗率等与患者流病调研相关的指标。

图:II型糖尿病部分数据结果,数据来源:IHME-GBD(华盛顿大学健康指标与评估研究所-全球疾病负担),点击数据来源,可直接跳转至原网站.

重点三:数据源权威,数据量显著增加

目前,「流行病学」的总数据量达到7万+,每一条数据都可以清晰溯源,一键跳转原始网站或文献链接,满足您深入学习需要。

目前,「流行病学」纳入的数据源分为项目文献两个部分。项目数据源以全球、中国及美国知名流行病学数据库或项目为主,包括:全球疾病负担(GBD)数据集,世界卫生组织(WHO)官网数据集,美国疾病控制与预防中心(CDC)数据库,SEER数据库(注:美国权威的癌症统计数据库),美国Medicare医疗保险数据库,中国最新肿瘤登记年报,中国罕见病联盟数据等。

此外,还纳入了国内外重要期刊的文献数据源,例如:中华医学会系列杂志,CA Cancer J Clin,柳叶刀(Lancet)系列杂志,新英格兰医学杂志(NEJM),Circulation等。

重点四:支持基础检索和二次检索,检索方式简单易上手

进入「流行病学」版块,首先呈现基础检索页面(下图),包含「疾病」、「流病指标」、「国家/地区」,后两者默认展示最常用的指标,其余选项可通过「其他」查找。

如果您选择了一个具体疾病,则会跳转至二次检索页面(下图),以「非小细胞肺癌」为例,二次检索项除了「流病指标」、「国家/地区」以外,还包括「数据来源」、「临床分期」、「生物标记物」、「病理」、「基线特征」。不同疾病,提供的二次检索项会有所不同。

DeepMed数据库现开放免费试用权限

应用场景举例

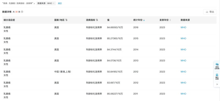
需求一:中国和美国的乳腺癌发病率各是多少?

方法:在基础检索页面,「疾病」中输入「乳腺癌」,「流病指标」中选择「发病率」,点击后进入二次检索页面(下图)

二次检索页面显示有343条结果,可以进一步选择特定的数据来源,例如:WHO。

得到30条结果(下图),按照「统计年份」排序,最新为2016年的数据,可按照「国家/地区」选择中国或美国的结果。

需求二:非小细胞肺癌(NSCLC)中ROS1阳性率有多少?

方法:在基础检索页面,「疾病」中输入「非小细胞肺癌」,点击进入二次检索页,在「生物标记物」中选择「ROS1阳性」,可得到数据结果。

「数据来源」为Mayo Clinic,可一键跳转到原始数据网站,或相应的文献链接。

此外,「流行病学」版块支持一键「导出」功能,方便用户快速下载所需要的数据。

  • DeepMed数据库是一款什么样的产品?

DeepMed数据库是一款以循证医学为核心的重磅数据库产品,以医药魔方原创AI工坊为技术基础,以疾病「细分适应症」为核心,高质量打造「临床指南」「循证数据」「流行病学」「临床需求」「联合疗法」「研究报告」大核心板块,目前已实现肿瘤核心循证信息的全面覆盖。

  • DeepMed数据库能给哪些用户带来帮助?

面向医药领域投融资机构、BD、战略/研发、立项、医药情报、NPP、市场、上市前医学、上市后医学等相关人士,满足做疾病领域需求调研、产品竞调、市场分析、临床研究总结等工作场景。

  • DeepMed数据库目前有多少数据量?

「临床指南」板块,共收纳医学全领域指南2万+,肿瘤领域指南5千+,精选深度加工指南1千+,覆盖中、美、欧、日权威指南;「循证数据」板块,共收纳循证数据量~23万,人工精标数据量1万+;「流行病学」板块共收录7万+领域数据。

加载中...