新浪财经 股票

司美格鲁肽:原辅料/制剂竞争格局

市场资讯 2023.11.05 07:30

转自:药事纵横

声明:因水平有限,错误不可避免,或有些信息非最及时,欢迎留言指出。本文仅作医疗健康相关药物介绍,非治疗方案推荐(若涉及);本文不构成任何投资建议。

司美格鲁肽注射液2型糖尿病适应症及减重适应症分别于2017年和2021年由 FDA 获批上市,商品名分别为 Ozempic及 Wegovy。从减重开始,司美格鲁肽的适应症不断拓展,此后在心脏病、中风、慢性肾病等领域适应症临床研究均传来好消息。目前司美格鲁肽治疗NASH、阿兹海默症、心衰、外周动脉疾病等适应症均已进入 3 期临床阶段,前景值得期待。

司美格鲁肽在销售额上也是一骑绝尘,美国地区司美格鲁肽注射液收入超预期,诺和诺德年内多次上调业绩指引。2023 年 11 月2 日,诺和诺德发布Q3业绩,2023年前三季度司美格鲁肽销售收入1002.22亿丹麦克朗(约为142亿美元),同比大增86%。其中注射降糖版Ozempic销售额656.53亿丹麦克朗(93.23亿美元,+58%),口服降糖版Rybelsus销售额128.4亿丹麦克朗(18.23亿美元,+82%),减重注射版Wegovy销售额收入217.29亿丹麦克朗(30.86亿美元,+492%)。

司美格鲁肽产业链也是备受关注,今天我们来梳理下原料药、辅料SNAC和制剂的市场格局情况。

司美格鲁肽原料药

(1)司美格鲁肽原料药基本情况:司美格鲁肽原料药是司美格鲁肽的功效组分,是诺和诺德公司一款新型长效胰高糖素样肽-1(GLP-1)类似物,可通过刺激胰岛素分泌和降低胰高血糖素分泌的机制来降低血糖。

(2)专利保护期情况:司美格鲁肽原料药中国的专利保护期至 2026 年 3月(2022 年 8 月 24 日已经被国家知识产权局(北京)专利复审无效部宣告无效,目前处于上诉状态)。中东/北非/南亚/拉美:无专利覆盖。在欧洲专利保护期为2026 年 3 月至 2031 年 3 月(欧盟国家存在 SPC 延期,每个国家延期的时间不太一样),在美国的专利保护期至 2031 年 12 月。在专利保护期内相关品种无法进行商业化销售,请投资者注意投资风险。

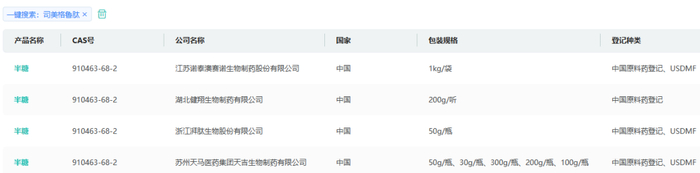
(3)司美格鲁肽原料药的竞争格局:据药融云数据库,诺泰生物、天吉生物、浙江湃肽、湖北健翔等已提交司美格鲁肽的原料药上市申请并获受理。

此外还有以下公司正处于药品上市、注册、受理阶段,包括 Novo Nordisk;江苏万邦生化医药集团有限责任公司;惠升生物制药股份有限公司;杭州中美华东制药有限公司-重庆派金生物科技有限公司;联邦生物科技(珠海横琴)有限公司;齐鲁制药有限公司;北京质肽生物医药科技有限公司;石药集团中奇制药技术(石家庄)有限公司;丽珠集团新北江制药股份有限公司;重庆宸安生物制药有限公司-上海博唯生物科技有限公司;杭州九源基因工程有限公司等。

此外已有多家上市药企对司美格鲁肽相关业务回应:

10月31日,普洛药业(00739)在投资者互动平台回应,公司的司美格鲁肽原料药已完成了技术研发,化学合成和生物法都有布局;制剂将于明年进入临床研究阶段,国内和海外市场都计划申报。司美格鲁肽的关键辅料SNAC为公司自产在研品种。目前项目按计划在推进中,关键理化指标符合品种需求;公司的司美格鲁肽是从侧链中间体、原料药到制剂的全产业链战略布局,中间体侧链主要是供给CDMO客户和产业链配套使用,原料药主要用于出口和自用,制剂则主要布局国内市场和未来的国外的仿制药市场。

10月30日,普利制药(300630)在公告称:司美格鲁肽项目于 2022 年 4 月开始立项研发为公司在研品种,该项目包括司美格鲁肽辅料 SNAC、司美格鲁肽原料药及司美格鲁肽制剂,目前研发正在按计划推进中。公司司美格鲁肽原料药目前放大生产车间正在验收,将开始研发放大生产工作(内部研发阶段)。后续仍需进行工艺验证,验证完毕后方可进行注册申报。获得注册批件后方可进行商业化销售。截止目前,该品种公司尚未进行注册申报,还未获得注册批件。辅料 SNAC 已实现了研发放大化生产(内部研发阶段),关键理化指标符合项目要求,后续还需要进行工艺验证,工艺验证完成后方可以进行注册申报,获得注册批件后方可进行商业化销售。司美格鲁肽制剂目前处于使用本公司研发生产出来的原辅料进行工艺与质量研究阶段(内部研发阶段),完成后,需进行放大批和注册批生产并考察制剂稳定性;稳定性考察期间申请临床批件,启动临床试验,临床试验完成后整理资料递交申请生产批件,批准后生产与销售。有专利限制的国家待专利到期后销售。

10月27日,爱美客(300896)回应称公司司美格鲁肽注射液项目尚在临床前在研阶段。

10月18日,泰恩康(301263)回应称GLP-1类似物司美格鲁肽原料药生产项目在积极推进中。

8月27日,翰宇药业(300199)在投资者互动平台表示,其司美格鲁肽原料药已申报美国DMF、司美格鲁肽注射剂及口服制剂美国申报正在积极筹备中、司美格鲁肽在国内申报正在按计划推进;

9月21日,圣诺生物(688117)调研纪要显示,其司美格鲁肽原料药及注射液项目目前正处于药学研究阶段,并已关注到全球范围内替尔泊肽的研发进展,根据市场及技术情况分析是否布局。

9月12日,奥锐特(605116)在投资者互动平台回复,公司下属子公司扬州奥锐特药业有限公司年产300KG司美格鲁肽原料药生产线正在建设中。8月份回应称司美格鲁肽原料药的产品中试已完成。

司美格鲁肽辅料SNAC

(1)司美格鲁肽辅料 SNAC 基本情况:辅料 SNAC 又称 N-(8-[2-羟基苯甲酰]-氨基)辛酸钠。辅料 SNAC 不具有司美格鲁肽的功效。辅料 SNAC 可以通过膜扰动、膜流化、API 溶解度变化、紧密连接开口或通过与 API 非共价结合增加疏水相互作用等过程来增强胃肠上皮细胞膜的通透性。它与多肽一起粘附在胃粘膜上,促进渗透和吸收。当司美格鲁肽片剂在胃中溶解时,辅料 SNAC 缓冲局部 pH 值,减少胃蛋白酶对司美格鲁肽的降解。辅料 SNAC 还通过改变溶液极性、削弱导致司美格鲁肽寡聚化的疏水相互作用来促进司美格鲁肽单体化。辅料 SNAC 的间接作用涉及其掺入胃细胞脂膜,使司美格鲁肽能够暂时且可逆地跨细胞通过。

(2)专利保护期情况:SNAC 化合物和晶型专利都已经失效,无专利限制。

(3)市场竞争格局:辅料 SNAC 目前国内有 8 家公司在 CDE 注册,其中六家为国内厂家,包括苏州天马医药集团天吉生物制药有限公司、湖北葛店人福药用辅料有限责任公司、合肥天瑞药物化学有限公司、成都新越医药有限公司、江苏恒瑞医药股份有限公司、江苏东南纳米材料有限公司,2 家为国外企业,包括Apothecon Pharmaceuticals Pvt. Ltd.、Finar Limited;Finar Limited。

司美格鲁肽制剂

(1)司美格鲁肽制剂基本情况:司美格鲁肽注射液和口服片剂主要用于在饮食控制和运动基础上,接受二甲双胍和/或磺脲类药物血糖不达标的成人 2 型糖尿病患者的血糖控制,及降低伴有心血管疾病的 2 型糖尿病成人患者的主要心血管不良事件(心血管死亡、非致死性心肌梗死或非致死性卒中)风险。

(2)专利保护期情况:司美格鲁肽针剂(II 型糖尿病)中国的专利保护期至 2026 年 3 月。中东/北非/南亚/拉美:无专利覆盖。在欧洲和美国专利保护期为 2033 年 6 月。司美格鲁肽口服片剂中国的专利保护期至 2033 年 3 月。中东/北非/南亚/拉美:无专利覆盖。在欧洲和美国专利保护期为 2034 年 5 月。

(3)市场竞争格局:司美格鲁肽针剂目前只有原研诺和诺德公司上市。其中华东、丽珠、正大天晴、石药集团中奇制药、惠升生物制药股份有限公司、重庆派金生物科技有限公司、重庆宸安生物制药有限公司、北京质肽生物医药科技有限公司、齐鲁制药有限公司、联邦生物科技(珠海横琴)有限公司、丽珠集团新北江制药股份有限公司、杭州九源基因工程有限公司等己拿到中国临床批件正在中国临床,还有深圳翰宇药业股份有限公司、江苏万邦生化医药集团有限责任公司华润双鹤药业股份有限公司正在 CDE 临床前申报中,除原研外尚未企业在中国&全球获批上市。片剂原研尚未在中国上市,亦无中国企业进行临床前申报。

总结

减肥药目前是一个有产业基础的主题投资。海外相关大药企如礼来、诺和诺德减肥药产品销售收入不断大涨,正在验证数百亿美元的大市场,相关公司市值大涨,业绩也不断上调,加上GLP-1药物适应症的不断拓展,给予市场很好的预期,一级市场一些减肥药的初创公司融资相对容易的多。一二级市场共振,导致整个减肥药赛道也是越来越拥挤。从产业链分解来看,司美格鲁肽从原辅料到制剂国内公司均有布局,但是未来能真正受益的是有技术沉淀、通过国内外认证多、早先布局的公司。

参考资料:

药融云数据库

普利制药公告

加载中...