新浪财经 股票

达格列净片仿制和原研的攻与防

市场资讯 2023.09.20 06:01

转自:药事纵横

达格列净片最早于201211月在欧洲批准上市,是全球首款获批上市的钠-葡萄糖转运蛋白2SGLT2)抑制剂。20173月在中国获批上市,成为了在中国上市的首个SGLT2抑制剂。达格列净片的上市许可持有人为阿斯利康(瑞典)有限公司,其在中国上市药品专利信息登记平台登记有6件专利信息,目前尚处于有效期的共5件。针对已登记尚处于有效期的专利,目前已有18家仿制药申请人就上述登记专利作出声明,共计484.2类声明和164.1类声明。此外,还有其他多家仿制药申请人提出了药品专利链接制度之外的专利无效挑战。假定每项4类声明都引发行政裁决或诉讼,则阿斯利康公司仅就达格列净1个上市药品需要应对的行政裁决、诉讼、专利无效纠纷理论上将高达上百起。可以说,达格列净是中国施行专利链接制度后目前原研药与仿制药专利战中战火最为密集的上市药品。

  • 仿制药厂家的围攻

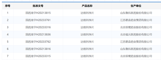
作为一款重磅明星产品,国内不乏众多仿制药企业想分得一块蛋糕,但受原研专利的掣肘,虽然有部分仿制药厂家早已拿到了批准文号,但至今无法上市销售。据NMPA网站数据库,目前国内获得批准的仿制药已达四家。

与此同时,还有众多的仿制药厂家不断加入仿制药竞争,他们采取的申报策略不尽相同。其中有的采取挑战专利的策略,有的走规避专利的策略,有的干脆声明专利权到期后再上市销售,还有的采取规避专利和同时进行专利挑战的双保险策略,一时间好不热闹。据最新数据显示加入该仿制药竞争并已提出上市申请的不低于20家药企,其中在中国上市药品专利信息登记平台发布专利声明的有18家。

尽管达格列净制剂和晶型专利已经历多次无效挑战,目前其关键的权利要求仍旧维持有效。随着今年5月份达格列净化合物专利的到期,其制剂、晶型专利继续经受着疯狂无效挑战围剿。比较典型的是四川国为和阿斯利康的专利权确权之诉,历经两审法院审查,最终二审终审裁定阿斯利康公司享有的专利号为200780024135.X的发明专利权利要求9不属于药品专利链接制度可登记的专利类型。虽然仿制药厂家取得了小胜,但这仅说明该专利不属于专利链接制度早期纠纷的解决范围,并不意味着该专利无效或其仿制药不侵犯该专利。

  • 原研厂家的严防

据中国上市药品专利信息登记平台查询到原研阿斯利康登记的公示的专利共六件,其公示时间跨度从20211229-2023217日,涵盖了化合物、组合物及医药用途,即中国《药品专利纠纷早期解决机制实施办法(试行)》规定的可登记的所有类型。其中化合物专利ZL 200910158686.6已于今年5月份到期,其余专利尚在有效期内,且保护期最早为2027621日,最迟至204141日。

从上述专利声明看,原研对核心产品和方法专利都进行了布局,且布局的很有层次,以至于核心化合物专利虽然已过期,但其他专利权尚在保护期内,仿制药厂家仍然需要规避。需要指出的是原研厂家对上市后临床研究的坚持,虽然该产品在2012年就被批准上市,但上市后原研厂家仍然在不断拓展其临床试验的治疗领域,从当初上市批准的治疗2型糖尿病,不断拓展到用于治疗成人射血分数降低型心衰和治疗慢性肾脏病的新适应症。这不仅有利于其市场的开拓,更是通过新适应症的发掘,编织了更加严密的专利保护网,延长了其专利的保护期限。

  • 仿制药申报策略探讨

原研主要登记了6件专利,其化合物专利已到期,主要还剩5件有效专利,虽然ZL200780024135.X专利(实为晶型专利)被法院终审判定不属于《药品专利纠纷早期解决机制实施办法(试行)》允许登记的专利类型,但其仍属于有效专利。ZL200880016902.7ZL201210201489.X组合物专利主要保护了采用丙二醇水合物晶型制备的制剂组合物。ZL202011290859.2专利主要保护了治疗成人射血分数降低型心衰的用途,ZL202210071080.4专利主要保护了治疗慢性肾脏病的用途。

从以上原研专利分析可知,如果能规避原研晶型,自然可以突破ZL200780024135.XZL200880016902.7ZL201210201489.X专利,对于新的适应症专利ZL202011290859.2ZL202210071080.4,因为目标患者人群不大,通过限制说明书适应症进行规避也是可行方案。从仿制药厂家的声明类型看,大多数厂家选择的也是4.2类的专利规避策略。

参考文献:

中国上市药品专利信息登记平台

国家药品监督管理局药品审评中心化学药品目录集

国家知识产权局专利数据库

NMPA网站

最高院关于达格列净晶型医药用途专利非“可登记专利类型”的裁定无关专利侵权

阿斯利康vs四川国为“达格列净”专利链接案二审裁定

我国专利链接制度施行至今的四类声明情况回顾与分析(下篇)

一触即发!达格列净的国内市场将会如何?

加载中...