新浪财经 股票

全国医院市场,中成药企业、品种Top10公布:济川药业、康缘药业、天士力居前三(附名单)

市场资讯 2023.05.02 11:00

来源 | 药融云

长期以来中医药被广泛应用于临床医疗和疾病预防,随着人们健康观念和医学模式转变,中医药越来越显示出独特价值。

药融云全国医院销售数据库显示,中成药2018年在医院端市场的销售规模为1326.6亿元,2019年1288.04亿元,2020年1121.07亿元,2021年1293.36亿元;在经历2020年的低潮后,市场开始逐步回暖,2022年销售规模回升至1351.63亿元。

01

TOP10品种浅析

2022年医院端中成药销量排名前10的产品共计占总市场份额的10.8%,TOP10分别是:百令胶囊、注射用血栓通、金水宝片、华蟾素胶囊、苏黄止咳胶囊、小儿豉翘清热颗粒、喜炎平注射液、蓝芩口服液、蒲地蓝消炎口服液、注射用血塞通。

2022年医院端销售中成药TOP10

从ATC大类来看,心脑血管与血液系统药物最多,其次是呼吸系统药物。

从增长率看,10个产品中7个实现正增长,其中增幅最大的是金水宝片,2022年医院端销售额为17.2亿元,增长率为22.25%。数据显示,近年在医院端市场金水宝片销售额快速增长,从2017年的不足1亿元一路攀升到2022年超17亿元。

金水宝片医院端历年销售趋势

金水宝片是江西济民可信药业的独家产品,用于肺肾两虚,精气不足,久咳虚喘,神疲乏力,不寐健忘,腰膝疲软,月经不调,阳痿早泄;慢性支气管炎、慢性肾功能不全、高脂血症等。

其次,增幅较大的是扬子江药业的独家产品苏黄止咳胶囊,2022年的医院端销售额为14.56亿元,以20.33%的销售增长位列排行榜第二。苏黄止咳胶囊是全国唯一批准治疗感冒后咳嗽及变异性哮喘的纯中药制剂,属于国家乙类医保品种,也是扬子江药业集团北京海燕药业有限公司的独家上市产品。

和2021年同期相比,2022年TOP10各品类医院端销售额增长幅度超10%的有6个,除了金水宝片、苏黄止咳胶囊外,还有济川药业的小儿豉翘清热颗粒(18.79%)与蒲地蓝消炎口服液(10.51%)、青峰药业的喜炎平注射液(15.19%)、扬子江药业的蓝芩口服液(11.33%)。

在TOP10药品中,有3个产品出现负增长,其中降幅最大的是常年位居榜首的“老大哥”——注射用血栓通,其2022年医院端销售额为17.72亿元,同比下降24.18%;这是自2017年之后,注射用血栓通再次跌落榜首。

2022年医院端注射用血栓通季度销售趋势

注射用血栓通是中恒集团旗下梧州制药生产的用于治疗心脑血管疾病的独家原研专利产品,用于瘀血阻络,中风偏瘫,胸痹心痛及视网膜中央静脉阻塞症。血栓通系列产品具备中成药和注射剂两大优质属性,作为心脑血管疾病优质用药,其有效成分、杂质含量、不良反应等指标均处于领先地位。

其次降幅较大的是位居榜首的百令胶囊,百令胶囊是中美华东医药(华东医药旗下子公司)的重磅品种,适用于慢性支气管炎等疾病的辅助治疗。数据显示,2019年百令胶囊销售额高达24.56亿元,随后销售额有逐年下滑趋势,但2022年仍以18.05亿元的销售额跃居首位,市场份额达1.3%。

百令胶囊医院端历年销售趋势

02

企业竞争情况

从生产厂家竞争格局来看,在2022年医院端中成药TOP10企业中,排名前三的分别为:济川药业集团、江苏康缘药业天士力医药集团。

2022年医院端中成药TOP10企业

济川药业2022年以31.31亿元的销售额位居第一,同比增长13.83%;其中小儿豉翘清热颗粒2022年医院端销售额为13.4亿元,占比总销售额的42.78%,排名第一,其次是蒲地蓝消炎口服液,占据39.27%的销售额。

近日,济川药业披露2022年年报,其营收、净利润均有所增长。从产品分类看,儿科类产品营收增长最快,其次为呼吸类、清热解毒类、心脑血管类等产品。

儿科类产品主要为小儿豉翘清热颗粒,2022年收入24.25亿元,较上年增长42.62%。小儿豉翘清热颗粒是济川药业独家品种,于2005年上市,主治小儿风热感冒。

蒲地蓝也是济川药业的核心产品,2022年收入28.72亿元,较上年增长18.57%。蒲地蓝消炎口服液作为其独家剂型,在临床上主要用于腮腺炎、咽炎、扁桃体炎和疖肿等,在2021清热解毒类中成药市场占有率分别为4.87%,仅次于板蓝根位居行业第二。

2022年康缘药业以31.02亿元的销售额排名第二,主要产品包括银杏二萜内酯葡胺注射液(心脑血管用药)、热毒宁注射液、金振口服液(呼吸与感染疾病用药),桂枝茯苓胶囊(妇科用药)等。

  • 银杏二萜内酯葡胺注射液,是首个获批上市的特异性PAF(内源血小板活化因子)受体拮抗剂,2017年已进入医保,但2019年底,以降价70%的代价医保续约,对该品种造成较大冲击。2021年后,随着该品种以量换价效应逐步体现,销售额开始回升。不过2022年,康缘药业银杏二萜内酯葡胺注射液销量同比下滑14.37%。

  • 热毒宁注射液,也是康缘药业核心品种,先后被列入国家发布的第六至第十版《新型冠状病毒肺炎诊疗方案》重型和危重型患者推荐用药,市场份额得以提升。2022年,热毒宁注射液销量同比增长54.29%。

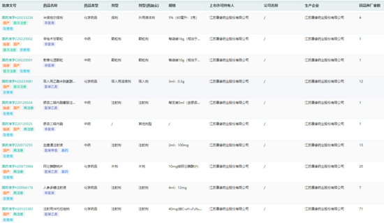
药融云中国药品批文数据库显示,截至2022年年底,康缘药业共获得205个药品生产批件,其中46个为中药独家品种,4个为中药保护品种。在2022版国家医保目录中,康缘药业共有108个品种被列入。

康缘药业批文信息查询(部分)

排名第三的天士力2022年的中药业务营业收入为555,668.66万元,同比增长9.38%。在天士力中药产品线中,复方丹参滴丸、芪参益气滴丸、养血清脑颗粒是其最重要的三大基药产品,均是心脑血管用药。

复方丹参滴丸是天士力的核心明星产品,于1993年获批,主要用于治疗心绞痛等病症,二十多年来以疗效显著、安全性好、质量稳定等特点,受到临床医生和患者的信赖,累计超过4.5亿人次服用。2022年,复方丹参滴丸共销售1.28亿盒,合计营收超过30亿元。

 

加载中...