新浪财经 股票

百分点启动科创板上市辅导 高瓴、IDG资本为主要投资方

IPO早知道C叔

关注

来源:IPO早知道

据IPO早知道消息,北京百分点科技集团股份有限公司(下称“百分点”)已同中信证券签署上市辅导协议,并于近日在北京证监局备案,拟科创板挂牌上市。

成立于2009年的百分点是一家数据智能技术企业,有完整的大数据和认知智能产品线,基于行业知识及数据中台建设经验,主要提供面向政府和企业数字化转型的行业解决方案。目前已构建了政府级、企业级和SaaS服务三大业务体系。

百分点的业务涉及数字城市、应急管理、公共安全、生态环境、媒体出版、零售快消、制造和房地产等多个领域,产品主要有大数据产品、人工智能产品和在线服务产品,覆盖了亚洲、非洲、拉美等20多个国家。

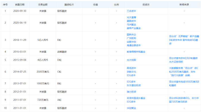
天眼查App显示,至今百分点共完成十轮融资,2011年7月获得IDG资本和名信中国成长基金投资的720万美元A轮融资;之后又陆续完成1000万美元B轮和2500万美元C轮融资,投资方分别为IDG资本、东方星空投资及高瓴资本、IDG资本和浙数文化

2015年9月和2018年11月,百分点又分别完成由光大控股投资的4亿元D轮融资,以及由中国国新央企运营投资基金领投,广发乾和、丝路华创、海通创意资本等多家投资机构跟投的5亿元E轮融资。

启信宝显示,截至今年2月13日,百分点第一大股东为北京六度八维科技有限公司(下称“六度八维”),持股16.92%;Sunny Ample Limited和Hillhouse BFD (HK) Limited分别持股12.49%和9.03%,位列第二和第三位。

百分点创始人、董事长兼CEO苏萌直接持有0.92%的股份你,并通过六度八维(100%持有)等间接持股,共计持有百分点17.84%的股份,为百分点实际控制人。

目前,全球范围内的企业都在加速进行数智化转型,更多地把IT战略重点聚焦于业务智能,促使CIO走向前台。据百分点副总裁刘译璟介绍,未来3-5年,数据智能技术应用将呈现五大趋势:

首先是数据、技术和场景的融合。企业在数字化和智能化转型的过程中,需要用新一代信息技术优化业务流程、分析业务问题、洞察业务趋势、辅助业务决策并最终带来行动,这是一个复杂的场景闭环。

与此同时,应用的复杂性导致了数据需求的复杂性,必须将业务数据、日志数据(机器数据)、IoT数据(传感器数据)、标注数据(人工经验)、模拟数据和知识数据融合使用,才能有效达成数字化转型和智能化转型的目标。

可以看出,这一趋势是由应用驱动的。并且,融合性不仅体现在多种数据的融合,还在于多种技术的融合及多种应用场景的融合,需要整合上下游技术,涉及IoT、边缘计算、云、隐私保护、大数据、商业智能、人工智能和AR/VR/MR等一系列技术。

其次应用会更强调实时性;且交互式AI将全面渗透。

同时,机器将具有自动化和自主性,对比以往的数据智能技术,只能执行精确定义的任务,现在消毒机器人、配药机器人、送餐机器人被越来越多的应用起来,在特定的任务领域和路线上已经具备一定的自主性。

最后便是边缘计算赋能数据隐私保护。刘译璟表示,数据的安全和隐私问题是未来3-5年仍需要努力解决的问题。以往传统的方式是将数据汇聚到云端,进行集中式的处理、分析、建模和应用。

加载中...