明星扎堆的“圣贝拉月子中心”上市!谁靠贵妇生娃赚翻了?
“月子中心界的爱马仕”上市了。
作者 | 刘钦文
编辑丨武丽娟
来源 | 野马财经
做一次月子要花多少钱?主营高端产后护理及修复的圣贝拉表示,百万元。
圣贝拉作为高端月子中心,坐一次月子的价格从10万元到百万元不等,不仅接待过戚薇、吉娜等女艺人入住,在资金上还获得了腾讯、高榕资本、中国人寿、太古地产等知名投资机构的支持。也因此,圣贝拉被称为“月子中心中的爱马仕”。
6月26日,圣贝拉(2508.HK)正式登陆港交所,这家专为有钱人服务的产后护理中心不仅被有钱人爱,也受到了资本市场的热捧。
圣贝拉配发结果显示,此次IPO公司全球发售1.097亿股H股股份,香港公开发售占43.48%,国际发售占56.52%。其中,香港公开发售获193倍认购,国际发售获15.59倍认购。6月26日一开盘,即大涨46.81%,随后有所回落,截至午间12点收盘,报收9港元/股,涨幅6.51%,总市值54.88亿港元。
敲钟现场,圣贝拉创始人、CEO向华身着西装,为一名80后牛津“学霸”,此前曾是投行男精英,被网友直呼“非常帅”,还曾参加综艺节目。如今,圣贝拉的上市,也让这位80后学霸实现名利双收。按其持股42.4%的比例计算,身家已达23.27亿港元。
图源:罐头图库
坐一次月子费用百万,
2023年扭亏为盈
坐月子是中国自古以来的习俗,指产妇分娩后一段坐月子和休养的时间。产妇以往主要在家中坐月子,部分产妇会聘请月嫂提供产后护理服务。
但随着年轻人消费习惯的改变,他们开始更偏好有实力、知名度高的家庭护理服务机构,希望享受相关机构配备的专业人员提供的高度专业化和定制化的服务。1999年中国台湾第一家月子中心成立。2017年,高端月子护理中心圣贝拉以艺术疗养为方向正式成立。
目前,圣贝拉集团共有圣贝拉、Bella Isla及小贝拉三大品牌,拥有59家高端月子中心,包括47家自有中心(即全资拥有或控股的中心)及12家管理中心(即由第三方全资拥有或控股并由圣贝拉管理的中心)。2023年10月在新加坡开设了第一家自有海外中心,2024年5月在美国大洛杉矶地区开设第一家管理海外中心。
圣贝拉经营三大主要业务线,即月子中心(包括产后护理服务及产后修复服务)、家庭护理服务及女性健康功能性食品。
《招股书》显示,圣贝拉的月子中心入住28天,圣贝拉、Bella Isla及小贝拉三大品牌的套餐价格分别为6.8万元、9.88万元和16.88万元。其中,圣贝拉产后护理服务每间房每晚的平均合约价值从2021年的6726元升到2023年的6887元。
图源:《招股书》
16.8万元只是圣贝拉套餐的基础价格,如果想要入住更长时间、享受更多服务,则需要付更高的费用。官网显示,圣贝拉厦门七尚店的“女王套餐”,享有四室两厅四卫两庭院共320m²,入住56天的价格为96.88万元。新加坡嘉佩乐店的“女王B套餐”,入住524m²独栋庄园别墅,56天的价格为32.88万新加坡元,相当于人民币179万元。
图源:圣贝拉官网
戚薇、吉娜、唐艺昕、麦迪娜、李艾等明星艺人均是圣贝拉的客户,麦迪娜称,“在圣贝拉坐月子的过程中,我第一次知道坐月子可以这么的舒适,全程体验感特别的好,工作人员很专业,都非常的体贴,也让我学会了很多育儿的知识。”
图源:圣贝拉官网
此外,作为产后修复服务的一部分,圣贝拉还销售S-bra品牌的内衣,主要是定制功能性内衣产品及产后塑形连身裤。每件内衣产品的价格在2680元到2.38万元。2022年5月,圣贝拉收购该品牌。
报告期内,圣贝拉营收实现快速增长。2021年至2024年,圣贝拉分别实现营收2.59亿元、4.72亿元、5.6亿元和8亿元。
不过净利润方面,表现的有些不如人意。2021年至2024年,圣贝拉净利润分别为-1.2亿元、-4.1亿元、-2.39亿元和-5.47亿元,4年累计亏损13.16亿元。经调整后在2023年扭亏为盈,分别为-2986.8万元、-4462.8万元、2077.2万元和4225.6万元。
市场排名第一,和同行“互相伤害”
圣贝拉营收快速增长的背后,据弗若斯特沙利文报告,按2023年超高端月子中心产生的收入计,圣贝拉是最大的产后护理及修复集团。
图源:《招股书》
不过,在市场竞争中,圣贝拉还出现了和同行相互商业“诋毁”的不正当竞争行为。
裁判文书网显示,2017年,高端月子中心品牌巍阁投资公司,与南京巍喜阁家政服务有限公司签订特许经营合同,双方以特许经营的形式,在南京开设了巍阁茉贝月子中心。2020年,因茉贝拉公司未支付下一年度品牌管理费,故巍阁公司决定解除《2017年品牌加盟协议》。
图源:裁判文书网
巍阁公司与茉贝拉公司解除特许经营合同后,贝康公司(圣贝拉经营公司)收购了茉贝拉公司的资产,更名为“Baby BELLA母婴护理中心(南京卓美亚店)”继续经营。
贝康公司收购后,2021年1月1日,在其运营的“BabyBELLA母婴护理中心”(后更名为“BabyBELLA小贝拉母婴护理中心”)微信公众号发布《BabyBELLA收购南京巍阁茉贝,“脱胎换骨”定义新月子》一文进行宣传。
文章中称,“2020年12月,贝康集团成功完成了对原巍阁南京加盟店铺——南京茉贝拉母婴护理有限公司的资产收购。”“我们选择了茉贝月子中心,是因为它在南京众多的月子中心里是标价最高的一个,由于延续了加盟的形式,无法实现理念与服务的迭代更新,所以在运营的过程中,未能体现出与之等价的服务水平。”
巍阁认为,贝康公司使用“更名”、“品牌升级”等表述,试图让消费者认为南京茉贝拉名下的卓美亚店,更名前后均是同一集团管理、运营只是店名发生了变化,且试图传达出更名后的服务、品牌比更名前更好的信息。属于贬低巍阁品牌、损害巍阁的声誉的不正当竞争行为。
经法院判决,易导致消费者误认为巍阁公司的部分业务被贝康公司收购,进而产生贝康公司的经营状况或品牌实力强于巍阁公司的错误印象。构成虚假宣传。
此外,贝康公司收购茉贝拉公司时,将茉贝拉公司为巍阁茉贝月子中心开设的大众点评账号一并收购。收购后,仍保留了2020年10月前,巍阁公司与茉贝拉公司合作期间消费者的评价。
2021年1月18日,该账号在回复消费者留言时称:“亲爱的宝妈,南京巍阁茉贝因为经营不善已经被我们BabyBELLA收购了哦”。
经法院判决,其公开回复消费者时称,巍阁茉贝月子中心系因经营不善而被收购,属于以编造、传播虚假信息损害巍阁公司的商业信誉的行为,构成商业诋毁。
2023年6月,经法院二审最终判决,贝康公司在“圣贝拉母婴护理中心”的微信公众号,以及《中国市场监管报》之非中缝位置,发布显示时间至少持续十日的声明,以消除产生的不良影响;并赔偿巍阁公司经济损失50万元。
不过,圣贝拉始终未发表声明,直到递交《招股书》12天后,2024年7月7日深夜,才发表了一篇声明,做出澄清。目前该声明已被删除。
图源:小红书
此外,两家月子中心也在社交平台隔空互怼,前后脚发布声明。
7月16日,巍阁月子中心在社交媒体上发布了声明表示,巍阁诉圣贝拉不正当竞争及圣贝拉虚假宣传、商业诋毁一案,巍阁胜诉,且胜诉在先!
图源:小红书
此外,巍阁还贴了一张北京市朝阳区人民法院的限制消费令,限消令显示,因贝康公司未按执行通知书指定的期间,履行生效法律文书确定的给付义务,对贝康公司、法定代表人向华采取限制消费措施。
不过,该限制消费令未能在公开渠道查询到,一般情况下,可能是因为信息尚未更新或录入,或者限制高消费的决定已被解除或变更。
图源:小红书
圣贝拉也对巍阁做出回击,2024年7月13日,圣贝拉在社交平台上表示,“圣贝拉诉巍阁不正当竞争纠纷一案,胜诉!法院于2023年4月11日的判决已生效,判决认定巍阁已对杭州贝康健康科技集团有限公司(“圣贝拉”) 构成商业诋毁,且认定巍阁多项虚假宣传。”
图源:小红书
据圣贝拉晒出的判决书显示,巍阁需在名称为“南京巍阁月子中心”的微信公众号,以及《中国市场监管报》之非中缝位置,发布显示时间至少持续十日的声明,以消除因涉案不正当竞争行为产生的不良影响,并赔偿10万元经济损失。
不过,圣贝拉晒出的判决书未能在公开渠道查到,有关巍阁的具体虚假宣传、商业诋毁行为无从得知。
图源:小红书
据圣贝拉晒出的图片显示,2024年7月14日,巍阁发表声明承认商业诋毁行为。至今,也已被删除。
图源:小红书
公开信息显示,巍阁同样为一家高端月子中心,成立于2006年,创业初期从中国台湾引进全套技术和管理全套模式,总部设立在北京,截至2023年,巍阁服务用户数量超过“10000+”高净值家庭。据小红书博主统计,巍阁月子中心在北京的均价为21万左右。曾有姚晨入住。
图源:小红书
和圣贝拉相同的是,巍阁的门店数量同样走精而少路线。官网显示,巍阁在全国“北京、深圳、上海.……”等城市拥有30+分店。
“由于高端月子中心强调定制化,特色化,因此对于通过简单的兼并重组的扩张模式并不适用。通常头部企业均是通过区域化竞争优势获得市场份额。而希望通过标准化的方式来运营高端月子中心的难度较大,因此兼并后如何整合原有企业是这个行业比较难的事情。”万联证券投资顾问屈放表示。
一年花5381万打广告,
因虚假宣传被罚
圣贝拉的虚假宣传行为不止发生在和同行的竞争中,2022年4月22日,杭州市萧山区市场监督管理局对贝康公司作出《行政处罚决定书》。
该决定书载明,贝康公司自2020年底起在品牌官网使用“国内第一家艺术疗养的母婴护理中心唯一与麻省理工大学建立中国女性月子的研究中心” “全国首家母婴专业护理学院-贝康护理学院”的描述,但贝康公司未能提交证据证明上述措辞的真实性。
据此,杭州市萧山区市场监督管理局认定贝康公司的上述广告中含有虚假宣传内容,对贝康公司罚款1.05万元。
多次因虚假宣传被处罚背后,线上营销渠道正成为圣贝拉获客的主要渠道之一。
《招股书》显示,2023年,圣贝拉2820名首次产后护理服务客户中约36%是由现有客户推荐或通过圣贝拉自有的线上渠道(包括网站和小程序)获取得。
为此,圣贝拉每年花费数千万元用于广告开支。《招股书》显示,2021年-2023年,圣贝拉的广告开支增长迅猛,分别为1445.7万元、3201.5万元和5381.4万元,占销售及分销开支的44.3%、54.5%和66%。
图源:《招股书》
花了钱的圣贝拉效果显著。据弗若斯特沙利文报告,2023年,圣贝拉成为小红书搜索量最高的月子中心品牌。
“我们的广告开支主要包括线上营销及推广内容的支出。我们与小红书平台合作在推介我们的服务。基于内容创作发布以我们的月子中心为特色的视频博客以及与我们合作开展营销活动。我们亦会在购物资讯及电商平台推广我们的服务及产品。”圣贝拉表示。
投行精英和腾讯、高榕资本,
共享资本盛宴
在高端月子中心圣贝拉的背后,是一位投行男精英和传媒女神的强强联合。
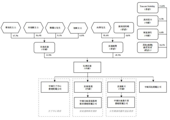
《招股书》显示,向华为圣贝拉的创始人,林宛颐为联合创始人,曾经都在英国留学,截至目前,两人分别持股42.49%和11.89%。向华为控股股东。
向华2010年从牛津大学毕业,毕业后加入瑞士银行香港分行,任职亚洲并购及企业融资部副董事,参与并购、股票及债务资本市场交易;2015年,又调到亚洲医疗健康组担任董事,专注于医疗健康服务,医疗器械以及制药等方面的融资和并购业务,参与的项目金额超过100亿美元。
据《时代周报》报道,向华离职时年仅30岁,但已坐到了健康组董事之位,年薪数百万元。
林宛颐于2009年获得中国武汉音乐学院音乐学士学位,并于2013年1月获得英国莱斯特大学大众传媒硕士学位。毕业后,担任《时尚新娘》杂志市场部公关总监,2014年4月,成为线上婚庆平台婚礼纪的联合创始人,担任品牌与公关部品牌副总裁。
2017年,向华从瑞士银行香港分行离职,和林宛颐共同创立了圣贝拉。
2022年,向华还以“光芒助力官”身份,参与芒果台综艺《100道光芒》,与何炅、杨子、黄圣依同台。2023年,又参加了NEW TIDE新浪潮品牌大会。
图源:向华微博
在向华的微博评论区,也有不少网友直呼“非常帅”“可以去打工吗”。
图源:向华微博
不止长得帅,向华在商业运作上也十分有野心。在接受时尚杂志Tatler采访时,向华表示,“我们一开始就是在打造一个品牌集团的概念,想做护理界的LVMH。”
2024年8月,向华入选《财富》(FORTUNE)2024年度“中国40位40岁以下的商界精英”,同期入选的还有月之暗面Kimi的创始人兼首席执行官杨植麟、米哈游联合创始人、总裁兼董事长刘伟、旺旺集团总经理蔡旺庭等。
向华此前在投资领域的经历,再加上圣贝拉的高端月子中心理念,也让圣贝拉受到市场上投资人的喜爱。
天眼查显示,圣贝拉成立7年已获得9轮融资,成立次年2018年就得到唐竹资本、高榕资本的1500万元融资;2020年又得到新鸿基的青睐,企业估值达1亿美元;2021年收到腾讯投资、高榕资本的2亿人民币投资。
此外,还有中国人寿、英国太古地产创新基金、韩国未来资产集团等均在圣贝拉的投资人名单中。
图源:天眼查
《招股书》显示,截至目前,腾讯在圣贝拉持股11.61%,高榕资本持股8.26%,宁波唐竹持股6.61%。
图源:《招股书》
你了解过高端月子中心吗?对圣贝拉和向华的故事有何看法?欢迎下方留言讨论。