新浪财经 股票

怎样才能在A股赚到钱?

新浪财经

关注

来源:华商韬略

真正的问题,不是A股能不能赚钱,而是你能不能在A股赚钱。

作 者丨刘亦文

最近,全球股市突然转了向。

大牛股批量式走熊,股价直线下降甚至腰斩。曾被捧上热搜的明星基金经理纷纷跌落神坛,昨天还是“全世界最好的坤坤”,今天就变成了“菜菜坤”。

一些初入市场的股民、基民的心态和投资逻辑,也从去年坚信“A股进入价值投资时代”,到如今陷入了深深的怀疑。

从1990年12月上交所成立算,A股诞生30年有余。30年来,市场规模越来越大,投资者越来越多,但这种从信心爆棚到内心崩溃的切换与动荡,却一直如影相随。A股到底能不能赚钱的问题,也被反复提问。

七亏二平一赚。即股民中有70%亏损,20%持平,只有10%的人可能盈利。

赚钱概率太小,是大多数人对投资股市的基本印象。

过去十几年,股市总被拿来与楼市对比,对比的结果多是股市被秒成渣。

现实也是如此,过去20年,买房炒楼让绝大多数家庭获得了巨大的财富增值,炒股带来的则更多是难以言说的伤心往事。

A股真的如此“渣”吗?事实并非如此。

上证综指为例,1990年以来,涨幅超过33倍,年化涨幅超过13%。与之相比,全国房价同期年化涨幅不到6%。也就是说,A股的长期回报率大大跑赢了房地产。

不止房地产,跟其他主要投资方式比,A股的的长期收益也是最高的。比如,10年期国债代表的债市年化收益率不到4%,而以CRB指数衡量的大宗商品年化涨幅不到3%。

以上证综指涨幅来比较,A股的真实涨幅也被低估了。

海通证券曾以两种方法计算过上交所开市到2017年,更接近真实情况的A股收益率。其两种方法的计算结果,都大大超过14%的年化涨幅。

一种方法是,每年年初买入等额所有A股,投资收益为576倍,27年的年化涨幅为28.0%;另一种方法是,每年年初买入等量所有A股,投资收益为256倍,年化涨幅为24.0%。

按这种“傻瓜”的方法投资A股,其年化收益率甚至超过了巴菲特。最近30年,股神巴菲特的年化收益率也不过20%出头。

A股竟然隐藏着如此大的赚钱效益,为什么普通股民感受不到?

为什么大多数投资者依然亏损,甚至总是亏损?

答案残酷而真实:不是股市能不能赚钱,而是你能不能赚钱。

A股的年化收益率是所有大类投资品种中最高的,但其波动率也远高于其他投资品种。30年来,上证综指年度最大涨幅是1992年的166%,最大跌幅是2008年的65%,大多数年份,A股的收益率水平,都远远偏离年化收益率。

巨大波动中,踏错一波节奏的操作,就可能让本来赚钱的投资变成巨大亏损,更何况很多投资者追涨杀跌,来回踏错。

A股的巨大波动率,一方面来自中国经济和上市公司结构。

过去很长一段时间,中国经济增长主要靠投资拉动,反映在股市,就是上市公司的利润绝大部分来自于银行、地产以及资源等周期类行业。这部分公司利润随着经济周期呈现明显的上下波动,从而在盈利端造成了A股的高波动性。

另一方面,就是A股的投资者结构。

按自由流通市值计算,2020年一季度,A股的机构投资占比为30.3%(公募10.8%、外资8%、保险类资金7.1%、私募4.4%),自然人和法人占比25.1%,散户持股市值占比为38.3%。

散户仍然是市场最大的持仓群体。散户的非理性交易行为,最容易使市场涨的时候容易涨过头,跌的时候容易跌过头,进而在盈利水平之外加剧A股的波动。

以最近一轮牛熊转换来看,2013年6月到2015年6月的牛市行情中,上市公司盈利增速只有10%左右,但上证综指从1849点上涨到5178点,PE从8倍上升到21倍,上涨了2.5倍。2015年6月到2019年1月的熊市行情中,上证综指从5178点下跌到2440点,其中PE从21倍降到11倍,但绝大部分公司业绩并没大幅下降。

这些波动,几乎都是情绪驱动所致,且很大程度上是由散户造成,最终也深深伤害了散户。

一方面,大部分散户没有估值概念和周期思维,更多的是根据市场的赚钱效应从众跟风。在牛市最疯狂、估值泡沫到达历史高点时蜂拥而入,在熊市最低迷、估值回到历史低位时割肉出局。如前所述,一波或几波高买低卖,便会导致巨大亏损,甚至血本无归。

另一方面,巨大波动带来的巨大刺激感及股市交易操作的便利性,使大部分散户陷入追求暴富、短线频繁交易的泥潭。人们对事物的长期判断一定超过短期判断,你对某家公司未来几年业绩涨跌判断的准确性,大概率高于你对它在未来几天股价涨跌的判断。

相信的是公司的长期价值,买卖的却是短期价值,这导致即便很多聪明的投资者,最终也因为频繁的短期做错,陷入“为什么我那么聪明但却总是亏损”的魔咒。

同样的逻辑放在楼市,正是楼市的波动相对较小,且交易程序非常复杂,交易成本高企,才让普通老百姓也能够充分享受其增值收益。

情绪波动让“市场先生”经常失灵,股价经常大幅偏离合理价值,是对高买低卖者的致命伤害,但却是低吸高抛者的黄金机遇。比如,上证估值曾经在2014年初下探至历史最低点,PE(TTM)只有8倍左右,彼时茅台的PE(TTM)甚至不到9倍,不到现在的20%。

现在回头看,让众人恐慌、骂娘的时点,往往是投资布局的好时机。也正是这种偏离公司价值的巨大波动,造就了很多通过短线高抛低吸而暴富的牛散。一些游资大佬,从几万元起家做到了亿万身家,其财富积累速度,远超巴菲特等来自成熟市场的投资大师。

巨大波动性带来的择时机会,也创造过收益神话,典型如华夏基金前著名基金经理王亚伟。从2005年底,王亚伟接手主理华夏精选大盘开始,在6年多时间里,净值增长了11倍。

还有一类投资人,不理会市场波动,通过坚定的长期持股,和优秀公司共同成长,最终获得数十亿财富回报,比如万科的刘元生、海康威视的龚虹嘉、恒瑞医药的岑均达。

很长时间里,A股都被认为和中国经济走势背道而驰,不能充当经济发展的晴雨表。

一个常用的证据是,2007年以来中国GDP增长了3倍以上,但是上证指数离2007年10月创下的6124点还相差甚远。

这种观点貌似有理,其实似是而非。最根本的错误,在于时点选择。

2007年上证创下6124点,已是牛市最疯狂的时候,PE(TTM)达到了60倍以上,而目前只有16倍左右。拿泡沫严重的市场和如今相对正常的市场进行比较,显然是不合理的。

如果抛开估值差异的因素,以估值相近的2005年作为比较的起点,结果更有参考价值。

2005-2019年的15年间,我国名义GDP年化增速为12.8%,同期万得全A的年化涨幅为14%,沪深300为9.8%,中证800为10.2%,A股涨幅跟经济基本面基本一致。

从A股市值领先公司的变迁,我们也能看到中国经济基本面的变化。

2000年之前,A股市值龙头曾长期被生产电视机的四川长虹占据。与之对应的是,当时还处于短缺经济时代,以家电为代表的传统制造业,正处于业绩高速成长的高光时代。

▲1998年12月31日A股总市值前10

图源:同花顺iFinD

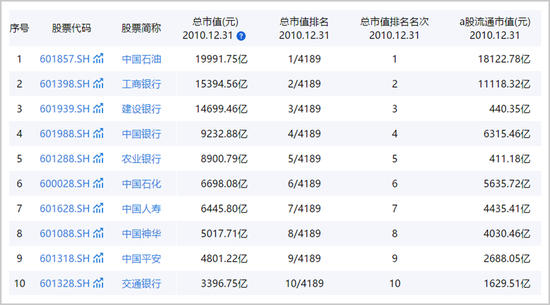
2010年,A股市值排名靠前的是中国石油、工商银行和中国神华等金融和资源类公司——对应的经济背景是,中国迎来工业化和城镇化高速推进,钢铁、有色、石油煤炭、地产等周期性投资行业成为拉动经济增长的“四大金刚”,而这些行业极度依赖信贷的融资模式,则使银行的规模和重要性变得空前强大。

▲2010年12月31日A股总市值前10

图源:同花顺iFinD

截至2月18日本轮下跌前,A股前十大市值公司中,除了银行和保险之外,新上榜的是高端白酒的代表——贵州茅台和五粮液,以及新能源汽车产业链龙头宁德时代。

▲2021年2月18日A股总市值前10

图源:同花顺iFinD

作为曾经的A股老大,四川长虹目前的市值已经不到20年前的一半,中国石油市值与历史最高峰相比,更是下降了90%之多。

这依然是经济趋势的客观反映。

一是在过剩经济时代,传统制造业陷入同质竞争的惨烈红海,利润极其微薄,渠道和流量成为最重要的资源,使互联网巨头迅速崛起;二是在消费驱动经济增长和消费持续升级的时代潮流下,重化工业的野蛮生长阶段已经过去,消费者越发重视产品的情感体验和个性化,由此催生出越来越多有鲜明特色的高端消费品企业,走向业绩和市值的巅峰。

A股被吐槽的另一个点,市场投机炒作盛行,行情都是脱离价值实际,价值投资在A股似乎水土不服。

这在单独的某个时间看,似乎是对的,很多没有业绩支撑的垃圾题材股经常股价暴涨,而业绩稳定优异的好公司反而不温不火。但把时间拉长来看,A股其实是非常理性和有效的市场,上市公司股价的长期走势,与其业绩高度相关,所谓短期靠势,长期靠质。

如今再看,历经时间洗礼,穿越牛熊周期,最终成为百倍以上大牛股的公司,基本都是投资者耳熟能详的优秀公司,包括贵州茅台、五粮液、万科、格力电器、恒瑞医药、云南白药等。

贵州茅台2001年上市,净利润从当年的3.28亿增长到2019年的412亿;格力电器1996年上市,净利润从当年的1.86亿,增长到2019年的246亿。两家著名公司利润增幅都超过100倍,成为股价长期大涨的坚实基础。

与之相反,曾经在市场上风光一时的热门题材股,被炒到虚高的市值,最终都是一地鸡毛。以去年退市的乐视网和暴风科技为例,都曾被市场爆炒过,市值最高时分别达到过1700亿和400亿,而最终退市时,不过只剩下了7亿和1亿。

长期来看,炒作带来的估值波动,对上市公司市值的影响微乎其微,业绩始终是影响市值的最重要因素。能够长期持续为客户和股东创造价值的公司,终究会受到投资者的认可,认可并坚持这类公司的投资者,也总能赚到超出预期的利润。

时间是检验企业价值的唯一标准,价值和理性,其实一直都在,只不过它被深深地埋藏在涨涨跌跌里,被掌握和实践在少数人手中。

牛短熊长,是投资者对当前A股的另一大无奈。

2000年以来,A股牛市平均持续时间只有20个月,熊市平均持续时间却高达37个月,牛短熊长的迹象异常突出,并被认为是A股难以摆脱的宿命。

反观美股市场,从1900以来道指经历了5轮牛熊转换,每轮牛市的平均持续时间高达12年,熊市的持续时间只有2年,其牛长熊短的特征和A股形成了鲜明对比。

这加深了人们对A股赚钱难的印象。

导致这一现象的,是双方在单边牛市时的不同表现。在近20年的三轮牛市周期中,上证综指复合年化涨幅分别为112%、142%和70%,平均年化涨幅高达108%。与之对应,美股道指在牛市的年化涨幅只有20%左右。牛市短期暴涨,必然造成估值畸高,最终只能通过漫长的下跌来消化估值泡沫,牛市涨幅温和,再加业绩消化与支撑,自然可以细水长流。

深究A股和美股牛熊周期的差异,根源在于投资者结构和上市公司盈利结构。

美股投资者以机构为主,利润来源以消费和科技等弱周期行业为主,这种市场环境使美股估值相对稳定、利润稳定增长,从而具备长牛的基础。而A股投资者以散户为主,利润来源以强周期行业为主,估值和利润自然缺乏稳定性,使A股也难以走出长牛行情。

但现在,A股的市场环境,已在向美股等成熟市场靠拢。

投资机构占比越来越高。2015年以来,机构投资者在自由流通市值中的占比每年增长超过2%并且有加速迹象。

盈利结构中,随着近年来消费和科技公司IPO数量的大幅增长,A股中弱周期行业的市值和利润占比也越来越高。

这些变化,正在为A股的长牛行情奠定基础,即便今年以来市场突然由热转寒,A股仍将真正迎来长期慢牛行情,牛短熊长的宿命终将被打破。

但这并不意味着,普通投资者就一定能赚到钱。

人生要成功,投资要获利,认知能力很重要。

在一些人眼中,股市是混沌的,涨跌完全是随机产生,背后没有任何规律可循,炒股就是碰运气;在另一些人看来,股市是线性的,涨的时候似乎一直会涨,跌的时候似乎一直会跌,永远不会有周期的循环。

认知的价值,在于找到混沌中相对确定的规律,在于理解起伏中的周期更替,从而提升把握机会和规避风险的能力,进而提高成功和获利的概率。

但是有认知能力是远远不够的,更重要的是知行合一。如果行动与实践中,总是与自己的理性认知背道而驰,就算认知得很准,也不一定真正能在股市赚钱。

最重要的是,克服自身性格的缺陷和人性共同的弱点。只有控制情绪和欲望,克制暴富的幻想,坚持长期主义,相信常识和时间的力量,相信自己所相信的,才能把相信变成现实。

不可或缺的,当然还有国运的恩泽。

巴菲特说,“我的人生,很大程度上受益于‘子宫红利’。有幸作为白人出生在国力和经济蒸蒸日上的美国,是我投资成功的主要原因。”

中国股民其实也是幸运的,过去几十年,中国经济从几乎一穷二白开始追赶,给资本市场提供了巨大的机会。未来30年,中国在百年未有之大变局的更大发展,则会提供更多最大的机会。

加载中...