新浪财经 股票

字节跳动全面更名!多个垂直业务打包赴港上市在即?

上海证券报

关注

记者今日查询香港公司注册处综合资讯系统发现,字节跳动日前悄然将2012年注册于香港的字节跳动(香港)有限公司更名为抖音集团(香港)有限公司。

业内分析人士指出,此举或许意味着字节跳动已将抖音赴香港上市提上日程。

对于上述工商变更是否与上市有关,抖音相关负责人表示不予置评。

两地工商信息集体变更

公开信息显示,该公司旗下共有三位董事,分别为字节跳动CEO梁汝波,以及莫肇棋和张鹏,公司性质为私人股份有限公司。

本次工商信息修改生效于2022年5月6日。该公司成立于2012年5月,成立时以字节跳动(香港)有限公司命名,至今恰好10年。据天眼查,更名前的字节跳动(香港)有限公司拥有实际控制的企业数量为55家。

值得一提的是,字节跳动的重要业务主体公司,字节跳动有限公司也在2022年5月更名为抖音有限公司。

公开信息显示,张一鸣持有抖音有限公司98.814%股份,公司法人为张利东。

此外,据国家企业信用信息公示系统显示,原字节跳动有限公司(已更名为抖音有限公司)旗下的北京字节跳动科技有限公司也已更名为北京抖音信息服务有限公司。

此次全面更名,看起来颇为意味深长。

曾被业界调侃“开发了全宇宙所有APP”的字节跳动,如今放下对于拓展的狂热,开始接受“抖音”赋予自己的宿命。这似乎也预示着,这家公司已从早期的“孵化”终于走向如今的“成熟”。

多个垂直业务有望打包上市

另一个引入瞩目的焦点,在于此次上市的内容。

相较于2021年末曾传出的视频板块业务拆分上市,此次字节跳动或将除Tiktok以外的所有业务一起打包登陆港股。

根据此前字节跳动2021年底的组织架构调整,头条、西瓜、搜索、百科以及多个垂直服务业务并入抖音,该板块负责信息和服务业务的整体发展。换言之,若字节跳动本次力推抖音集团上市,多个垂直服务领域有望“打包”登陆资本市场。

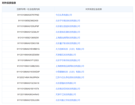
值得一提的是,根据工商信息显示,字节跳动近年来重点打造的企业级技术服务云平台火山引擎、负责游戏研发与发行的朝夕光年、办公软件飞书也有望一并登陆资本市场。

天眼查显示,更名后的抖音有限公司通过全资子公司游逸科技,持有朝夕光年100%股权;通过全资子公司潜龙在渊科技有限公司,持有火山引擎100%股权;通过幸运创迹持有北京飞书科技有限公司100%股权。此外,知识服务领域子公司量子跃动、大健康领域的小荷健康也在抖音有限公司旗下。

就在一个月前,有着百余家企业IPO和融资项目经验的知名律师高准(Julie Gao)加入字节跳动,担任首席财务官(CFO)。

这是一项颇为耐人寻味的安排。记者注意到,自2021年11月,TikTok的CEO周受资不再兼任字节跳动CFO后,该职位已空缺5个月。而一位拥有丰富IPO经验的法律人接任CFO,不由得让外界浮想联翩。

高准曾任全球顶尖律所世达国际律师事务所(Skadden)最高管理机构政策委员会成员,擅长资本市场与并购业务,曾为京东、美团、拼多多小米百度哔哩哔哩等科技公司提供相关法律咨询服务。

字节跳动CEO梁汝波在一封内部信中表示,高准自2016年以来多次参与字节跳动收购和融资项目,熟悉公司使命、文化、团队和业务,“相信她的加入会给公司带来很大帮助”。

值得注意的是,就在高准上任的同时,有媒体报道称,抖音海外版Tiktok就数据储存问题在美与数据公司甲骨文达成了一系列合作协议。有业内人士称,此举或许意在进一步消除Tiktok单独登陆美股的障碍。

登陆港股 时机如何

现在是上市的好时机吗?对于字节跳动而言,是,也不是。

“抖音近期的数据还是很漂亮的,无论是活跃用户数还是用户使用时长,都保持在高位,对于字节跳动而言,这将是一个重要的上市窗口期。”一位行业分析师指出,随着短视频行业红利见顶,在可预见的未来,增长将不可持续。“字节跳动需要一份足够靓丽的成绩单,说服投资者加入。”

另一方面,眼下,字节跳动正处于估值的历史高位,有报道称其估值已达4000亿美元(约合2.6万亿人民币)。这一估算,也可从公司内部期权回购价格得到侧面印证。今年4月16日,多位字节跳动在职员工确认,公司开启了今年的期权回购,价格为每股142美元,相比去年的132美元,提升了7.5%。

但另一方面,也有市场人士认为,眼下并非字节上市的好时机。“目前港股市场,互联网公司的估值都处于历史低位,整个市场流动性也偏弱。”一位互联网分析师认为,相较于字节跳动这只万亿规模的“大鱼”来说,港股眼下的池塘水位或许有些太浅。“它不利于公司拿到一个好的估值。”

然而,对于字节跳动来说,如今来自老股东的压力,让它在上市时机上似乎没有更多的选择。

去年,字节跳动的最大投资方之一SIG海纳亚洲曾寻求出售持有的一小部分股份,约5亿美元。数量虽然不多,但也一度让市场浮想联翩。而字节在二手市场的估值,也在3600亿美金至4500亿美金之间徘徊不定。

一位市场人士直言:“字节跳动创立10年,关于它的传奇有很多,但对于很多原始投资者来说,如今最重要的是变现渠道。上市是给投资者,以也是给员工们一个积极的预期。”

加载中...