新浪财经 股票

A股快手概念股大涨:有的公司“根红苗正” 有的纯蹭热度

新浪财经

关注

A股快手概念股大涨,有的公司“根红苗正”,有的纯蹭热度

来源:证券市场红周刊

原创 红刊社 

快手终于要来了!

1月26日,快手正式招股。公司计划发行约3.65亿股股份,其中公开发售913.05万股,国际发售约3.56亿股,每股发行价105-115港元,以此计算,对应的股份市值分别为4314亿港元和4724亿港元,快手IPO最多可在全球募集资金约420亿港元,并预计将于2月5日上市。

图1 快手全球发售信息

来源:公司公告

1月26日招股当天,投资者打新热情高涨,券商系统被传“崩溃”,首日录得超额认购至少260倍,打新热度不输此前被“疯抢”的蚂蚁。与此同时,A股的快手“小弟”们早已蠢蠢欲动。早在1月15日,快手通过港交所聆讯的次日,A股快手概念股就火过一波,当天因赛集团引力传媒纷纷涨停。而1月26日,快手概念再次强势袭来,首都在线、日出东方等当天均实现涨停。

快手概念股的火热情绪延续至27日,当天快手概念板块大涨6.1%,居同花顺涨幅榜首。首都在线、日出东方、凯撒文化广博股份等纷纷涨停,金科文化、因赛集团等涨幅居前。

图2 快手概念股1月27日市场表现

这种火焰甚至蔓延至快手的承销商,例如作为快手保荐人之一的华兴资本控股也乘着快手概念的东风,股价持续大涨,最近三个交易日股价涨幅超过40%。

图3 华兴资本控股股价走势

快手上市每前进一步,A股概念股都要跟进一波,那么,这些概念股究竟有什么看点?随着快手上市日期临近,快手概念未来市场表现还可持续吗?

快手估值较为合理

腾讯作为最大股东受益有限

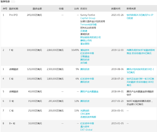
据Wind全球企业库数据,截至2021年1月26日,快手共经历了11轮融资,其中天使轮由晨星创投投资,融资金额为30万美元,最新一轮Pre-IPO轮由Sunny Festive、加拿大退休金计划投资局、贝莱德、景顺投资等投资,该轮融资金额为24.5亿美元。

图4 快手PEVC融资信息

来源:Wind

2020年1月18日,快手进行F轮融资,投资方包括腾讯、博裕资本、淡马锡,投后估值为286亿美元。

“快手短视频是个非刚需产品,用户数应该是快见顶了,广告变现还有较大空间,属于我在我的《互联网投资攻略》里说的‘满足80%用户非刚需的公司在变现成长阶段’,招股书披露2020年预计550亿人民币营收,预计5年后差不多能做到2000亿人民币营收。最新定价600亿美元左右,属于合理估值。”专注于互联网投资的职业投资人@仓又加错-Leo对《红周刊》记者表示。

据中信证券测算,根据分部估值和单MAU估值,给予快手2021年目标市值区间4460-6485亿港元,2022年目标市值区间6810-7842亿港元,对应估值61x-78xPE。

回溯快手融资历程,腾讯自2017年D轮融资之后持续加码,并自此出现在后续每一轮的快手融资股东之中。

资料显示,快手的普通股可分为A类股和B类股,每股A类普通赋予持有人权利可投10票,B类普通股可投1票。假设未行使超额配股权,上市后腾讯持有公司总流通股的17.8%,为第一大单一股东。

图5 快手联交所上市后股权结构图(假设未超配)

来源:招股书、安信国际证券

作为快手第一大股东,腾讯股价是否会因快手上市而有较大提升是市场关注的一大问题。对此,@仓又加错-Leo对记者直言,“快手的现金流不并入腾讯,腾讯手里的快手股权价值已经是经过PE放大了,再乘以50倍PE?投资的帐不能这么算的。快手上市对腾讯股价有没有提升作用不知道,对腾讯的投资价值增加很小可以忽略不计。”

若IPO顺利,快手将成为2年来,除阿里巴巴之外,香港地区规模最大的IPO项目。@仓又加错-Leo认为,“近两年去香港上市的互联网和科技股很多,未来几年也会成为首选,港股可投资的好股票肯定是越来越多了,对港交所也算是个利好。”

资金流入机构散户分歧

部分公司受益非常有限

事实上,快手概念大爆发与资金推动不无关系,据Wind数据显示,1月27日,机构净买入额最大的公司是凯撒文化,资金净流入额达到7716万元,金科文化、首都在线则紧随其后,分别达到5326万元和3406万元,这三家公司当天都有不错的市场表现。

而大户净流入额前三名公司则为金科文化、蓝色光标、利欧股份,净流入额分别为35743万元、24487万元、20448万元。

相较之下,散户净流入额前三名的公司为金科文化、星期六、蓝色光标,净流入额分别为33942万元、19835万元、19197万元。

值得注意的是,与大户、散户全部净流入相比,机构对6家公司的净买入额为负,还有一家为ST数知净买入额为0。被机构净买入额负值居前三位的公司分别为星期六、紫天科技、引力传媒,其净买入额分别为-1308万元,-1148万元,-291万元。

总结起来看,金科文化同时被机构、大户、散户资金看好,公开资料显示,2020年,公司加入了快手春草计划首批代运营服务商,力图为更多品牌提供短视频及直播营销服务。除了资金加持,上市公司业绩也颇为亮眼,金科文化2020年度业绩预告显示,预期实现净利润7.000亿元至8.000亿元,增长幅度达到1.25倍至1.29倍。

与此同时,星期六分歧最大,在机构资金净流出之际,散户却在大肆买入。据星期六披露2020年业绩预告,今年以来社交电商行业快速发展,公司加大了对主播在流量上的投入,随着粉丝规模的快速增长,销售额也得以快速提升,今年公司已经陆续取得与多个知名国货品牌在快手、抖音等平台的深度合作。星期六曾因网红概念“走妖”,早在2019年12月中旬,星期六的股价曾创下26天17次涨停的表现,此次能否借力快手概念股再火一把还有待观察。

附表 1月27日快手股资金流向情况

从其他上市公司实际情况看,首都在线连续两日大涨20%,据悉,“傍上”快手概念,因为公司主要为快手提供的IDC数据中心服务。

1月27日涨停的凯撒文化,与快手概念相关系快手独家代理发行的《三国志威力无双》在苹果端是2021年1月14号预约上线。

同样,1月27日广博股份也于早盘涨停,据悉,公司与抖音的合作主要系公司全资子公司灵云传媒与北京字节跳动网络技术有限公司签约合作,为其推广今日头条、抖音、西瓜视频等APP客户端下载,并在今日头条、抖音和快手平台上为客户策划投放广告营销活动。

因赛集团当天涨超8%,公开资料显示,2020年5月18日公司在互动平台称:从2019年开始,公司已涉足网红直播营销。2020年,公司已与巨量引擎签署了代理商数据推广商务合作协议(包括:头条、抖音等框架协议),并与快手签署年度框架协议。

不过,连续收获了两个涨停的日出东方则没那么有“底气”,据悉,日出东方以自有资金 500 万美元认购华兴资本美元基金份额,比例为2.76%,占比较低,华兴美元基金持有快手比例为 0.10%,公司间接持有快手比例为 0.00276%,占比极低。

这些概念股能否持续上涨还有待观察,而其他快手概念股也还需要一一甄别,比如,前期大涨的引力传媒,1月27日表现一般,据悉,公司与快手短视频签署战略合作协议,双方将就短视频内容的研发、生产、运营等方面开展全面合作,尤其是广电电视媒体平台及资源的短视频化领域。

除此以外,其他快手概念公司相关情况如下:

中文在线:2018年6月6日,中文在线数字出版集团股份有限公司与北京快手科技有限公司签订了《战略合作协议》。

紫天科技:2021年1月26日公告披露:全资子公司里安传媒与快手科技旗下全资子公司 JOYO TECHNOLOGY PTE.LTD.于近日签订了《战略合作框架协议》,双方希望形成深度战略绑定关系,共同搭建孵化基地,实现优质内容生态共建。

环球印务:2020年4月22日互动平台回复:子公司领凯科技作为多家权威媒体(今日头条、腾讯、快手等)的核心代理商,近年来主要为今日头条、抖音、淘宝、支付宝、网易、搜狐、当当网、高德地图、车主邦等知名APP提供互联网广告精准营销服务。

万润科技:鼎盛意轩是快手品牌类全国代理商;亿万无线获得快手核心代理商资格。

歌华有线:公司与快手科技达成合作,将在内容版权、长短视频、教育点播+直播等业务领域合作。

利欧股份:2020年1月3日互动平台回复:公司是行业内最早布局短视频业务的公司之一,2018年在抖音、快手等头部短视频平台投放业务量达到10亿元,2019年预计超过50亿元,处于行业前列,是抖音和快手最头部的代理公司之一。

浙江富润:公司子公司泰一传媒是快手的[KA效果]广告经营代理商。

蓝色光标:在发力出海业务的同时,蓝色光标短视频业务也获得大爆发,相比2018年,2019年短视频收入获得近10倍的增长。依托于“服务+技术+资源”的模式,蓝色光标已经拥有近百人的短视频团队,深入探索短视频的营销方式和多样性,并成为包括快手、抖音、西瓜视频在内的多家头部短视频平台的核心代理商。

久其软件:公司有为快手提供过出海营销业务,快手也是公司合作的媒介平台。

ST数知:公司从 2018 年战略布局 MCN 相关业务,公司子公司中易电通是快手代理商。

浩丰科技:2020年6月15日互动平台回复:公司给字节跳动、快手平台有提供基于存储、视频培训等方面的IT系统解决方案,但整体金额占公司营收较小。

(文中提及个股仅做举例分析,不做投资建议。)

加载中...