新浪财经 股票

快讯:三夫户外暴跌后再涨停 换手率已超40%

新浪财经

关注
日k线图

日k线图

【相关阅读】比徐翔还凶残的温州帮所到之处一片狼藉 三夫户外就是一例

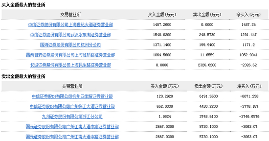
新浪财经讯 10月20日消息,周四下午,三夫户外持续震荡上行,盘中一度涨停。截至发稿,三夫户外换手率已达40%。

三夫户外前一日的走势十分诡异,早盘从9点48分开始持续横盘,分时线上呈现出一条彻底的直线,在11点25分才打破僵局,股价开始震荡上行,午后涨幅最高达到8%;然而股价随后急转直下,仅半个小时,股价下挫超过15%。当时市场怀疑是温州帮所为,而最终龙虎榜数据出炉时,并没有温州营业部的身影,但卖出金额最大的营业所仍被浙江省拿下,卖一营业部为中信证券股份有限公司杭州四季路证券营业部。

责任编辑:马天元 SF180

加载中...