深海科技概念股持续上演涨停潮:挖掘补涨潜力股
来源:财富投资网
摘要:深海科技概念股上演涨停潮,市场人士分析,重点关注拥有深海科技领域核心技术的上市公司,在东方海洋(002086)、巨力索具(002342)、海洋王(002724)、神开股份(002278)这几只深海科技概念股领涨品种的股价持续涨停的示范效应下,从操作的角度来看,应重点关注那些拥有深海科技领域核心技术的上市公司。
周一A股市场最突出的热点风口无疑是最近被明确写入国家层面政府工作报告的深海科技概念股,东方海洋(002086)、巨力索具(002342)、海洋王(002724)、神开股份(002278)这几只深海科技概念股领涨品种的股价均已经是连续3个交易日涨停,而且在今天均是清一色的“一”字板涨停!在这几只深海科技概念股连续涨停的示范效应下,周一盘面上,潜能恒信(300191)、蓝科高新(601798)、海兰信(300065)等多只深海科技概念股的涨幅居于前列!刚刚公布的政府工作报告明确提出支持深海科技安全健康发展,并配套实施“溟渊计划”等国家级科研项目,推动深海探测、资源开发、装备制造全产业链协同发展。政策端持续加码,为深海装备研发、深海通信网络建设等关键领域提供了明确方向,加速技术成果转化和产业规模化落地。在这样的大背景下,深海科技概念股已经一跃成为当前A股市场最为火爆的热点风口。
我国海洋经济总量已经达到10万亿级产业规模:明确写入国家层面政府工作报告的深海科技概念股已经一跃成为当前A股市场最为火爆的热点风口
2025年《政府工作报告》指出,“开展新技术新产品新场景大规模应用示范行动,推动商业航天、低空经济、深海科技等新兴产业安全健康发展”。这是深海科技首次写入国家层面的《政府工作报告》。受此消息刺激,A股市场上的深海科技概念股在最近3个交易日连续掀起股价涨停潮,尤其是东方海洋(002086)、巨力索具(002342)、海洋王(002724)、神开股份(002278)这几只深海科技概念股的领涨品种,其股价均已经是连续3个交易日涨停,而且在今天均是清一色的“一”字板涨停。
此次“深海科技”首次被写入政府工作报告,业内人士普遍认为,这标志着我国从“海洋大国”向“海洋强国”加速转型。未来,围绕该领域有望出台专项支持政策,推动技术攻关与产业链协同发展。
深海通常指水深超过200米的海域,阳光无法照射到,具有高压、低温、黑暗、地质复杂等特点。这片人类罕至的地方不仅矿产资源丰富,还蕴含丰富的渔业、油气等资源,开发价值巨大。
深海经济正是以深海资源开发与科技应用为核心的经济形态,涵盖矿产、能源、生物资源开发及配套装备制造、技术服务等领域。深海科技则指用于探索、开发和利用深海资源以及研究深海环境的一系列先进技术和相关学科,它涵盖了多个领域,包括深海探测技术、深海资源开发技术、深海通信与导航技术及深海工程技术。
事实上,从深海科技领域的技术突破来看,我国已从科研探索到产业化跃迁。
以装备技术为例,我国已实现多项全球领先成果,如“奋斗者”号载人潜水器(10909米下潜深度)、“蓝鲸”系列超深水钻井平台(刷新全球作业纪录)、“蛟龙”号载人潜水器首次突破7000米深度、“梦想号”大洋钻探船(11000米钻深能力)等,核心设备国产化率显著提升。
AI融合方面,智能算法提升深海数据处理效率,AI驱动的仿生机器人、自主式水下航行器(AUV)逐步替代传统作业方式,通信与定位精度大幅优化等。
海洋新基建方面,海底数据中心(IDC)节能方案、漂浮式风电平台(如明阳智能“明阳天成号”)等技术应用逐步落地。产业链生态初步成型。当前已形成覆盖探测、装备制造、资源开发、生态保护的全产业链布局。
接下来较有开发潜力的领域主要包括:深海油气资源的勘探与开发、可燃冰的勘探与开发,以及深海矿产资源的勘探与开发。
我国《政府工作报告》明确提出支持深海科技安全健康发展,同时“溟渊计划”等国家级科研项目也不断落地。2025年2月24日,自然资源部发布《2024年中国海洋经济统计公报》,《公报》显示,2024年我国海洋经济总量再上新台阶,首次突破10万亿。2024年,海洋经济呈现强劲发展势头,达到105438亿元,比上年增长5.9%,拉动国民经济增长0.4个百分点。
在这其中,深海科技作为核心驱动力,不仅推动了海洋经济的快速增长,更为未来经济增长提供了重要引擎。在政策红利、技术突破与资源需求的三重驱动下,深海科技无疑是2025年确定性极高的战略赛道。
刚刚公布的政府工作报告明确提出支持深海科技安全健康发展,并配套实施“溟渊计划”等国家级科研项目,推动深海探测、资源开发、装备制造全产业链协同发展。政策端持续加码,为深海装备研发、深海通信网络建设等关键领域提供了明确方向,加速技术成果转化和产业规模化落地。
可见,深海科技作为海洋经济的战略支点,正通过政策扶持、技术攻坚和AI赋能开启新增长周期。随着10万亿级市场的持续扩容,这一领域将成为我国培育新质生产力、建设海洋强国的重要抓手。
在这样的大背景下,深海科技概念股已经一跃成为当前A股市场最为火爆的热点风口!从下图我们可以发现,有多只深海科技概念股相关上市公司在近3个交易日的股价累计涨幅非常突出:
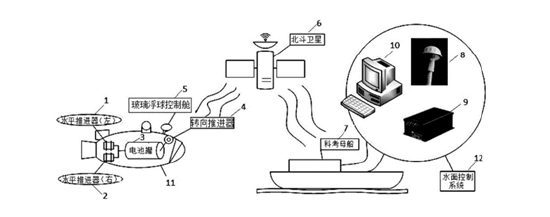
业内人士表示,全深海无人潜水器自主回收技术对于我国深海科技领域的战略意义非常关键。 如前所述,专业人士认为,应重点关注那些拥有深海科技领域核心技术的上市公司。根据兴业证券最新发布的研究报告,无人潜航器(Unmanned Underwater Vehicle,UUV)是一种无人驾驶、通过自主控制或遥控方式在水下航行、可代替潜水员或小型潜艇执行深海探测、救生、侦察、排雷等高危险性水下任务的智能化系统。UUV 具有效费比高、隐身性能好、作战用途广和智能程度高等优势。
据《水下机器人应用及展望》,可将 UUV 分为自主水下航行器(Autonomous Underwater Vehicle,AUV)和遥控水下航行器(Remotely Operated Vehicle,ROV)2 类。其中 AUV 自带能源自主航行,可执行大范围探测任务,但作业时间、数据实时性、作业能力有限。ROV 依靠脐带电缆提供动力,水下作业时间长、数据实时,作业能力较强,但作业范围有限。
近年来发展的混合式水下机器人-自主/遥控水下机器人(Autonomous & Remotely Operated Vehicle,ARV)结合了 AUV 和 ROV 的优点,自带能源,通过光纤微缆实现数据实时传输,既可实现较大范围探测,又可实现水下定点精细观测及轻作业。ARV 是信息型 AUV 向作业型 AUV 发展过程中的出现新型水下机器人。
值得关注的是,由于全海深探测无人潜艇自身的无人属性,在面对突发事件或者紧急情况的时候,它的反应能力是完全不及普通的有人驾驶深海潜艇的,而作为一种一旦下降就需要在海底呆上十几个小时甚至好几天的潜水设备,在这些全海深探测机器人完成其探测作业,重新上浮到海面上的时候,其水面的天气状况,对于这些机器人来说实际上是不可预知的。
这意味着海洋探测船在对这些全海深无人潜水器进行回收的时候,其所处的环境并不一定是和风细雨的海洋表面,而很有可能是狂风暴雨,或者大浪滔天,而在全海深无人潜水器并不擅长应对突发事件的这一系列条目当中,就包括了在恶劣环境当中重新登上考察船的部分:这些全海深无人潜水器所装备的推进器,可并不包括让他们在海面边沿执行快速机动的能力,倘若遇上风高浪急,又必须被迫执行强行回收任务的情况,上浮的全海深无人潜水器很可能会被汹涌的海浪直接冲向考察船的推进系统,从而造成机毁船伤的可怕局面。
由此可见,全海深无人潜水器的自主回收设备装置,才会对全海深无人潜水器如此重要:相比于波涛汹涌的海面和浅水区,船底下方的中等深度海域可是要平静得多,哪怕是全海深无人潜水器人所装备的,能确保其以平均4节速度前进的低速推进器也能确保全海深无人潜水器在这一深度下的航行稳定,倘若在这个深度下完成全海深无人潜水器与考察船之间的固定作业,那么,在通过门式起重装置对无人潜艇进行回收的时候,就无需担心汹涌的波涛对无人潜艇和考察船的推进系统造成威胁了。
可见,全海深无人潜水器的自主回收设备装置能够允许考察船在相对恶劣的海况下对其搭载的无人潜艇,又或者是大中型深潜机器人进行释放和回收作业,并有效提高我国对本国海域和海底下方资源的探测能力,并让我国能在更短的时间内,将本国领海范围内的各种海底生物、矿产和油气资源全部发掘出来。
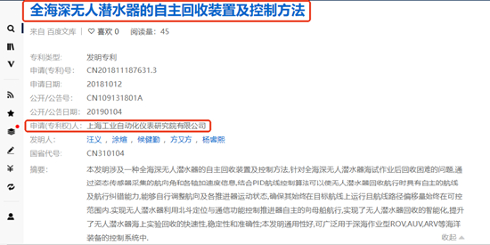
显然,全深海无人潜水器的自主回收设备装置对于我国深海科技领域的战略意义或是非常关键的。由此,自主开发了全海深无人潜水器的自主回收装置并拥有相关专利技术的飞乐音响未来将迎来如何机遇呢?
公开资料显示,飞乐的全资子公司上海工业自动化仪表研究院有限公司创建于1956年10月,系原机械工业部直属的行业归口科研机构,是专业从事工业自动化仪表产品和生产过程自控系统研究、开发、生产、应用和试验的综合性科研院所,提供自动化领域专业技术服务的高新技术企业。
公开资料显示,上海工业自动化仪表研究院有限公司早在2019年就申请通过了“全海深无人潜水器的自主回收装置及控制方法”相关发明专利。
根据相关介绍,“全海深无人潜水器的自主回收装置及控制方法”发明专利涉及一种全海深无人潜水器的自主回收装置,针对全海深无人潜水器海试作业后回收困难的问题,通过姿态传感器采集的航向角和各轴加速度信息,利用北斗卫星传输通信,可以使无人潜水器回收航行时具有自主的航线及航行纠错能力,能够自行调整航向及各推进器运动状态,确保其始终在目标航线上运行且航线路径偏移量始终在可控范围内。实现无人潜水器利用北斗定位与通信功能控制推进器自主的向母船航行,实现了无人潜水器回收的智能化,提升了无人潜水器海上实验回收的快速性、稳定性和准确性;本发明通用性好,可广泛用于深海作业型ROV、AUV、ARV等海洋装备的控制系统中。