新浪科技

奔驰金融拟注册280亿ABS,21年上半年零售业务余额837亿

蓝鲸财经

关注

1月13日,梅赛德斯-奔驰汽车金融有限公司(下称 “奔驰汽车金融”)关于 “速利银丰中国”系列个人汽车抵押贷款支持证券的注册申请书公开。奔驰金融拟申请注册280亿个人车抵贷ABS,预计分3到4期发行。

截至2021年第二季度末,奔驰金融零售业务未偿贷款本金余额837.79亿元。报告称,2021年第二季度,奔驰金融净收入14.99亿元,未明确是否为上半年全部收入,声明数据未经审计,金额超过2018年全年净利润。据此前披露,2020年,奔驰汽车金融营业收入41亿元,同比增加约1.9%;净利润录得18亿元,同比降16%。

奔驰汽车金融的主要收入构成包括利息净收入,占比连年超过90%。据奔驰汽车金融方面称,2020年9月,其应银保监会的监管要求以及处于对于资产风险的审慎考虑提高了计提资产减值损失的比率,导致营业利润下降。

2021年12月,北京银保监局发布行政处罚信息,奔驰汽车金融因发生核心业务系统中断暴露出业务连续性管理不到位、严重违反审慎经营规则,被处以40万元罚款。2019年,奔驰汽车金融曾因对外包活动管理存在严重不足被罚。

奔驰汽车金融在2005年成立,给包括梅赛德斯-奔驰和smart品牌乘用车、戴姆勒商用车客户和经销商提供金融服务,涉及金融贷款标准产品、金融贷款限时专案产品及二手车或展品车金融贷款产品。

2019年,奔驰曾陷西安车主维权投诉金融服务费的风波。除车本身的问题外,该车主称在不知情的情况下被开通奔驰金融,并被迫交了1.5万元左右的金融服务费。奔驰曾表示将对相关经销商展开调查,暂停其资质,车主与相关授权经销商达成了谅解共识。中消协曾对事件提出意见,包括汽车销售金融服务等应明码标价,杜绝强制交易等违法行为。

用户分期买车成“租车”,原太原奔驰4S店失信

戴姆勒大中华区投资有限公司还与北京汽车股份有限公司合资成立梅赛德斯-奔驰租赁有限公司涉足租赁业务。奔驰租赁主要涉及融资租赁合同纠纷,用户以售后回租模式购车,把所有权转让给融资租赁公司来获得资金。

2021年5月,在黑猫投诉平台,有匿名投诉信息称,其在山西长久之星奔驰有限公司购买了车辆,听闻销售人员表示按揭买车利息低先息后本后选择30%首付按揭买车,以为办理了“汽车分期消费金融”。在一年后方知悉是在奔驰租赁购车。以融资租赁方式购车,车辆所有权人为奔驰租赁。

有裁判文书显示,用户主张融资租赁实为借贷,应是民间借贷关系;亦有用户表示,原本可以全款买车,但被告知每月支付900元利息更划算,并未知悉租车事宜,以为每月支付的是利息并非租金。与此前投诉信息类似,用户对于售后回租融资租赁购车情况疑未完全知情。值得注意的是,从法院文书看,双方都签署了融资租赁合同。

法院明确,用户与奔驰租赁签订了融资租赁以及抵押合同,符合售后回租模式的融资租赁合同关系,用户需按合同履行。

此外,有裁判文书显示,若用户违约,奔驰租赁收取还款金额总额的15%的违约金。根据奔驰租赁官网,融资租赁逾期付款违约金为逾期付款额的0.05%乘以天数。另有判决案例提到,奔驰公司要求支付的融资费用加上滞纳金,总融资费率超过24%的年化利率,超过部分未被法院支持。

通常,以融资租赁模式购车,首付低于汽车贷款,部分为零首付。融资租赁和消费分期资金成本存在差异。

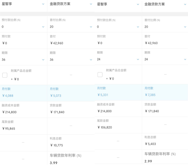
根据奔驰金融旗下公众号,“星智享”目前由奔驰租赁提供服务,“金融贷款方案”由奔驰汽车金融提供服务,同样购买A180L轿车,“星智享”24期预付款为0,月付款5331元,尾款金额10.6万元;金融贷款方案首付20%即4.296万元,贷款年利率2.99%,月付款7385元。总体而言,同样两年付清,奔驰租赁方案总额23万余元,奔驰金融访问22万余元,厂商建议零售价21.48万元。

以36期算,“星智享”月付4088元,尾款95865元;“金融贷款方案”首付42960元,每月还款5073元,总体成本分别为24.3万元和22.5万元。融资金额不同分别为21.48万元和17.18万元,若尾款和最后一期租金同时支付,奔驰租赁和奔驰金融24期方案的年化IRR分别为6.08%和2.99%;36期方案的年化IRR分别为5.9%和3.99%。

值得注意的是,上述投诉信息提到,其原本在山西天健之星汽车销售服务有限公司(下称 “山西天健之星”)奔驰4S店购车,一年后由山西长久之星奔驰有限公司承接业务,被告知因公司变更,其原本预缴的次年的车险未能在到期时立即续缴。

中国执行信息公开网显示,山西天健之星目前已被列为失信被执行人,同时被限制消费。2020年,天健之星法人贺英奎曾被河津市警方列为在逃犯罪嫌疑人。

尽管投诉称两家4S店员工老板一致,从工商关联来看,两家销售公司并无直接股权关联。原门店广告语更换为“长久之星”,在2020年,长久之星门店总经理曾对外表示,双方无关。除西安奔驰4S店事件,佳木斯利星汽车有限公司也曾因金融服务费问题被用户起诉。

加载中...