历经一年过渡期,首批支付牌照续展结果出炉。
7月4日,央行发布了非银行支付机构《支付业务许可证》续展(换证)公示信息(2025年7月第一批次),共计13家支付机构成功续展,支付牌照有效期限变更为“长期”;6家机构暂未获得续展,涉及多种情形,比如,广州合利宝支付科技有限公司支付牌照被中止续展;人保支付科技(重庆)有限公司等在牌照有效期内主动申请退出。
事实上,此次续展涉及的是原定去年7月9日到期的第七批支付牌照。考虑到《非银行支付机构监督管理条例》(以下简称“《条例》”)及其实施细则在去年相继落地实施,为给予此批支付机构充足准备时间,央行特别设置12个月过渡期。
13家支付机构成功续展,
抖音等获长期许可
7月4日,央行公布了2025年7月第一批《支付业务许可证》续展公示结果,此次为我国支付行业监管政策调整后的首次牌照续展。
根据公示信息,此次共有13家支付机构成功续展,其支付牌照有效期限变更为长期,标志着支付行业监管进入全新阶段。
续展成功的机构包括资和信电子支付有限公司、易宝支付有限公司、山东运达支付有限公司、抖音支付科技有限公司、云汇支付(广州)有限公司、广州市汇聚支付电子科技有限公司、石基支付科技(广西)有限公司、乐刷支付科技有限公司、花瓣支付(深圳)有限公司、邦付宝支付科技有限公司、北京理房通支付科技有限公司、北京畅捷通支付技术有限公司、深圳市盛迪嘉支付股份有限公司。
来源:央行去年7月,央行官网披露,16家支付公司获批过渡期版本的牌照,过渡期至2025年7月9日。经过一年整改,上述13家机构成功转正。
博通分析金融行业资深分析师王蓬博指出,此次是监管机构落实《条例》要求的重要体现,标志着监管思路向备案制转变。此种转变有利于打破行业周期性续牌压力,为机构长效经营与战略布局注入稳定预期。
此外,许可内容方面,上述机构也早已根据《条例》要求进行更改。比如,《条例》要求,原《非金融机构支付服务管理办法》规定的互联网支付,或者同时开展原《非金融机构支付服务管理办法》规定的互联网支付和移动电话支付(固定电话支付、数字电视支付)的,归入储值账户运营Ⅰ类。支付业务许可证登记的业务类型对应调整为储值账户运营Ⅰ类。
原《非金融机构支付服务管理办法》规定的预付卡发行与受理、预付卡受理归入储值账户运营Ⅱ类,经营地域范围不变。支付业务许可证登记的业务类型对应调整为储值账户运营Ⅱ类(经营地域范围)、储值账户运营Ⅱ类(仅限于线上实名支付账户充值)、储值账户运营Ⅱ类(仅限于经营地域范围预付卡受理)。
值得一提的是,支付机构若要成功续牌需达标监管要求,实施至今,已有不少机构进行了部分调整。
比如,去年12月,山东运达支付有限公司新增主要股东山东融邦软件技术有限公司,注册资本增加至1亿元;今年1月,乐刷支付科技有限公司增加注册资本至2亿元;深圳市盛迪嘉支付股份有限公司增加注册资本至2.2亿元,同时还进行了部分董事、监事成员变更。此外,另有部分支付机构进行了更名,在公司名字上添加“支付”字样。
合利宝支付牌照被中止续展,
人保支付等主动申请“退场”
在13家机构获得长期支付牌照的同时,6家机构暂未获得续展,其中涉及多种情形。
具体来看,因存在《中国人民银行行政许可实施办法》第二十四条规定的情形,央行决定中止对广州合利宝支付科技有限公司《支付业务许可证》续展申请的审查;因存在《中国人民银行行政许可实施办法》第十七条第一款第二项规定,央行决定对广东粤通宝电子商务有限公司《支付业务许可证》续展申请不予受理。
此外,瑞银信支付技术有限公司、金运通网络支付股份有限公司未提交《支付业务许可证》有效期续展申请,不再续展。
山东飞银支付信息科技有限公司、人保支付科技(重庆)有限公司在《支付业务许可证》有效期内已申请主动退出。
王蓬博指出,从未续展成功的机构中可以看出,行业继续优胜劣汰,稳步向前。在未续展机构中,既有人保支付因集团战略调整,主动剥离支付业务聚焦金融主业;也有瑞银信因为累积的历史性合规压力,叠加市场竞争加剧,主动退出。整体来看,不合规经营、业务竞争力不足与战略调整,成为机构离场主因,此也凸显监管对行业“优胜劣汰”的筛选作用。
人保支付科技(重庆)有限公司是最近一家正式注销支付牌照的公司,注销时间为今年7月1日。
此张牌照是进入2025年后,央行注销的第7张支付牌照,亦是截至目前央行累计注销的第103张支付牌照。
天眼查显示,人保支付科技(重庆)有限公司原名为重庆联付通网络结算科技有限责任公司,成立于2012年,法定代表人为吴威。从股权结构看,人保支付的控股股东为人保金融服务有限公司,而此公司的第一大股东则是中国人民保险集团股份有限公司,持股比例超70%。
值得注意的是,人保金融服务有限公司此前因未按规定提交年度报告信息而被列入企业经营异常名录,列入时间为今年7月1日。
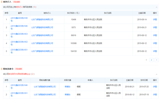
来源:天眼查除了上述公司,今年4月,山东飞银支付信息科技有限公司支付牌照被注销。
天眼查显示,该公司原名为山东飞银智能科技有限公司,成立于2011年,法定代表人是韩福玲。股权结构方面,其第一大股东为辅仁科技控股(北京)集团股份有限公司,持股比例90%;第二大股东、第三大股东分别是青岛鲁商传媒有限公司、青岛华成工程物资有限公司。
据天眼查,山东飞银支付信息科技有限公司在更名前,有九条被执行人高风险信息。此外,另有两条被法院列为限制高消费企业的相关信息。
来源:天眼查而其大股东辅仁科技控股(北京)集团股份有限公司,更是最高人民法院所公示的失信公司,同时存在被执行人等高风险信息。
来源:天眼查年内已注销7张支付牌照,
另有多家机构收千万级罚单
今年以来,业内已有7家支付机构注销支付牌照。其中,今年1月注销支付牌照的是得仕股份有限公司、中汇电子支付有限公司、汇明商务服务有限公司;3月是上海银生宝电子支付服务有限公司;4月是山东飞银支付信息科技有限公司;5月是上海润通实业投资有限公司;7月是人保支付科技(重庆)有限公司。
来源:央行至此,央行注销的支付牌照数量累计达到103张。
从支付牌照注销时间和数量看,2022年注销量达到巅峰,当年共计23家支付机构牌照“消失”;其次是2017年,共计19家支付牌照被注销;2023年,央行共计注销16张支付牌照,而去年注销的牌照数量达10张。
值得一提的是,2019年央行注销支付牌照的数量最少,仅有一家,为新疆一卡通商务服务有限公司。
当前,支付牌照“只减不增”,据统计,当前数量已从此前最高峰时期的271张缩减至168张。
事实上,今年以来,监管部门对支付机构的严监管态势不减,已有多家支付机构收到监管罚单。
从大额罚单看,年内已有多家机构被罚没超千万元。其中,1月,北京雅酷时空信息交换技术有限公司因存在8项违规行为被罚没共计1199.237089万元;3月,广州市汇聚支付电子科技有限公司因违反特约商户管理规定、违反支付账户管理规定等被监管罚没共计1061万元;6月,汇元银通因存在6项违法行为被罚没共计2431.42万元。
此外,另有部分银行领到百万级罚单。比如,联通支付因存在未能确保交易信息真实、完整、可追溯、未严格落实开户实名制、违规进行非同名划转等6项违规行为,被警告,罚没约为164.90万元。
中付支付因违反机构管理规定被监管部门警告、通报批评,罚款200万元。

