新浪财经 保险

2025年《财富》中国500强排行榜出炉:10家保险公司上榜 中国人寿排名第12

金融一线

关注

7月22日金融一线消息,财富中文网于今日发布了2025年《财富》中国500强排行榜。该榜单采用与《财富》世界500强一脉相承的制榜方法,同时包括了上市和非上市企业。

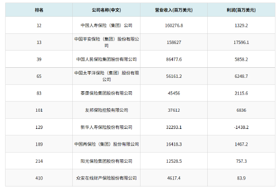
在2025年《财富》中国500强排行榜中,共有10家保险公司上榜,分别是:中国人寿保险(集团)公司(第12位)、中国平安保险(集团)股份有限公司(第13位)、中国人民保险集团股份有限公司(第39位)、中国太平洋保险(集团)股份有限公司(第65位)、泰康保险集团股份有限公司(第83位)、友邦保险控股有限公司(第101位)、新华人寿保险股份有限公司(第129位)、中国再保险(集团)股份有限公司(第189位)、阳光保险集团股份有限公司(第214位)、众安在线财产保险股份有限公司(第410位)。

加载中...