新浪财经 保险

“筹人”相见分外眼红 水滴筹员工因地推殴打同行被行拘

新浪财经综合

关注

原标题:“筹人”相见分外眼红 水滴筹员工因地推殴打同行被行拘

来源:财经女记者部落

扫楼地推后,水滴筹又上了热搜,不过这次是因为打人……

4月15日,一段视频在微博刷屏,视频中,一穿蓝色上衣的男子躺倒在地上,一黑衣男子用脚揣其头部和颈部,一女子在旁边喊道:“水滴筹打人了”。

由此引发水滴筹与轻松筹相互回应,互相指责、攻讦,新一轮的口水战升级。

15日下午,水滴筹回应称,经调查,网传视频并不全面,此事系因轻松筹员工言语威胁和污蔑导致双方产生肢体冲突和斗殴。轻松筹方面则硬刚:“保护员工,绝不向恶势力低头!”

截止发稿之际,轻松筹相关人士向小财女提供了一份公安局行政处罚决定书,石家庄市公安裕华分局对于水滴筹李姓员工行政拘留十二日,并处以500元罚款。

水滴筹轻松“揍”,双方各执一词

这场关于水滴筹员工殴打轻松筹员工的罗生门事件要从4月13日说起,当日在河北省医科大学第一医院,身穿黑衣的水滴筹员工用脚踢倒在地上的轻松筹员工。

轻松筹公关人士向小财女确认了上述事实,称目前正在等待警方进一步调查,将及时公布。

随后,4月15日水滴筹方面发布声明,此事系因轻松筹员工言语威胁和污蔑导致双方产生肢体冲突和斗殴。目前当事员工正在当地派出所接受调解,水滴筹将尊重和配合警方的处理决定,我们也为我们员工个人的鲁莽行为表示歉意。”

小财女扒了扒,殴打事情很清楚,不过双方的分歧在于冲突的原因。有当时现场网友爆料的是,水滴筹工作人员与轻松筹工作人员因“扫楼扫病房劝病人立项,碰到对手抢生意”而发生肢体冲突,引发殴打事件。

不过,水滴筹的回应中则归因于轻松筹员工言语威胁和污蔑。

另一方面,轻松筹方面也很快做出了回应,坚决保护员工,不向恶势力低头,并附上了长图证据。

轻松筹回应后,殴打事件呈现罗生门的意思,二者各执一词,不过分歧与冲突却是进一步升级。梳理一下其回应:

1.水滴筹员工“致残式”袭击,造成严重伤害,“一万点暴击”,体会一下;

2.扫楼被举报,殴打“嫌疑人”,轻松筹表示“无辜”受害;

3.与水滴筹针锋相对,轻松筹爆料水滴筹人员对其员工进行恐吓,挑衅。

这里,小财女只想说“同行是冤家”,筹人相见,分外眼红啊!为了将公益进行到底,不惜大打出手,真是热情到不行。

地推扫楼后,水滴筹又陷地推冲突?

小财女注意到,轻松筹声明中爆了猛料,水滴筹多次殴打同行,号召行业向“善”。扒了扒,还真有一些各大平台抢单,甚至大打出手的报道。

2019年10月26日,爱心筹西安地区负责人杨东在医院帮患者处理问题时,被水滴筹人员拉到医院门外的街道上打了一顿。两天后,又一位爱心筹志愿者被打。

一位水滴筹前地推人员小伍向下财女确认了相关打人事件,随着公司的扩张,为了达到占有市场的目的,各大平台的之间确实存在一些“抢地盘”的现象。不过,总体来说,打人事件还是占少数的,主要是线下一些负责人做法有点极端,急功近利导致。

小伍透露,他和一些同事其实特别喜欢做一些公益的事情,平台待遇也不错。有些时候还能得到家属的锦旗与感谢。但是后来,所属区域换了新领导,大家压力比较大,天天在医院推广,那种环境很压抑,有时还有一些极端行为,这些背离了自己的初衷。

事实上,这次殴打事件的背后还是地推事件诱发的冲突,而此前水滴筹深陷地推漩涡。

2019年12月,一段梨视频拍摄的卧底“水滴筹”视频曝光,引发了巨大关注。

“水滴筹”大量招募地推人员,在超过40个城市的医院派驻,他们自称“志愿者”,逐个病房引导患者发起筹款,进行地毯式扫楼,基本一下午扫大半个医院。挨病床问病人困不困难,需不需要筹款帮助。

志愿者学历不限,简单培训即可上岗,一套筹款模板复制感人催泪的故事,换来源源不断的捐款,地推人员月收入轻松上万。

扫楼事件一经曝光后,水滴筹声称,此事是个别线下人员的违规现象,全面暂停线下服务,彻查违规行为。同时,水滴筹调整了绩效管理方式,从服务患者人数调整为项目最终过审合格率。

这里,小财女有点疑问,水滴筹方面全面暂停线下业务,不知道什么时候开始恢复了。而本次水滴筹员工殴打事件中,线下服务团队是否又重操旧业,开启了疯狂地地推,以至于与同行产生巨大冲突呢?对此,小财女联系水滴筹方面,目前未得到回应。

创始人曾是美团联合创始人,自称非慈善机构

在去年水滴筹深陷地推扫楼的巨大争议时,水滴筹创始人沈鹏发布公开信《水滴筹欢迎大众的监督,希望重新赢得信任》,并声明水滴筹不是慈善公益组织。

公开资料显示,水滴筹创始人沈鹏,毕业于中央财经大学、清华大学,2019年入读湖畔大学五期班。2010年,沈鹏加入美团创业团队,成为第10号员工,先后担任多个重要岗位。2013年,沈鹏以美团外卖联合创始人的身份参与创建美团外卖,并担任全国业务团队负责人。

2016年4月,沈鹏离开美团点评,创立了水滴公司。三个月后,水滴公司上线个人大病求助社交筹款业务,水滴筹诞生。水滴筹负责人是徐憾憾。

天眼查显示,沈鹏旗下有25家公司,其中天津水滴筹科技有限公司、天津水滴保科技合伙企业(有限合伙)已经注销。

水滴互助运营主体是北京纵情向前科技有限公司,成立于2013年,注册资本是1亿,不过实缴资本仅为132.70万,沈鹏个人持股99%。

2016年以来,水滴互助已经完成五轮融资,背后是腾讯投资、美团点评、真格基金、高榕资本、IDG资本、高榕资本等。2019年以来,水滴互助完成腾讯投资领投的B轮融资、博裕资本领投的C轮融资,累计融资15亿。

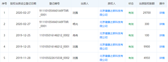
不过,与融资相对应的是,2019年以来,创新工场、真格基金、蓝驰等多家资本退出水滴筹股东名单,而沈鹏与冉伟多次出质股权,质权人为北京健康之家。

加载中...