新浪财经 保险

两年没发偿付能力报告 百年人寿董事人员全换了

市场资讯 2025.06.05 16:45

来源:银瑞社

在百年人寿官方公众号上,董事长王新浩发布了16周年司庆寄语。

其提及,2025年前五个月,公司业务价值明显提升,个人业务达成同比大幅增长,财富顾问提前实现全年价值和规模双达成,并超额达成规模保费年度挑战目标。

所有分公司的个人业务累计达成均实现同比增长,江西分公司一季度的个人业务达成即超越去年全年;清收挽损大幅推进,即将完成全年基础计划目标。此外,客经、产服体系全面发力,“百晓升”APP全新上线,“心无忧”增值服务初见成效。

王新浩表达公司业务持续增长,江西分公司的业绩被单独拎出来强调。去年6月,百年人寿江西分公司负责人才刚刚更换,付东伟接替孔俊峰

于此,王新浩对全体员工给出了三点寄语:认清大势,在风浪中看见灯塔客户经营,用智慧重塑温度未来已来,做三个永不停歇的追光者

他强调,要做百年老店,首先必须做到创新永不停歇,这不是选择题,而是生存题。

在第一大股东更换一年以后,百年人寿内部发展情况备受市场关注。

去年5月,百年人寿股权结构洗牌,国资大连金运持有百年人寿11.51%股权,成为第一大股东,原第一大股东大连万达则退居第二位。

到了今年1月,经监管部门核准,百年人寿注册资本由77.948亿元变更为79.048亿元,已办理完成工商营业执照变更工作。

百年人寿有了更多的动作。

其中包括与美世教育达成战略合作、跟华大集团签署战略合作协议,还与昆仑信托签署合作协议。

5月,百年人寿百万精英俱乐部首届巅峰论坛暨百晓升APP上线发布仪式也成功举办。百年人寿寄希望于转型升级,其与华为举办核心系统上云联合启动仪式,以期实现业界第一家全面上云的保险公司。

这与核心高管的工作经验相吻合。在大股东落实以后,百年人寿高管团队也随之调整。

20246月,戴文浩担任百年人寿董事、总经理的资格获批。戴文浩是“IT”出身早期在太保长期任职分公司以及总公司的信息技术部,此后才担任省级分公司总经理、太保寿险副总经理,曾分管太保寿险最为核心的个险业务,设计和推动了太保寿险个险的OMO模式,即数字个险

戴文浩正式成为“二把手”这一年,百年人寿个人业务、数字转型均在不断推进。

与此同时,百年人寿的人事变动也未曾停止。

在众多的活动当中,瑞财经发现,出席的领导层包括百年人寿拟任副总裁冯金涛。早于今年2月,海尔资本共创方上海细胞与百年人寿达成战略合作时,冯金涛便已经以新身份亮相。

不过,官网仍未更新冯金涛的简历资料。

20253月,百年人寿新晋的高管为陆欣监管已核准陆欣担任百年人寿总裁助理的任职资格其还兼任百年人寿首席风险官。

资料显示,陆欣历任工商银行上海市分行信贷管理部业务经理、广发银行上海分行信贷审查部信贷审查科长、平安资产管理风险管理部执行总经理,平安养老保险风险管理部副总经理(主持工作),百年人寿风险管理部总经理。

回顾去年底,百年人寿进行了一场董事会换届。

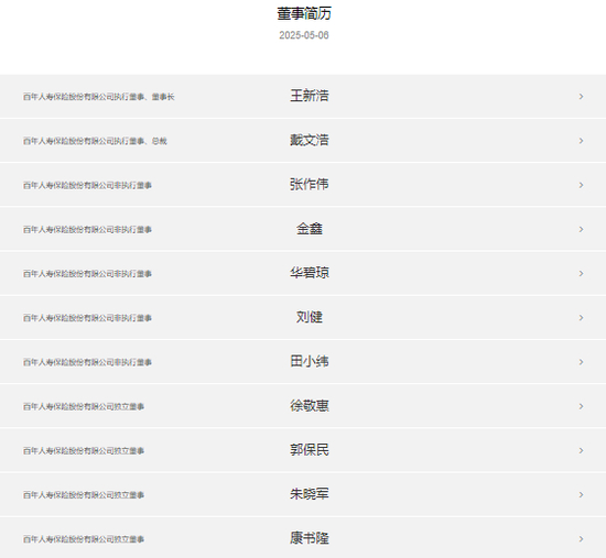
张作伟、金鑫、华碧琼、刘健、田小纬担任公司董事郭保民、朱晓军、康书隆担任公司独立董事。吴晓黎、张永捷、叶青、黄力不再担任公司董事王祖温、王志宇、王选鹤不再担任公司独立董事。

百年人寿公司董事会累计变更人数已超过董事会成员人数的三分之一。

从官网来看,百年人寿自2023年一季度以后,便未再公开偿付能力报告,至今已有两年时间。

根据百年人寿2023年一季度偿付能力报告,里面披露董事包括刘朝晖、吴晓藜、周晓光、张永捷、叶青、黄力等10名人员。

对比当前官网披露的董事人员,基本算是全员更换。官网显示,百年人寿董事包括王新浩、戴文浩、张作伟、金鑫、华碧琼、刘健、田小纬等11名人员。

新的管理团队,仍需要应对百年人寿遗留下的各种问题。

作为东北地区首家中资寿险法人机构百年人寿成立于200963日,总部位于大连。一开始通过增资发展,更在2015万达入主成为百年人寿的第一大股东以后,发展快速。

数据显示,2015-2021年,百年人寿累计盈利高达29亿元。

2022年,百年人寿业绩发生变动,净亏损高达27.1亿元。到了2023年第一季度,净亏损达到10.5亿元,净资产收益率-2106.87%

百年人寿的净资产还转为负数,2023年一季度达到-4.2亿元,陷入资不抵债

百年人寿的偿付能力尚不达标。百年人寿在2022年第3季度和2022年第4季度风险综合评级结果均为C类,原因在于公司治理方面存在操作风险保险公司要满足三个核心监管条件才能被认定为偿付能力达标,其中之一便是,风险综合评级需为B类及以上。

除此之外,百年人寿还面临着股东质押、关联交易、投诉、行政处罚等风险。

截至2023年一季度,百年人寿17位股东中有高达10位股东的股权被质押或冻结,涉及股份总数50.69亿股,公司全部股份六成以上

天眼查显示,万达已经成了被执行人,被执行总金额高达74.2亿元。

前不久,百年人寿在官网发布了一则关于历史上关联交易情况的公告,但随之撤销。根据披露的信息,201112-202012月,百年人寿历史关联交易一共涉及30个项目,累计关联交易金额超过281亿,尚未退出余额84.3453亿。

其中,涉及万达旗下公司关联交易金额为112亿,占全部关联交易金额40%,剩余金额为46.22亿,占全部余额的55%。另外,关联交易的公司还包括江西恒茂房地产、大连一方、苏宁电器集团、中国华建投资控股、科瑞集团、新光控股、大连国泰房地产等。

2023年,百年人寿发布过一则社会责任报告。期内,其累计结案14.97万件,给付理赔总额21.86亿元,公司内部统计共产生投诉案件171件,包括监管转办投诉案件及内部接收的全量投诉案件。

报告披露,2023年,百年人寿总资产实现2508.54亿元,原保险保费收入达成527.32亿元,其中,新单规模保费达成160.1亿元,期交新单规模保费占比为63.7%

截至20231231日,全系统内勤员工共计3900余人而上年度为4000余人,减少百余人。

至于行政处罚,今年4月,百年人寿下辖陕西分公司未按照《银行保险机构许可证管理办法》要求进行保险许可证更换,被处以警告并处0.5万元罚款。

加载中...