新浪财经 保险

信泰人寿九位人员遭免职,是国资出手救场,还是填补窟窿?

经理人杂志

关注

自2023年第三季度起,信泰人寿已连续六个季度未公开净利数据。因涉及股权争议,公司多次被监管处罚,其中七家原股东被列入重大违法违规名单。

至此,高管变动与职位空缺现象频现。继董监高经历“大换血”后,公司再次迎来一波人事大变动。

01

人事大变动

近日,据观潮财经独家获悉,信泰人寿内部上演了一场人事“大洗牌”,涉及多位高层管理人员,包括执行董事王君波、职工监事傅璟、副总经理李晨等等。此次变动共计9人卸任,7人职务变更。

这场人事“大洗牌”重点聚焦于部门负责人级别。

其中,财务总监王君波负责党务组织部及人力资源部的傅璟资产负债管理部的李晨、公司运营总监张旭虹、风险管理部的张静波、银保业务总监郑志明、经代业务总监高军、身兼个险业务总监与总经理的王晓明以及客户服务部的娄秋弟助理在内的九位核心人物被免职

此外,还有7人职务发生变更。

例如,原审计稽核部总经理李国辉调任至风险管理部担任相同职务;田波从党办公室、董事会办公室及办公室副主任(总经理级)转岗为客户服务部副总经理;原客户服务部总经理常亮则显示“另有安排”。

同时,华强成为客户服务部保全管理处高级经理,董雪任职于客户服务部综合管理处高级经理,季焱出任客户服务部消费者权益保护处经理,而周炜则调至客户服务部电话中心担任高级经理。

这是继去年7月董监高团队“大换血”后的又一次人事动作。

彼时,董事会成员人数近三分之一进行更替。经过浙江监管局核准任职后,任命吴斌、王君波、楚静、苑莉、翁国民、郭金龙、刘贤斐为第四届董事会董事,原第三届董事会董事谭宁等人不再担任公司董事。

值得注意的是,新任董事中,吴斌和王君波来自大股东物产中大集团,楚静和苑莉分别来自存款保险基金管理公司和中国保险保障基金公司,翁国民、郭金龙和刘贤斐为独立董事。此外,吴斌目前还担任公司党委书记。依据过往惯例,吴斌有望接棒成为信泰人寿的新任董事长。

除了董事会,监事也进行了调整。由此前的刘志猛、梅威、刘越,调整为来自物产中大的傅璟以及来自杭州萧山环境集团有限公司的劳明荣。

02

净利多季“空白”

最新偿付能力报告显示,截至2024年末,公司实现保险业务收入529.94亿元,同比下降1.11%。回顾过去,从2016年—2023年,分别实现保险业务收入28.21亿元、118.1亿元、73.90亿元、209.57亿元、454.51亿元、489.9亿元、483.36亿元、535.9亿元。

值得注意的是,信泰人寿自2023年第三季度起,已连续六个季度未在偿付能力报告中披露净利润情况。从2016年—2022年,公司分别实现净利润-4.92亿元、-7.59亿元、0.32亿元、0.35亿元、0.75亿元、1.02亿元和2.26亿元。虽然这几年实现了扭亏为盈,但增长乏力。

此外,公司还曾因偿付能力问题遭受监管处罚。2013年第三季度、第四季度公司的偿付能力充足率分别为108.79%、-185.96%,连续两次穿破红线,一度被发监管函。而由于第四季度的偿付能力严重不足,原中国保监会不仅下发监管函,并责令公司暂停开展任何新业务。

如今,偿付能力情况依旧“告急”。截至2024年第四季度,信泰人寿核心偿付能力充足率和综合偿付能力充足率分别为144%、153%,两项指标满足监管红线最低要求。

由于2019年万能险销售达峰后,2024年相关产品集中满期,导致现金流大幅流出。最新偿付能力报告显示,截至2024年第四季度,公司分红账户、万能账户业务净现金流分别为-45.32亿元、75.83亿元。

根据2019年的年报,公司保户投资款新增缴费的前三大产品均为万能险,合计保费高达85.2亿元,这一数字远超2018年和2020年的24.2亿元和34.7亿元。这表明2019年公司在万能险销售上达到了巅峰。特别是信泰金富贵两全保险(万能型)和信泰稳得利两全保险(万能型),这两款产品的保险期间均为5年,今年正是它们的到期年。

由于过去过度依赖高现金价值的产品销售策略,信泰人寿如今面临着巨大的满期兑付压力。为应对挑战,公司需加速向长期保障型产品的转型,以实现更加均衡的发展模式。

03

浙江国资入主

过去,公司凭借激进的产品和投资策略,保费规模高速增长,但隐患逐一显现。

成立以来,多次因股权代持、股东资金来源不合法被监管处罚。去年6月,国家金融监督管理总局公开第六批共18名重大违法违规股东名单。公布股东的违法违规行为主要包括:入股资金来源不符合监管规定;违规代持银行保险机构股权;隐瞒关联关系、一致行动关系;存在涉黑涉恶等犯罪行为。其中,有七名股东均涉及信泰人寿。

另外,监管局还发布了四份涉及信泰人寿股权转让的披露以及一份对原董事长邹平笙的行政处罚。而对于原董事长邹平笙的处罚更是“字少事大”。具体显示,邹平笙因股权转让许可申请中提供虚假材料,而撤销邹平笙任职资格,并禁止其终身进入保险业。

早在2014年,信泰人寿原副董事长兼总裁郑秋根因涉嫌违规挪用保险资金被捕,原董事长马佳也因此被撤职。

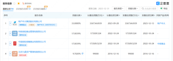
经过多年的股权与人事纷争,2023年终于迎来了新机。四家浙江国资企业以总计94亿元的投资,合计持有信泰人寿51%的股份,注册资本从50亿元增加至102.04亿元。其中,物产中大持股33%,成为第一大股东,其作为浙江省属大型国企,业务涵盖供应链服务、金融服务等多元领域,与保险业的协同效应显著。此外,存款保险基金和保险保障基金各持股17%。

这场股权变革,既是一次“救赎”,也是一场考验。对信泰人寿而言,浙江国资的入主既是背书,更是倒逼改革的契机。