新浪财经 保险

新华保险持续接盘王健林名下资产 已收购11家万达广场

澎湃新闻

关注

王健林继续旗下资产的出售计划,而新华保险也没有停下收购的脚步。

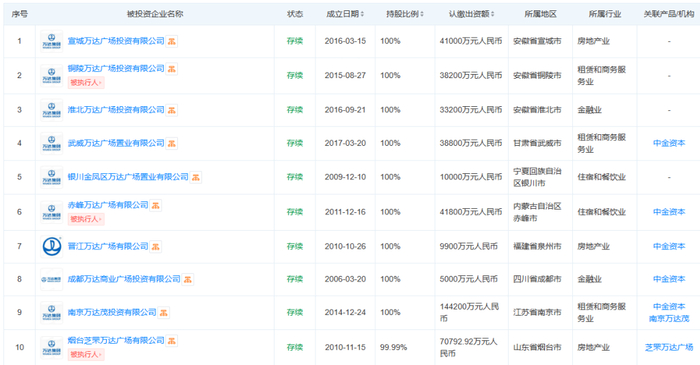
1月17日,据天眼查披露的信息,近期宣城万达广场投资有限公司和铜陵万达广场投资有限公司均出现了股东名单变化,新增控股股东坤华(天津)股权投资合伙企业(有限合伙),原股东大连万达商业管理集团股份有限公司退出。

股权穿透后的资料显示,坤华(天津)股权投资合伙企业(有限合伙)由新华人寿保险股份有限公司和中金资本运营有限公司持有,持股比例分别为99.9%和0.1%。

宣城万达广场投资有限公司注册成立于2016年3月15日,注册资本4.1亿元,公司经营范围为房屋租赁。

铜陵万达广场投资有限公司注册成立于2015年8月27日,注册资本3.82亿元,公司经营范围为房屋租赁。目前该公司为被执行人,执行法院为安徽省铜陵市中级人民法院,立案日期为2025年1月9日,执行标的约为20.89万元。

目前,新华保险已接手11家万达广场。

值得一提的是,除了险资新华保险之外,还有其他保险公司接手万达广场。从可查询的资料来看,阳光保险、大家保险和横琴人寿都曾先后接手了多处万达广场。

据澎湃新闻不完全统计,阳光保险已接手了上海金山万达广场、广州萝岗万达广场、合肥万达广场、太仓万达广场、湖州万达广场、东莞厚街万达广场。大家保险接手了上海松江万达广场、西宁万达广场、台山万达广场,和横琴人寿共同投资了上海周浦万达广场项目。

加载中...