新浪财经 保险

水滴被曝将在3个月内IPO “公益业务”是否该上市?

新浪财经

关注

来源:风云资本界

作者|余青

筹款、互助、卖保险,从公益起步的水滴公司,带着互联网基因将走向何方?

2月18日,界面新闻报道,北京纵情向前科技有限公司(下称“水滴公司”)将在未来一个季度内赴美IPO,最新估值已达百亿美元。

对此,野马财经就相关上市消息联系了水滴公司相关人士,对方表示“不予置评”。

然而,对于水滴公司的公益业务是否应该上市,市场上有不同看法。

找到互联网、保险结合点的“资本宠儿”

公开资料显示,水滴公司创立于2016年,是中国互联网健康保险保障头部平台。水滴保险商城与水滴互助组成了商业板块,水滴筹与水滴公益组成了社会责任板块,两大板块共同搭建起“事前保障+事后救助”的保险保障生态场景。

水滴公司的创始人是“美团第10号员工”沈鹏。沈鹏本身与保险挺有渊源,他于1987年出生在山东省沂蒙山的中国人民保险公司家属院,他父亲 1985 年就加入了中国人民保险公司,是中国第一批在三四五线城市卖保险的人。

沈鹏的第一份工作就是在大四加入美团成为一名实习生。他曾谈及,加入美团时虽然是第十个员工,但是一个一线的同事。他从美团的一线业务员开始做,后来同时兼职做过商服、客服,干了半年之后是天津分公司总经理,后来在加入美团一年左右的时间里,便成了北方大区经理。

2015年底,美团与大众点评合并,当时公司的配送员有十几万人,经常有一些年轻同事或家人得重病。沈鹏在帮同事号召筹钱时重新关注到保险市场,认为供给端可以变得更好。于是,在美团工作六年半后,沈鹏离开美团单独创业。

2016年4月,陈鹏创办水滴公司后,开始筹备水滴互助业务。水滴互助刚做了两个月势头非常好,公司紧接着就做了第二个业务水滴筹,做到一年之后,公司又启动了水滴保险商城。

与业务迅速扩展相应的,是融资方面的大捷。

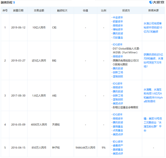
成立之初,水滴公司就获得850万元种子轮融资及4000万元天使轮融资,投资方包含美团点评、IDG资本、腾讯投资等明星资本。2019年3月,公司获得腾讯领投的B轮融资,融资达到近5亿元。2019年6月,公司又快速迎来超10亿元的C轮融资,由博裕资本领投,腾讯投资、中金资本等跟投。

(图片来源:天眼查)

腾讯投资与并购部董事总经理余海洋表示,从最开始就布局水滴,是因为他家找到了互联网和保险间的良好的结合点。其实无论是一开始的腾讯投资、IDG资本,还是博裕与中金,均看到了互联网保险行业发展的风口所在。

流量变现模式下的机遇与竞争

沈鹏在接受《商业与生活》采访时表示,“我们希望通过互助和筹,为保险业务打基础,所以前两年的发展重点并不在保险,那个时候水滴公司的财务报表上,基本上都是筹款的流水,都不是公司的收入。”

通过水滴筹、水滴互助获得的流量有多少呢?官网资料显示,截至2020年7月31日,水滴筹已为大病患者筹得近300亿救助款,累计超过3亿爱心人士给予帮助;水滴互助已为12510个会员划拨超过15.99亿元救助金。

(图片来源:水滴筹官网)

获得大量优质流量后,水滴公司设法转入保险业务大展身手。水滴公司2017年5月推出水滴保险商城后,逐渐引入众多保险行业的专业人士。2019年5月,试水长险销售;2019年9月,水滴公司完成对一家保险公估公司的认购,收入一张保险公估牌照。

官网显示,截至2020年7月,水滴保险商城与国内超过60家知名保险公司合作,推出超过80余款高性价比优质保险产品。累计保障用户数超1亿,保障家庭数近6000万,覆盖2988个市县,76%的用户来自三线及三线以下城市。2020年前两个季度年化签单保费近60亿元,接近2019全年年化签单保费金额。

36氪报道,沈鹏去年6月份透露,作为水滴公司最主要的收入板块,水滴保险商城2020年上半年每月的年化签单保费达到10亿元左右,这使得水滴公司在今年4月、5月实现了单月盈利。

但是,知名经济学家宋清辉分析,“水滴公司的运营模式简单,足够多的平台会员才能够降低运营风险。我认为,水滴公司的流量变现模式风险很高,巨额的推广费用砸下,也没有吸引到多少会员。在行业激烈竞争背景下,未来发展不容乐观。”

野马财经(微信公号:YMCJ8686)注意到, 2019年5月,苏宁上线宁互保;6月,360互助上线;7月,美团互助上线。沈鹏在2019 全球青年创业者大会曾感叹,“蚂蚁金服、滴滴、苏宁、美团等诸多公司都进入了互助领域。互助现在已经成为红海,竞争非常激烈,用户的获取成本已经变得非常高了。”

与此同时,众多流量巨头早在成立互助平台之前,就已经通过参股保险公司,或通过收购保险经纪及保险代理牌照参与相关业务。

“公益业务”是否该上市?

事实上,今年疫情的出现,也将刺激着线上保险的竞争。

据腾讯科技报道,2020年2月24日,水滴公司复工首日,水滴公司创始人兼CEO沈鹏在内部信中提出,疫情激发了人民群众的健康和保障意识,健康险行业会有一定程度的升温。但这也唤醒了更多传统保险巨头们加大投入,发力线上保险业务,水滴保险商城将会面临更为激烈的竞争。

他还表示,这次新冠疫情势必加剧各行各业的挑战,未来一段时间资本市场会变得更冷,要么加速实现公司盈利,要么在充满不确定性的情况下艰难地融资,否则只有倒下!

如此看来,在去年4月、5月实现了单月盈利,对才成立四年的水滴公司而言,似乎是个及时的好消息。

不过,众所周知,公益性质业务里的用户权益,可能会与股东的利益最大化之间产生矛盾。一直备受资本青睐的水滴公司是否该上市,市场上有着不同看法。

有人士认为,水滴公司借公益拥有了庞大的用户基数,保险费收入也可观,上市融资可以助其发展更快,所以上市是可能的。

知名经济学家宋清辉则称,“不看好水滴公司上市,目前市场上很多用户都对水滴公司抱有怀疑。若上市,对水滴筹、水滴互助这类公益业务及保险商城业务意义也不大,仅会给外界留下’圈钱’的不良印象。”

零壹研究院院长于百程向野马财经(微信公号:YMCJ8686)分析,目前国内尚未明确网络互助平台的监管主体和监管制度,但其业务具有一定的金融和保险属性,因此如果水滴公司寻求上市,目前看海外的可能性更大。

“如果把保险商城业务分拆出来上市也是一种方案,但其想象空间则有限,如果互助业务有变化,保险商城未来获客的持续性也受影响。”他补充道。

沈鹏谈及创业初衷时曾表示,2016年4月,在一间租来的办公室,面对不到十人的团队,他将“保障亿万家庭”的公司使命写在白板上。

“我们希望通过互联网的力量,汇聚广大人民群众的爱心,能够积小爱成大善,让互联网科技助推公益更简单。这是我们创业理念。”他还说,“保障亿万家庭这一使命,就是我们公司的边界,也是我们遇到各种困难时候,最大的工作动力,让我们坚守到底的原动力。我们也遇到过诱惑,但我们选择了不做和使命无关的事情。”

加载中...