新浪财经 港股

嘀嗒出行重启IPO:蔚来资本IDG崇德资本高瓴京东是重要股东

市场资讯 2023.02.20 16:55

雷递网 雷建平 2月20日

在国家支持平台经济、鼓励民营经济的政策陆续出台,港股市场持续回暖,IPO融资活动复苏之际,不少企业酝酿IPO。

嘀嗒出行也于2023年2月20日提交赴港IPO申请,重启IPO进程,中金、海通国际及野村国际为联席保荐人。

招股书显示,此次IPO募资拟重点用于以下方面:提升技术能力及升级安全机制;扩大用户群并加强营销及推广计划;增强变现能力;在中国出行市场价值链中选择性地寻求战略联盟及投资收购机会等。

将实现连续四年盈利

据介绍,嘀嗒出行是一家出行信息的整合服务商,其商业模型是轻资产的业务模式。嘀嗒出行不依赖大量资本投资或流量购买,不拥有或租赁车队车辆,不承担任何汽车拥有成本,也不需要向私家车主和出租车司机提供大量补贴。

这种轻资产商业模式,使嘀嗒以最小的增量成本来快速扩大业务规模,实现高于行业水平的单位经济性和运营杠杆率。

上市申请资料显示,疫情之下的2020年、2021年和2022年前9个月,嘀嗒出行顺风车交易总额(GTV)分别约为81亿元、78亿元和46亿元,全部营业收入分别为7.542亿元、7.806亿元和4.283亿元,调整后净利润分别为3.433亿元、2.380亿元和0.654亿元。

这意味着,虽然近3年持续受疫情影响,但自2019年首次盈利的嘀嗒出行,将实现连续四年盈利,平台保持着持续的“自我造血”。

招股书显示,2023年春节假期前后两周时间在内的30天期间,按嘀嗒出行促成的顺风车搭乘次数计,嘀嗒顺风车业务已恢复至COVID-19疫情前的水平。

很多嘀嗒顺风车车主表示,“之前我需要等待看是否有顺路订单,现在很多顺路乘客会主动给我发邀请。”

当前,伴随大数据、人工智能、云计算等新一代数字技术的成熟应用,中国数字经济和实体经济融合程度不断提升,并正在从消费领域逐步扩大至生产领域,促进了相关产业的发展。二十大报告指出,“发展数字经济,促进数字经济与实体经济深度融合。”

2022年12月召开的中央经济工作会议也提出,“要大力发展数字经济,支持平台企业在引领发展、创造就业、国际竞争中大显身手;推动经济社会发展绿色转型,协同推进降碳、减污、扩绿、增长,建设美丽中国。”紧随其后的国务院常务会议也明确强调,“支持平台经济健康持续发展。”

可以预期的是,随着中国在2022年底走向开放,嘀嗒出行2023年的业绩将会出现大幅提升。

认证顺风车车主达1240万名

持续近四年盈利的背后,是嘀嗒出行围绕大众出行的现实需求,聚焦“真的顺风车”和“智慧出租车”两大业务,不断进行精细化运营。

上市申请资料显示,2020年、2021年和2022年前9个月,嘀嗒出行研发费用持续增加,分别为4734.6万元,6007.1万元和6151.4万元,占营收的比重分别为6.3%、7.7%和14.4%。

根据F&S报告,中国四轮出行市场由出租车扬招、出租车网约、网约车及顺风车组成,2021年的订单总数分别约为144亿、18亿、102亿和3亿。这意味着,嘀嗒出行所处的业务领域(出租车扬招、出租车网约和顺风车)占据中国四轮出行市场超六成份额。

其中,顺风车市场将成为增长最快的细分市场,复合年增长率为28%。出租车市场在中国四轮出行市场所占份额最大,但扬招业务占比高达89.8%,扬招场景数字化仍处于早期阶段。

上市申请资料显示,截至2022年9月30日,嘀嗒顺风车在全国366个城市开通服务,认证顺风车车主达1240万名。

同时,嘀嗒出租车业务全国开通86个城市,并与西安、成都、广州、十堰、济南、齐齐哈尔、南宁、沧州、荆州、贵阳及郑州等53个城市推进“三化”(数字智能化、网约化、线上线下一体化)战略合作。

2022年上半年,嘀嗒顺风车订单平均应答时长同比缩短10%,顺风车车主整体审核认证时效提速300%。此外,优选合拼、快速匹配、订单搜索列表排序优化,提升车主接单体验。

2019年至今,嘀嗒出行深入贯彻落实全面深化出租车行业改革的决策部署,推进出租车“三化”工程,通过“数字化扬招”和“网约化”两个方向发力数字化出租车整个服务链条,从数字交通管理、出租车服务、行业效率三个维度,对传统出租车行业进行赋能,真正将科技创新与解决行业痛点和促增长相结合,以数实融合深度协同实现扬招、网约双向增量发展。

截至2022年9月30日,嘀嗒出行出租车智慧码累计收到乘客评价约为9850万次;65个城市的798家出租车公司在使用嘀嗒凤凰出租车云平台服务。

随着碳中和战略深化,推动经济社会发展绿色化、低碳化将成为社会和企业高质量发展的重要方向。嘀嗒出行自带浓厚的ESG基因,并将ESG理念与企业发展战略、业务增长深度融合,倡导在“不增加额外车辆”基础上的“挖潜增效”。

上市申请资料显示,嘀嗒顺风车专注于在不额外增加道路占用空间的情况下创造新的车辆运输效能。根据F&S的报告,2021年,嘀嗒顺风车用户共计减少了100多万吨二氧化碳,这相当于种植了大约140万英亩的森林。

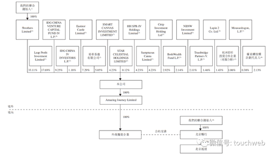
蔚来资本、IDG、崇德资本、易车网、高瓴、京东是重要股东

自成立以来,嘀嗒吸引了许多机构或企业投资者投资本公司,包括蔚来资本、IDG、崇德资本、易车网、高瓴、京东及携程旅行。

2015年 嘀嗒完成由IDG及易车等机构及企业投资者牵头的B轮融资,同一年,完成1亿美元C轮融资。2017年,嘀嗒完成由蔚来资本牵头的D轮融资。

IPO前,宋中杰、李金龙、朱敏、段剑波及李跃军5位联合创始人通过5brothers Limited持有公司33.11%,为大股东;

宋中杰、李金龙、李跃军、朱敏及段剑波分别拥有5brothers Limited的59.33%、10.87%、10.87%、10.87%及8.06%权益。

蔚来资本通过Leap Profit及SMART一共持股为21.92%,易车持股为5.05%,IDG资本持股10.43%,崇德资本旗下Eastnor Castle Limited持股为7.29%;

高瓴资本旗下HH SPR-IV持股4.23%,京东旗下Sumptuous持股4.23%,携程持股为2.92%,Trustbridge Partners V, L.P.持股为1.46%。

加载中...