新浪财经 港股

药师帮赴港上市:三年亏损21亿融资超30亿 雷军、郭广昌已豪赚逾7倍

新浪港股

关注

5月25日消息,复星医药、顺为资本、合生创展朱孟依投资的国内院外医药产业数字化综合服务平台药师帮已向港交所提交上市前文件。中金和高盛为联席保荐人。

成立于2015年的药师帮致力于赋能及数字化整个价值链的参与者,包括药企、药品分销商、药店及基层医疗机构。根据弗若斯特沙利文的资料,以2021年商品交易总额规模衡量,公司是中国院外医药产业最大的数字化综合服务平台。

药师帮业务模式是以自身的平台业务及自营业务为中心,并佐以一系列其他创新业务。根据弗若斯特沙利文的资料,公司在2021年GMV达到人民币275亿元,自2019年的年复合增长率为42.9%。

截至2021年12月31日,公司建立了最大的数字化医药交易与服务网络,其中包括约30.5万家下游药店及约13万家基层医疗机构。2021年公司有25.6万个月均活跃买家,在中国院外数字化医药产业服务平台中排名最高。

根据招股书,2021年,该公司平台业务中第三方商家的GMV为人民币170亿元,占总GMV的约61.9%,自营业务GMV为人民币105亿元,约占总GMV的38.1%;公司创新业务中主要包括光谱云检、小微仓、SaaS解決方案及药师培训。

根据公司财报,公司在2019年至2021年分别实现收入32.51亿元、60.65亿元以及100.94亿元,收入同比增长迅速, 2020年增速更是接近翻倍。

和公司高营收做对比的是,公司毛利率只有个位数,2021年实现毛利9.14亿元。2019-2021年药师帮毛利率分别为7%、10%、9.1%,公司解释为毛利率下降主要是由于自营业务扩张,其毛利率普遍远低于其他业务分部。

2019年至2021年,药师帮录得持续亏损,年内亏损分别为10.46亿元、5.72亿元以及5.02亿元。公司业绩大幅亏损背后,药师帮销售及营销支出急剧增加,分别为6.04亿元、7.26亿元以及10.64亿元。销售及营销支出大幅增加,公司认为一是销售、营销员工薪资、福利的增加,二是自营业务履约费用的增加。

公司三大业务毛利率差别巨大,公司业务为主的自营业务,2021年实现收入95.9亿元,但毛利率只有5.2%,造成自营业务毛利不足5亿;而以收佣为主的平台业务毛利率超80%,2021年实现毛利4.1亿元。自营业务毛利率偏低,公司认为是因为自营业务尚处于扩张阶段。

现金状况来看,药师帮2019年至2021年经营活动现金流持续流出,分别流出2.01亿、1.24亿以及4.87亿元,投资活动近三年也流出了12亿,而融资活动持续增加,2021年更是融资11.25亿元,从而导致公司现金及等价物首次转为净流入。

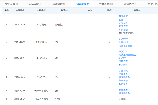
目前公司已进行多轮融资,从天使轮到E-2轮,在2015年至2018年6月,药师帮的前身广州速道进行了多轮融资,投资方包括复星医药、常春藤资本、雷军的顺为资本、松禾资本、海纳亚洲创投基金等,投资总额大约6.1亿元。

2018年12月,公司引入D轮融资,由老虎环球基金、H Capital和DCM参与,融资额1.33亿美元;2021年2月,公司引入朱孟依控制的元知集团全资子公司百盈发展,融资1.5亿美元,朱孟依正是港股上市公司合生创展的实控人,目前持股53.59%,儿子朱一航持股18.25%,女儿朱桔榕为合生创展董事会主席。

合生创展的创始人为朱孟依,在江湖被称为地产界的“隐秘霸主”,王石曾经称赞朱孟依是“中国地产界的航空母舰”,2004年,合生创展销售破百亿,同时成为了内地首个销售额破百亿的房企,2008年后合生创展开始走下坡路,目前合生创展掌门人的并不是朱孟依,而是他的女儿朱桔榕,今年还一度想谋取恒大物业股权,不过此后夭折。

2021年6月,公司引入E-2轮融资,百度领投3000万美元,阳光人寿投资3000万美元,松禾资本旗下Genius II Found Limited投资2308万美元,广州新星花城创业投资合伙企业投资500万美元,广州市新兴产业发展基金为执行合伙人。

也就是说从D轮到E2轮,药师帮共计融资3.684亿美元,大约24.6亿元人民币。从天使轮到E2轮,公司共计融资30.7亿元。公司表示,截至最后实际可行日期,公司估计已动用前投资所筹集资金的约95.57%,大约29亿元。

截至最后可行日期,公司股权架构如下:公司董事局主席兼首席执行官张步镇持股20.33%,地产大佬朱孟依持股13.29%,环球老虎基金持股12.98%,前投资者持股53.41%。其中,H Capital持股9.66%,复星医药持股8.98%,DCM持股8.65%,松禾资本持股7%,顺为持股3.97%,百度持股2.25%,阳光人寿持股2.25%。

值得注意的是,按百度投资3000万美元,持股2.25%计算,药师帮在2021年6月估值已经来到13.3亿美元,估值已超100亿港元,股本1.54亿股。复星医药分别在A轮和B轮参与,即使按7.84元计算,复星医药持股市值9.34亿港元,浮盈至少超7倍,雷军旗下的顺为投资浮盈也超7倍。

加载中...