新浪财经 港股

中国科大“打假”:中国科大教育上市前景存疑 是否构成侵权

新浪财经

关注

1月29消息,昨日晚间,一则广州科技职业技术大学冒用“中国科大”字眼提交赴港上市申请,在中国科学技术大学全球各大校友微信群流传,引发科大校友强烈愤慨,被中国科大官方“打假”。广州科技职业技术大学到底是何方神圣?广州科技职业技术大学是否构成侵权?它还能顺利上市吗?

“中国科大教育”申请赴港,现金流问题凸出

1月26日,中国科大教育集团有限公司提交赴港上市申请书,麦格理为独家保荐人。根据官网,中国科大教育集团有限公司在内地名字叫“广州科技职业技术大学”。

根据弗若斯特沙利文报告,广州科技职业技术大学,是中国第二大的民办本科层次职业大学,市场份额约9.0%,该大学于2018年获教育部批准提供职业本科教育。该学校主要侧重于工科,于2020/2021学年,招收的约59.9%全日制学生就读于工科专业。

广州科技职业技术大学现时布局一校两区,经营广州校区及滨海校区。目前在校生人数为25495名,本科项目平均学费2.68万元,专科平均学费1.63万元。

收益方面来看,公司截至8月31日止年度在2018年-2020年收入分别为1.73亿元、2.07亿元以及3.48亿元。公司主要依赖专科学费收入,在学费收入中,2020年度本科项目收入0.48亿元,占比13.8%,专科项目收入2.74亿元,占比近80%。

具体盈利方面,公司2018-2020年度,公司拥有人溢利分别为3180万元、3065万元以及1.42亿元。公司在2019年盈利下滑,但在2020年盈利激增3.6倍。

不过,在公司盈利激增的同时,公司现金流问题凸显。

2018年到2020年,公司负债净额分别为2.48亿、3.2亿、2.94亿,说明公司短期偿债能力较差。资产负债率更是从2018年的68.5%飙升至2020年度的91.6%。

同时,公司账上现金也大幅减少,从2019年的1.74亿大幅减少为2020年的0.58亿,一方面源于公司营运资金大幅减少1.3亿,另一方面公司大幅动用逾1亿现金进行校区设施建设。

中国科大“打假”,校友基金会直言让其上市失败

1月26日,“中国科大教育集团有限公司”提交赴港上市申请书,27日,中国科大新创校友基金会直接怒怼,并呼吁相关方确保其上市失败。中国科大官方也发布声明,拟追究相关公司法律责任。

中国科大新创校友基金会直呼,“谴责广州科技职业技术大学的无耻行径,并期待中国科学技术大学校方,在中国内地与香港地区,采取法律手段与一切的合法手段,追究广州科技职业技术大学的责任,确保其上市失败。”

此外,中国科大新创校友基金会还曝光了广州科技职业技术大学董事长卢彩凤,校长崔英德、学校举办者兼董事冯兵昌的相关信息,并表示,“中国科大校友谴责卢彩凤、崔英德和冯兵昌等领导的碰瓷行为。 ”

根据公司招股书,冯兵昌为集团董事长兼执行董事;卢彩凤为集团执行董事兼首席执行官;崔英德为集团执行董事兼广州科技职业技术大学校长。其中,冯兵昌、卢彩凤为夫妻,且为公司控股股东,两者拥有集团超30%的表决权。

继中国科大新创校友基金会指责“中国科大教育集团有限公司”碰瓷后,中国科大在官微发布学校简称和注册商标被冒用的郑重声明。

声明表示,1)“中国科大”字样既是我校的校名简称,也是我校的注册商标,我校依法享有“中国科大”的名称权和商标专用权;2)广州科技职业技术大学和“中国科大教育集团有限公司”与我校均不存在任何事实和法律上的联系,我校亦从未授权“中国科大教育集团有限公司”使用“中国科大”字样作为其企业字号;3)为保护我校的合法权益,维护正常的市场秩序,我校要求相关单位立即停止侵权行为,消除不良影响;4)我校将依法采取措施维权,追究相关单位法律责任。

“中国科大教育”上市前景如何 机构:或影响上市

中国科大教育集团是否构成商标侵权,会否影响公司上市,律师怎么说,机构怎么看?

广东法制盛邦律师事务所知识产权部郭沣锋律师在接受新浪港股采访时表示,1)广州科学职业技术大学(以下同广科)是否商标侵权,首先需考量其对“中国科大”标识是否构成商标使用,其次考量其是否在相同或类似服务中使用与注册商标相同近似的商标。也就是说若其在对外宣传推广提供服务等过程中,未经“中国科大”商标注册人中国科大同意使用而使用的,而且使用于双方都从事的教育行业,则构成商标侵权。但广科本身学校名称经过核准使用,不存在侵权情况。

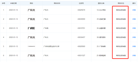
不过,新浪港股查询发现,广州科学职业技术大学并无“中国科大”的任何商标注册,即使“广科大”也都在“等待实质审查状态”,而中国科大有“中科大”、“科大”商标。“中国科大教育”和中国科大的商标“中科大”存在类似。

对于未来维权,郭沣锋律师表示,“中国科大教育集团有限公司”,注册于开曼群岛,根据当地法规法规所注册,即便中科大有异议,也难以直接通过诉讼要求注册与国外的企业改名。

若中国境内以该企业字号注册公司,则存在以下情况:存在将他人注册商标、未注册的驰名商标作为企业名称中的字号使用的,且误导公众,将可能构成不正当竞争行为;若该些公司在中国境内以其自身企业字号“中国科大”进行突出使用,造成混淆的,亦是侵犯注册商标专用权的行为。

郭沣锋律师表示,是否构成侵权不只是以一个国外注册公司的名称来判断,而是应该考虑其在国内经营过程中的实际情况来认定。当然,如果认为存在侵权情况,在进行调查取证后,可以向人民法院提起诉讼,要求侵权方承担停止侵权、消除影响、恢复名誉、赔偿损失等侵权责任。

综上,中国科大教育是否构成侵权,还有待确认,但商标问题明显会成为公司未来上市的一大风险因素。

联交所定期都会发布有关上市申请退回、上市申请拒绝的指引。在2013-2018年被联交所所拒绝的上市申请案例,主要:2013年被拒绝6例;2014年被拒绝10例;2015年被拒绝7例;2016年被拒绝13例;2017年被拒绝3例;2018年被拒绝24例。

香港联交所主要是实质审核,一般包括客观的上市条件和主管的上市条件,客观条件中,主要由上市科IPO部门审查。一般是审核公司市值、盈利等财务、交易指标,但上市科同时还要考察公司是否具有持续经营能力。

有业内人士表示,中国科大维权事件如果影响公司盈利能力则对公司持续经营有影响,影响未来上市 进程。另有有行业人士对新浪港股表示,联交所对于申请上市时候会考虑包括法律诉讼,公司声誉等问题。

此外,上市科有明确的知识产权披露要求。文件指出,“要求发行人于上市文件内载列就有关集团的业务而言为重要的任何商标、专利权或其他知识或工业产权(统称‘知识产权’)的有关详情,以及如 该等因素对有关集团的业务或盈利能力属十分重要者,则说明有关集团倚赖该 等因素的程度。”

有市场分析人士对新浪港股表示,除非这个公司证明自己有商标使用权或者改名后不影响自己的公司形象、具体业务或者潜在法律诉讼不影响上市,不然上市还是会受到影响的。

不过,另据业内人士表示,由于公司上市主体为境外公司,诉讼可行性存疑。而香港是机构为主,对公司名字并不感冒,关键还是看公司基本面。(文/金石)

加载中...