新浪财经 港股

阿斯利康(AZN.US)“度伐利尤单抗”新适应症国内申报上市获受理

智通财经网

关注

CDE官网显示,9月8日,阿斯利康(AZN.US)的PD-L1单抗度伐利尤单抗(Imfinzi)在国内申报上市一项新适应症,已获受理。这是Imfinzi 在国内申报的第4项适应症,目前具体适应症暂未披露。

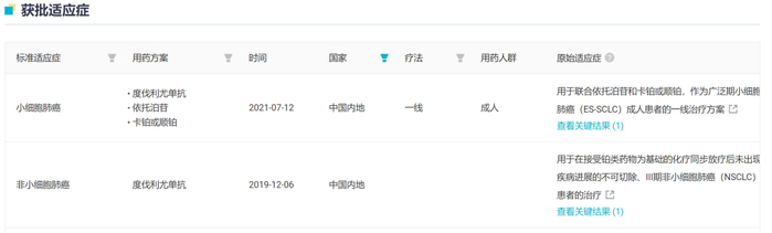
Insight 数据库显示,Imfinzi 目前在国内已经获批 2项肺癌适应症(详见下图),今年 3 月又基于 TOPAZ-1 研究申报了胆道癌适应症。在全球范围内,其获批癌种还包括肝细胞癌。

Imfinzi 中国内地已获批适应症

据悉,Imfinzi全球销售额在2023上半年实现了高达57%的大幅增长,这正是有赖于 CTLA-4 单抗替西木单抗(Imjudo)的协同和众多重磅适应症的陆续登陆。中国向来是阿斯利康业务的重要组成部分,随着两项新适应症的陆续申报和商业化,Imfinzi也将在国内释放更多潜力,与全球同步为患者提供新兴治疗方案的同时,也助力中国区域业绩稳健增长。

加载中...