新浪财经 港股

双面百果园,除了卖水果,还默默投资了上百家公司

创业邦

关注

作者丨谢璇

编辑丨房煜

图源丨摄图网

作为水果生鲜市场上的头号选手,即将冲刺“水果连锁第一股”的百果园,外界关注更多的是其在水果产业链上的布局。但是,百果园除了围绕水果上下游的布局外,还有不为人知的第二战场。

百果园招股书显示,仅2021年,水果销售为百果园贡献了95亿收入,占整体收入的92%,其中81亿的收入来自加盟门店费用。虽然水果生意不算暴利,但是以加盟模式覆盖全国市场,不仅可以构筑品牌壁垒,更能够通过规模,实现供应链效益的最大化。

但这只是百果园整个商业版图的一面,百果园的另一面,则是其投资板块。

数据显示,在百果园全资控股的公司中,主要负责对外投资的有深圳百果园实业(集团)股份有限公司、深圳市百果园投资发展有限公司、优果联品牌管理有限公司,合计去重后,其投资公司数量达到86家。如果再将河南战新百果园产业基金(有限合伙)等间接持股公司的投资情况计算进去,百果园整体的投资规模,或可达百余家企业。

对于一个门店数量超过5000家的企业来说,供应链能力才是让百果园持续运转扩张的根基。想要探究此类企业的发展逻辑,最直接的方法就是对其投资版图背后的逻辑进行梳理。

不同于机构的投资逻辑,百果园的投资路径,是围绕自身业务、农业科技、农产品品牌、品类扩张的思路层层递进的。

这其中,不仅可以让我们观察到生鲜零售的扩张路径,更可以看到,生产、供给、农业科技、强单品策略、品牌打造等链条的打造,对于连锁品牌的塑造和推动。

功夫都在水下。已经完成了超20亿融资,估值或已超百亿的百果园,究竟是如何从一个卖水果的生意,逐渐变成了一个打造强单品、包装水平品牌、提供农业技术咨询的“卖水人”?

左手农业科技

右手数字产业园

在百果园的投资版图中,首先值得关注的,是百果园的全资控股公司。

在对百果园的投资板块进行梳理时,我们发现,这些全资控股公司的业务构成,也从侧面体现了百果园在主营业务上的布局思路。

百果园的财报中提到,公司的重大专利共计35个,其中20个落在江西王品农业科技开发有限公司名下,该公司由百果园100%控股。专利内容则涉及脐橙种植、果树种植灌溉培养、沙棘果打浆、喷药、化肥搅拌等方面。

除了江西王品之外,另外两个与农业种植业务相关的企业,是优果联和优农道。作为百果园全资控股的附属公司,优果联是种植管理公司,专门提供与种植技术、生产及商业化、水果产品品牌化及营销相关的综合咨询解决方案。

优农道则是一家种植技术公司,该公司引进了日本有机农业系统,现已就优化土壤和肥料,与多家农业基地展开合作种植试验。并引入了日本有机农业种植专家小祝政明先生创建的BLOF技术,以及BLOF人才培养的教学大纲、教材、教学实验仪器等内容,助力其在中国广泛推广。

除了布局农业种植技术,技术服务则是百果园的另一个重点布局领域。

2020年,百果科技CMO沈欣曾在对外演讲中表示,百果园成立了百果金科控股集团公司,拥有600余人的IT团队,对外为上下游企业进行全方位技术服务,对内注入创新活力。具有三条主线,一个是以ERP、运维为主的互动科技,一个是专门做大数据的(百果)数联科技,一个是专门做金融的易秒通科技,另外,还有参股公司优鲜互联、慧云科技、泰新源。

根据深圳市百果数联科技有限公司的BOSS直聘页面显示,该公司成立于2019年11月4日,是深圳百果园实业(集团)股份有限公司的全资子公司,聚焦生鲜零售全产业数字化应用场景,提供包括经营及管理咨询、平台及工具赋能在内的全方位数字化运营体系,典型场景包括:采销数字化协同,智能订货,智能选址等。

目前,百果数联拥有一支近百人的科技团队,组成会员及营销,商品及供应链,数字化门店,平台及工具,数据中台五大事业群。

在2020年的一次演讲中,百果数联科技总经理查希曾分享过百果园的数字化赋能模式。他表示,百果园整合了来自零售终端、会员体系、供应链等各方面的大数据,将采配销、门店、商品和客户都实现了全方位的数字化管理,进而以“资源配置赋能,行情资讯赋能,工具、平台、服务赋能”的方式,为加盟商们做一体化赋能提升。

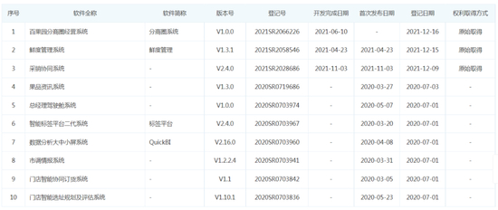
根据企查查数据(有没有可以植入睿兽的部分)显示,百果数联拥有包括百果园分商圈经营系统、鲜度管理系统、采销协同系统、果品资讯系统在内的10个软件著作权。

数据来源:企查查

如果说,百果数联是为百果园的全方位数字化管理进行服务的,那么百果心享(深圳市百果心享科技发展有限责任公司)则负责百果园在生鲜电商领域的探索。

2019年4月16日,百果园举行“百果园大生鲜战略”新闻发布会,正式对外宣布进军生鲜领域,并发布了独立的生鲜平台“百果心享”,涵盖“心享商城”、“心享会员”两大业务线。

百果心享依托百果园现有的经营体系,选择了小程序+到店场景切入,即顾客在心享商城小程序下单后,次日可到百果园门店自提。

百果心享负责人孙鹏曾对外表示,2019年百果园计划开发50款左右“百果心享”自有品牌食材商品,百果心享会员数有望突破100万,心享商城首年销售目标突破1亿元。

除了在农业种植和数字管理上的布局,百果园还准备建立自己的数字产业园。

2020年12月10日,深圳百果数字产业园有限公司以底价竞得深圳市1宗工业用地,总面积3233.86平米,成交价格5160万元。

根据扬州市人民政府国有资产监督管理委员会发布的公告显示,2022年3月23日,江苏华建深圳公司承接了,位于深圳盐田区的百果园项目,总建筑面积25000平方米,总工期620日历天,合同造价约1.41亿元,由深圳百果数字产业园有限公司投资建设。

投资3283万

让强单品水果品牌化

在百果园的对外投资版图中,优果联负责的是,强水果单品的品牌打造。

2016年4月28日,由深圳百果园、佳沃鑫荣懋、陕西海升集团、北京正大果业、山东佳农集团、海南天地人、本来生活网等企业共同倡议,在中国优质农产品开发服务协会和中国果品流通协会支持下,有关单位发起成立优质果品产业联盟。

虽然,优质果品产业联盟随后并未再有什么实质动作,但百果园却将“优(质)果(品)联(盟)”这一名称继承了下来。2017年3月9日,优果联品牌管理有限公司(以下简称优果联)成立,深圳市百果园投资发展有限公司为大股东。

百果园董事长、优果联品牌管理公司董事长余惠勇在2016年的《优果联的使命》主题演讲中,将优果联的功能归结为“322”模式,即三大板块(品牌营销、种植服务、商品化服务板块)、两个平台(种植基地、销售渠道平台)、两个支撑(金融资本、信息科技支撑)。

企查查信息显示,优果联品牌管理有限公司是一个水果B2B交易平台,专注于水果行业,主要为用户提供水果B2B交易服务,用户可以在平台上供货或进行水果批发采购等。

但这并非优果联的全貌。根据优果联公众号中的介绍,其业务模式共分为3种:

1、品类公司:我们联合志趣相投并且有比较好专业基础的同行,以具体的品类为单位,共同出资成立“品类公司”,如专业的“西瓜公司”、“草莓公司”、“玉米公司”等等,共同努力,真正做强单品。

2、直营事业部:相对独立运营,针对农场或者区域进行的研发项目、生产农场、订单管理、技术指导等,如按地区划分的:“新疆分部”、“云南分部”、“川南分部”等,按品类划分的:“草莓事业部”、“冬枣事业部”、“蜜柚事业部”等。

3、优果联总部:优果联总部设有技术支撑中心、物资中心、营销中心、知识架构中心、培训等职能机构,主要作用是服务于一线的品类公司和事业部单位。

在优果联投资的19家企业中,近半数均属于第一种业务模式中的“品类公司”。

根据优果联BOSS直聘页面中的介绍,该公司在建品类项目包括苹果、葡萄、李子、鲜食玉米、猕猴桃、草莓、西瓜、冬枣、青枣、石榴、柑橘类、香蕉等12类,基地覆盖全国13个省24个县(市),已推出“良枝”“猕宗”“天使美莓”“微玉”“不失李”“金津”“橙以橙”等品牌。并且,该公司还计划在5年内,重点做强20个品类品牌。

企查查信息显示,上述品牌的商标信息均归属于优果联品牌管理有限公司名下,该公司所拥有的商标信息现已达到了226个。

BOSS直聘的简介中还提到,优果联投资的品类品牌公司14个、服务类公司8个(现已降至19个),总投资额达3283万元。优果联主营业务是塑造优质水果品类品牌,愿景是成为全球最具影响力的果品品牌孵化公司。目前优果联职员规模60人,其中,教授职称1人,研究生学历5人,本科学历35人,多数人员常驻基地,从事新技术试验和农业技术推广服务。

不过,优果联的野心不止如此。优果联官方网站显示,该公司的解决方案,可覆盖土壤检测流程、智慧城市/智慧社区、工业物联网/生产监管、智慧水利/灌溉节水、智慧物流、智慧依赖、智慧旅游、智慧环保等众多领域的应用场景。

从生产端供应链到最后一公里物流

追赶万店目标

除了以上两部分投资板块,深圳市百果园投资发展有限公司(以下简称为“百果园投资”)是百果园集团对外投资的主要抓手,也承担着支持供应链,保证百果园拓店质量和速度的任务。

目前,该公司的对外投资数量达到了52家。除了与优果联有部分重叠外,百果园投资的项目中最值得关注的就是水果供应链物流企业。

以海阳津成泰农产品发展有限公司为例,该公司主要从事苹果、梨等农产品的收购、加工、储藏及出口业务,通过了ISO9001、ISO22000、BRC等一系列国际高端质量认证,产品分销东南亚、中东和欧洲市场。该公司还采用“公司+合作社+农户”的合作模式,建立了10余个果品基地,按照全球良好农业操作规范(GLOBALGAP)对果园进行管理,促进苹果产业化进程。

除此之外,百果园投资还投资了拥有水果供应链信息服务管理平台等软件著作权的上海小檬侠供应链管理有限公司;以微信小程序为下单渠道,为各终端提供代采购服务的水果集采平台深圳般果科技有限公司;以及为商家完成外卖配送服务,聚合了顺丰同城、闪送、达达、uu跑腿等20+主流运力平台的即时配送运力聚合平台“猩动快送”(杭州主理网络科技有限公司)。

从生产端供应链到最后一公里物流,百果园在运力上的大举投入,被市场解读为应对门店扩张压力的对策。

2017年,在资本加持的推动下,余惠勇早在2016年就定下了2020年开1万家店、年销售额达到400亿元的宏大计划。

但现实是骨感的,2022年4月发布的百果园招股书中显示,截至最后发行日期,百果园全国门店数为5351家,与计划中的开店速度想去甚远。

余惠勇曾对外表示,水果专卖门槛低、技术含量低,但不是一个靠钱就能堆起来的行业,它需要一个长期搭建和积累的体系,百果园走过的都是无人区,水果的零售技术,生鲜的零售技术,都是在不断的试错过程中积累起来的。经验有多少,之前趟过的坑就有多少。

从种植、供应链、标准制定、流通环节的顺畅,对农产品这一非标准化商品的管控能力,决定了百果园的扩张速度和扩张质量。而投资作为百果园的第二战场,在一定程度上对于百果园的主战场,起到了保驾护航的作用。

在整个生鲜零售领域,像百果园这样一手做主业一手做投资的公司还较为罕见。在整个大消费行业中,也只有餐饮行业龙头海底捞,在上游产业链通过投资控股的方式进行了比较系统的投资。百果园的尝试,也为基于连锁业态的生鲜零售公司的发展方向提供了新的想象空间。

加载中...