新浪财经 港股

从最新数据看香港红筹上市的路径选择

新浪综合

关注
港股分时

港股分时

来源:港股那点事

一、突围10号文

红筹上市,是指中国境内企业的股东(包括境内自然人和境内企业)在境外设立控股公司,通过股权控制或协议控制的方式,将中国境内企业的资产或权益注入境外控股公司,以境外控股公司为上市主体,在境外证券交易所公开发行股票并上市的模式。

2006年8月8日,红筹上市之路遇到重大转折,商务部、国务院国有资产监督管理委员会、国家税务总局、国家工商行政管理总局、中国证券监督管理委员会、国家外汇管理局联合发布《关于外国投资者并购境内企业的规定》(“10号文”,2009年6月22日修订),为红筹上市设置了两道门槛,其一为关联关系并购(即境内公司、企业或自然人以其在境外合法设立或控制的公司名义并购与其有关联关系的境内的公司)应报商务部审批,其二为特殊目的公司境外上市交易应经证监会批准。

10号文设置的上述审批要求,虽然一度限制了中国境内企业的资产或权益注入境外控股公司的过程,从而导致境内企业红筹上市之路面临困境,但随着时间的推移,实践中陆续出现了众多突破10号文限制的成功案例。不过,攻守之道,此消彼长。香港联合证券交易所(“香港联交所”)持续关注境内的法律、政策及仲裁案例等,并据此不断更新其对红筹上市的审核要求,例如,在商务部于2015年1月19日发布《中华人民共和国外国投资法(草案征求意见稿)》后,香港联交所于2015年8月更新了上市决策(HKEx-LD43-3),对于境内企业采用VIE模式赴港上市的审核态度更趋谨慎。

随着法律政策环境、香港联交所审核态势的演变,业内对于香港红筹上市路径选择出现的最新变化值得关注。

二、从近期数据看路径选择

我们检索分析了从2014年2月至今近四年内在香港联交所通过红筹方式上市的35起典型案例(列表如下),从这些案例可见,近年来香港红筹上市的路径选择确实受到监管机构政策指导的影响,并已经集中在模式相对固定的少数几个解决方案上:

(一) 协议控制模式受到限制,占比较小

协议控制模式,也称VIE 模式,是指境外上市主体与境内企业相分离,境外上市主体通过协议的方式实际控制境内企业。在我们检索的上述35起案例中,共有9起案例采用了VIE模式。

通常情况下,在VIE模式中,境外上市主体与境内企业的架构如下:

从上述架构可以看出,在 VIE 模式中,境外上市主体不直接收购境内企业的股权,而是在境内投资设立一家外商独资企业,再通过一系列协议,取得对境内企业全部股权的优先购买权、质押权和投票表决权、经营控制权。同时,外商独资企业通过为境内企业提供咨询管理等服务,以“服务费”的方式收取相当于境内企业所有净利润,最终在完税后再将经营利润转移至境外上市主体中。

鉴于VIE 模式中,不存在境外上市主体收购境内企业股权的情形,故无需适用10号文。

2013年11月,香港联交所更新了上市决策(HKEx-LD43-3),新增了16A条,即“为免生疑问,特此说明:若涉及限制业务,结构性合约的采用只限于解决外资拥有权规限,才会获批准(例如境外投资者只可通过合资形式营运限制业务,当中外资占投资总额及股权的比例低于50%)。至于外资拥有权规限以外的其他规定,申请人须令联交所信纳其已按法律顾问的意见,在上市前对所有适用规则下的规定作出合理评估,并采取一切合理步骤加以遵守”。我们理解,若涉及限制业务,则VIE模式只限于解决外资拥有权限制才会获批准,若涉及其他限制,则需一案一议。从我们检索的上述采用VIE模式的案例可以看出,该等案例采用VIE模式的理由均为其业务领域存在外资拥有权限制。

在商务部于2015年1月19日发布《中华人民共和国外国投资法(草案征求意见稿)》后,香港联交所于2015年8月更新了上市决策(HKEx-LD43-3),明确指出在商务部发布《中华人民共和国外国投资法(草案征求意见稿)》后,市场对于结构性合约持有受外资拥有权规限的内地业务权益是否合法及有效,疑虑或有所增加,申请人如使用结构性合约持有内地业务权益,宜尽早联络联交所寻求非正式及保密指引。

总体而言,香港联交所对于境内企业采用VIE模式赴港上市的审核态度更趋谨慎。

(二) 股权控制模式是主流方案,占比超过7成

股权控制模式,是指境外上市主体通过持有境内企业的股权,直接控制境内企业。

在我们检索的上述35起案例中,共有26起案例采用了股权控制模式。对数据样本加以进一步审阅分析,我们发现突破10号文限制的具体解决方案与五年前相比已经大大减少,目前大体只集中在三种方式上:股东变更国籍、内资企业变JV及通过WOFE收购内资企业。我们分别选取了三个具有代表性的案例并详细分析如下:

路径一:中国优质能源(配偶变更国籍+收购境外SPV+家族信托)

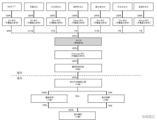
中国优质能源集团有限公司,主营业务为在中国贵州省从事开采及销售无烟煤,于2016年7月13日在香港联交所上市,证券名称为中国优质能源,证券代码为01573。

中国优质能源的境内经营实体为贵州优能及其子公司,在红筹重组前,贵州优能的股权架构如下:

(注:上图省略了贵州优能的子公司,下同)

中国优质能源红筹重组的主要步骤如下:

1. 境外重组

2014年1月8日,中国优质能源于开曼群岛注册成立,股东为RichwiseCapital Group Ltd。

2015年11月,徐先生的配偶Dai女士成为圣基茨和尼维斯公民。

2015年12月8日,Dai BVI于英属维京群岛注册成立,股东为Dai女士。

2015年12月17日,Dai女士向RichwiseCapital Group Ltd收购Unienergy BVI全部股权,Unienergy BVI持有优质能源香港全部股权。

2016年3月29日,RichwiseCapital Group Ltd向Dai BVI转让中国优质能源的全部股权。

2016年4月1日,Dai女士向中国优质能源转让Unienergy BVI全部股权。

完成上述步骤后,中国优质能源的境外架构如下:

2. 境内重组

2016年3月7日,优质能源香港在深圳成立WOFE,即深圳能创新能源开发有限公司。

2016年4月11日,WOFE收购内资企业优银投资100%股权、贵州瑞联50%股权(除优银投资持有的贵州瑞联50%股权外)。

完成上述步骤后,中国优质能源的股权架构如下:

3. 信托安排

2016年4月11日,Dai女士宣布将通过信托声明以徐氏家族为受益人以信托方式持有Dai BVI全部已发行股份的实益权益,徐先生获委任为Dai BVI的唯一董事。Dai女士以徐氏家族为受益人以信托方式持有Dai BVI股份,但行使Dai BVI股份附带的所有主要权利前须经徐先生同意,Dai女士作为Dai BVI股份受托人的权利仅可经徐先生同意后由Dai女士行使。通过前述安排,徐先生实现了对Dai BVI所有股份的控制,于中国优质能源的股东大会控制行使30%以上的投票权,即使其并不直接持有中国优质能源的任何股份。

2016年4月15日,中国优质能源分别向Dai BVI及马先生、肖先生、张先生、潘先生、田先生、黄先生各自指定的BVI公司发行股份,使其与于贵州优能所持股份的比例相当。

完成上述步骤后,中国优质能源的股权架构如下:

招股书认为中国优质能源的红筹重组不适用10号文,理由如下:

(1) Dai女士(自2015年11月起为圣基茨和尼维斯公民及WOFE的最终股东)并不属于10号文所界定的境内自然人;

(2) 中国优质能源由RichwiseCapital Group Ltd成立,并不属于10号文所界定的境外特殊目的公司;

(3) 尽管徐先生为中国境内自然人,但不持有境外公司任何股份,仅为徐氏家族信托的受益人之一;

(4) 贵州省商务厅于2016年4月12日以书面形式确认WOFE收购优银投资、贵州瑞联不属于10号文项下外国投资者收购境内企业的情况。

案例点评:

本案的操作路径可总结为如下要点:(1) 实际控制人的配偶变更国籍后设立离岸控股公司;(2) 离岸控股公司通过收购取得境外SPV的股权,并作为红筹上市主体;(3) 通过家族信托方式,使得实际控制人获得离岸控股公司的控制权,进而控制红筹上市主体。

值得关注的是,本案认为自第三方收购而非直接设立的境外公司不属于10号文所界定的境外特殊目的公司(注:10号文将“特殊目的公司”界定为中国境内公司或自然人为实现以其实际拥有的境内公司权益在境外上市而直接或间接控制的境外公司)。

路径二:中国力鸿(内资企业变JV)

中国力鸿检验控股有限公司,主营业务为从事中国的煤炭与焦炭检测及检验,于2016年7月12日在香港联交所上市,证券名称为中国力鸿,证券代码为01586。

中国力鸿的境内经营实体为华夏力鸿及其子公司,在红筹重组前,华夏力鸿的股权架构如下:

(注:上图省略了华夏力鸿的子公司,下同)

1. 华夏力鸿变JV

2015年5月27日,Hotek Asia于英属维京群岛注册成立,由杭州华钛智测股权投资合伙企业(有限合伙)全资拥有。

2015年7月29日,中国力鸿于开曼群岛注册成立,股东为Hotek Asia。

2015年7月31日,中国力鸿于英属维京群岛注册成立Leon BVI。

2015年8月10日,Leon BVI于香港注册成立Leon HK。

2015年9月5日,Leon HK向华夏力鸿注资;2015年10月30日,获得北京市朝阳区商务委员会批准;2015年11月11日,完成工商变更登记并成为JV。

2. 境内企业权益置出境外

2015年11月19日,李向利先生、张爱英女士、刘翊先生、李德新先生及张佳琦先生通过各自的离岸控股公司认购中国力鸿的股份。

2015年11月27日,投资者中龙、Hotek Asia认购中国力鸿的股份。

2015年12月16日,Leon HK收购华夏力鸿剩余全部股权,华夏力鸿成为WOFE。

完成上述步骤后,中国力鸿的股权架构如下:

招股书认为中国力鸿的红筹重组中境内企业权益置出境外的关键行为(即Leon HK收购华夏力鸿剩余全部股权)不适用10号文,理由为:Leon HK收购华夏力鸿剩余全部股权时,华夏力鸿已转为JV,该等股权转让为外商投资企业的股权转让。

案例点评:

因10号文第二条将外国投资者股权并购境内企业界定为“外国投资者购买境内非外商投资企业股东的股权或认购境内公司增资,使该境内公司变更设立为外商投资企业”,Leon HK向华夏力鸿注资并将其变更为JV的行为属于前述股权并购的情形,应根据10号文第六条的规定经审批机关批准并办理变更登记,但Leon HK收购华夏力鸿剩余全部股权的行为则不属于前述股权并购的情形,不适用10号文,而应适用《外商投资企业投资者股权变更的若干规定》,其核心在于利用了10号文第二条将外国投资者股权并购境内企业的并购标的限定为非外商投资企业(即境内公司)这一“排除性规定”。

然而,颇为有趣的是,10号文第十一条规定:境内公司、企业或自然人以其在境外合法设立或控制的公司名义并购与其有关联关系的境内的公司,应报商务部审批。该条文使用的表述是“境内的公司”而非“境内公司”,根据我们的理解,这两个概念是存在差异的。在本案中,华夏力鸿变更为JV后,虽然可以将其界定为非境内公司,但是否属于“境内的公司”并无进一步解释或说明。更为有趣的是,商务部外资司于2008年12月18日发布了《外商投资准入管理指引手册》,其中“关于并购的审批说明”部分明确规定“境内公司、企业或自然人以其在境外合法设立或控制的公司名义并购与其有关联关系的境内公司,应报商务部审批”,又将关联关系并购的目标公司限定为“境内公司”。从我们检索的采用路径二的案例来看,都将关联关系并购的目标公司默认为“境内公司”,因此,并未进一步阐述不适用10号文第十一条的理由。

路径三:雅迪控股(通过WOFE收购内资企业)

雅迪集团控股有限公司,主营业务为在中国从事电动车及相关配件的开发、制造及销售,于2016年5月19日在香港联交所上市,证券名称为雅迪控股,证券代码为01585。

雅迪控股的境内经营实体为雅迪集团(注:经重组,雅迪集团成为所有境内企业的控股公司),在红筹重组前,雅迪集团的股权架构如下:

1. 境外重组

2014年7月17日,雅迪控股于开曼群岛注册成立,股东为Reid Services Limited。

2014年7月24日,Yadea Group Management于英属维京群岛注册成立,股东为雅迪控股。

2014年8月5日,Yadea HK于香港注册成立,股东为Yadea Group Management。

经过一系列的股份转让、股份发行,于2014年11月27日,雅迪控股分别由大为(2014年7月18日于英属维京群岛注册成立,由董先生全资拥有)、方圆(2014年7月18日于英属维京群岛注册成立,由钱女士全资拥有)、科鼎、明盛、鼎顺七、志诚、鼎臣、锦辉及凌云持有67.3%、28.5%、1.7%、0.70%、0.65%、0.35%、0.35%、0.23%及0.22%。

2. 境内重组

2014年年初,雅迪集团开始向江苏雅迪、天津实业、天津伟业、雅迪进出口、浙江雅迪及江苏新迪各自的股东收购股权。2014年8月22日,雅迪集团成为所有中国境内企业的控股公司。

2014年6月30日,无锡咨询成立为一家JV,股东为Yadea Investment Holdings Limited、无锡元佳百;2014年11月12日,Yadea Investment Holdings Limited将其持有无锡咨询的全部股权转让予廖璟烽先生。

3. 境内企业权益置出境外

2014年12月8日,Yadea HK收购无锡咨询的全部股权,无锡咨询成为WOFE。

2014年12月9日,无锡咨询向董先生、钱女士收购雅迪集团的全部股权,雅迪集团成为无锡咨询的全资子公司。

完成上述步骤后,雅迪控股的股权架构如下:

(注:上图省略了雅迪集团的子公司)

招股书认为雅迪控股的红筹重组不适用10号文,理由为:10号文仅适用于以中国成立的非中外合营企业作为收购对象的情形,无锡咨询自成立以来一直为中外合营企业,其股权转让不适用10号文,而应适用《外商投资企业投资者股权变更的若干规定》。

案例点评:

本案依据10号文第二条将外国投资者股权并购境内企业的并购标的限定为非外商投资企业的规定,解释其收购无锡咨询的行为不适用10号文,与路径二的理由相同。

但是,本案境内企业权益置出境外的关键性步骤为无锡咨询成为WOFE后,向董先生、钱女士收购雅迪集团全部股权的行为,而招股书却未对前述股权并购不适用10号文的理由进行说明。当然,该等股权并购安排并非个案,南方通信(01617.HK)在香港红筹上市的过程中,也存在利用WOFE收购境内企业股权的情形,其招股书将不适用10号文的理由之一解释为,该等股权并购不会将境内企业变更为外商投资企业,其实是利用了10号文第二条将外国投资者股权并购境内企业的结果限定为“使该境内公司变更设立为外商投资企业”的解释空间。但是,10号文第十一条明确规定:境内公司、企业或自然人以其在境外合法设立或控制的公司名义并购与其有关联关系的境内的公司,应报商务部审批。当事人不得以外商投资企业境内投资或其他方式规避前述要求。我们认为,该等案例中WOFE收购境内企业股权的安排虽可能存在规避嫌疑,但最终获成功上市,本身也表明了监管机构的默认态度。

综上,在我们检索的26起采用股权控制模式的案例中,采用路径一、路径二及路径三的案例数量分别为10起(含实际控制人自身或其配偶变更国籍等方式)、11起及5起。前述统计涵盖了同期香港红筹上市的绝大部分案例,在相当程度上反映了股权控制模式下突破10号文的最新路径选择。

三、结 语

资本的强大力量激励着无数企业奔赴在上市之路上,境外成熟的资本市场证券交易所,如香港联交所、纽约交易所、纳斯达克交易所等,对广大的中国企业具有浓厚的吸引力。随着境内企业及个人对于境外资本市场的深入了解,必将会有越来越多的企业加入到境外资本市场的行列。10号文作为中国企业走向境外资本市场必须跨越的门槛之一,经过多年的实践,已经摸索出了诸多突破的路径,在此背景下,对香港红筹上市的案例进行大数据分析,并结合各家公司独有的特点,找到适宜自身的解决方案,对于中国企业的红筹上市法律实践依然具有现实意义。

加载中...