新浪财经 期货

永钢集团频繁出手,增加投资

兰格钢铁网

关注

近日,据企查查显示,江苏永钢集团有限公司新增对外投资张家港东沙物流园开发有限公司,投资比例为50%,认缴出资额为15000万人民币。同时,在江苏联峰建设项目管理有限公司的股份比例从40%增加到100%,具体情况如下:

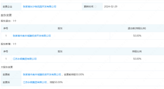
永钢投资张家港东沙物流园开发有限公司

被投资企业:

张家港东沙物流园开发有限公司

股东退出:

张家港市南丰城建投资开发有限公司,退出前持股比例50%

股东新增:

江苏永钢集团有限公司,持股比例50%

大股东变更:

由张家港市南丰城建投资开发有限公司变更为江苏永钢集团有限公司

张家港东沙物流园开发有限公司

张家港东沙物流园开发有限公司成立于2013年7月5日,法定代表人为黄均时,注册资本为30000万元人民币,所属行业为商务服务业,经营范围包含:从事物流园区内道路等公共设施的建设、经营;货物的仓储、装卸、流通加工(危险品除外)及相关信息处理服务和有关咨询业务;提供物业管理服务;码头及其他港口设施服务(涉及许可经营的项目凭许可证经营)(依法须经批准的项目,经相关部门批准后方可开展经营活动)。张家港东沙物流园开发有限公司目前的经营状态为在业。

永钢投资江苏联峰建设项目管理有限公司

被投资企业:

江苏联峰建设项目管理有限公司

股份上升:

江苏永钢集团有限公司,变更前持股比例40%,认缴金额为400万元,变更后持股比例为100%,认缴金额为1000万元。

股东退出:

陆永林,退出前持股比例30%;黄秀伟,退出前持股比例为30%。

最终受益人变更:

从“陆永林,黄秀伟”变更为“吴耀芳”

江苏联峰建设项目管理有限公司

江苏联峰建设项目管理有限公司成立于2017年6月29日,法定代表人为孙学彦,注册资本为1000万元人民币,所属行业为专业技术服务业,经营范围包含:工程项目管理服务;工程技术咨询服务;工程建设项目招标代理服务;工程造价咨询服务;工程监理服务;特种工程。(依法须经批准的项目,经相关部门批准后方可开展经营活动) 一般项目:政府采购代理服务(除依法须经批准的项目外,凭营业执照依法自主开展经营活动)。江苏联峰建设项目管理有限公司目前的经营状态为在业。今日钢铁

加载中...