新浪财经 基金

正定、量派、黑翼领跑百亿量化私募圈,远和、合骥等新锐量化黑马狂奔

市场资讯 2025.06.06 07:45

正定、量派、黑翼领跑百亿量化私募圈,远和、合骥等新锐量化黑马狂奔 | 私募最新动态

来源:挖基哥

新增备案私募产品数量是观察私募机构募资情况的重要窗口。

2024年5月,新增备案私募基金达843只,其中量化私募是规模增长的主力军,贡献了近半数的新增量。

在39家百亿量化私募中,就有28家积极发行新基金,展现出强烈的募资意愿。

与以往“量化四大天王”主导的局面不同,5月发行基金数量最多的并非来自量化第一梯队,而是正定投资、黑翼资产和量派投资。这三家机构近一年规模显著增长,部分甚至实现规模翻倍。

尽管百亿量化私募包揽了发行量前三,但也有黑马崭露头角。远和投资和合骥私募在5月均备案了超过10发只基金。

远和投资作为今年3月新备案的私募机构,拿到牌照后迅速发行基金承接团队资金规模。截至目前,远和投资已备案17只私募基金,包括4月的5只、5月的11只和6月的1只。

01

正定、量派、黑翼:百亿量化私募当红炸子鸡5月又火了?

在私募基金行业,量化私募近年来一直备受瞩目,尤其是那些管理规模达到百亿级的量化私募机构,它们的动向被视为行业的风向标。

2025年5月,有28家百亿量化私募成功备案了新基金,共计138只,不过也有11家百亿量化私募在5月选择“按兵不动”。

在5月份备案基金数量较多的百亿量化私募包括正定投资、黑翼资产、量派投资、九坤投资、茂源量化、诚奇资产、鸣石基金、世纪前沿、顽岩资产、衍复投资、因诺资产、进化论资产、聚宽投资等,新增备案基金数量均在5只及以上。

其中,正定投资、量派投资和黑翼资产表现尤为突出,堪称量化私募圈的“当红炸子鸡”。

这三家百亿量化私募不仅在股票领域有所布局,还涉足期货领域。由于股票市场与期货市场的相关性较低,配置不同类别的资产能够有效分散风险,降低投资组合的波动。

具体来看,正定投资在5月份备案了14只私募基金,夺得“备案王”的称号从备案的产品策略来看,主要集中在中证A500指数增强基金和中证1000指数增强基金。

正定投资是2024-2025年量化私募圈的热门私募之一,在业绩驱动和量化投资环境友好的背景下,规模实现了快速增长。

正定投资早期以CTA策略起家。2023年规模超10亿,到2024年年底,公司规模已接近50亿,随后宣布旗下的500指增策略和中性策略封盘。

2025年4月,正定投资重新开放了所有封盘产品,包括300指增、A500指增、500指增、1000指增及量化对冲策略线,并将对冲策略升级至“混合对冲”版本。同样在2025年4月,正定投资的规模突破百亿,成功跻身“百亿量化私募”俱乐部。

其核心技术是围绕深度学习进行短频预测,公司主要投研人员均来自清北等顶尖高校,核心人员均为“本土派”,无海外背景,交易频率采用中高频策略。指数增强、中性策略的多头端均为量化选股。

量派投资5月份备案基金数为13只,在私募机构中排名第二。

量派投资于2020年9月登记成为私募管理人,正式开启资管业务,目前在指数增强、市场中性、CTA、量化多头等领域均有布局。在今年2月份,公司管理规模已经达到180亿元。

量派投资的创始人包括首席投资官孙林(持股43.60%)和首席技术官余航(持股31.40%),两人均毕业于复旦大学,且都拥有丰富的海外知名量化机构从业经历,在股票和期货领域经验丰富,这对量派投资在量化CTA和量化多头产品的深耕大有助益。

量派投资在5月份备案的新产品主要包括中证2000指数增强、中证1000指数增强、混合中性策略,其中,混合中性由中性、日内股指期货、日内可转债等策略构成。

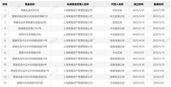
黑翼资产在5月份备案了12只基金,全部为中证A500指数增强基金,在私募机构中排名第三。据业内人士透露,目前黑翼资产的管理规模已经超过240亿元。

黑翼资产的创始人同样有两位,分别是斯坦福大学精英——陈泽浩(统计学博士)与邹倚天(电子工程硕士)。两位创始人深耕量化领域超过17年,曾任职于巴克莱、雷曼兄弟等国际顶尖机构。

黑翼资产早期以CTA策略为核心,后来逐步扩展至股票及多策略领域,其“股票指增+CTA”的复合策略备受市场关注。

不过,这三家私募的出圈路径非常相似,均是因为业绩坚挺走红,并且规模在较短时间内快速增长。但量化私募存在“规模、业绩、波动/回撤”的“不可能三角”,此前的亮眼业绩在规模急速扩张之后能否持续,还有待时间的检验。

02

5月量化黑马:远和、合骥什么来头?

尽管百亿量化私募在产品备案数量上占据前三,但5月也有黑马量化机构崛起,进入前五。

其中,远和投资和合骥私募分别以11只和10只新基金入围。

远和投资(全称:扬州远和私募基金有限公司)成立于2024年6月,2025年3月11日取得私募管理人牌照,3月28日推出首只私募基金“远和可颂1号私募证券投资基金”。

公司股东包括夏良超(51%)、王小傲(23%)、李虎(15%)、彭旺(10%)和张济民(1%)。尽管夏良超是实控人,但核心基金经理是彭旺。

彭旺毕业于南开大学数学系(学士)和清华大学数学系(硕士),曾任职于老牌量化私募龙旗科技,担任策略部负责人,拥有多年中高频alpha研究和交易经验,擅长因子挖掘和机器学习组合。

远和投资专注于中低频量化选股,在公司登记不到3个月的时间内,已备案17只私募基金,承接此前管理的资金,目前管理规模已超10亿元,堪称新私募中的“战斗机”。

合骥私募(全称:上海合骥私募基金管理有限公司)是5月发行新产品数量前五的私募机构之一,新增基金10只,以指数增强基金为主。

公司实控人倪金晶(此前名为倪泾),本科毕业于复旦大学电子工程系,硕士毕业于香港科技大学数学系。

倪金晶曾任职于知名CTA私募富善投资,拥有多年A股市场股票量化策略研究经验,对数据库、量化和程序化分析平台、市场微观结构等有深入研究。

相关阅读:

明汯、黑翼加速布局,宽德减速,正定匀速前行?29家百亿量化私募4月最新动向!

2025年私募新动向:690家私募机构备案超1300只新基金,量化“四大天王”格局生变?

中金代销私募图谱解析:百亿量化私募覆盖率超80%占主导,86家中小私募机构也能突围?| 深度解析

国泰海通2025年32家核心私募曝光,四大百亿量化私募正定、宽德、黑翼等成渠道宠儿?

中信证券代销了哪些百亿量化私募?2025主推私募策略曝光!

本文旨在提供行业概览信息,仅供参考之用。请注意,本文内容不构成任何投资建议,亦不作为任何形式的投资推介材料。在做出任何投资决策之前,投资者应仔细阅读并理解相关基金合同的具体条款和条件。我们致力于提供准确无误的信息。然而,如果文中存在任何错误或不准确之处,可后台与我联系,我将尽力核实并纠正任何可能的错误。投资有风险,入市需谨慎。投资者应根据自身的风险承受能力、投资目标和市场情况,独立做出投资决策,并自行承担投资结果。

责任编辑:石秀珍 SF183

加载中...