新浪财经 基金

资管圈“懵了”!买“基金”巨亏48万,银行被判赔偿30万!代销机构做错了啥?

市场资讯 2023.02.09 22:19

中国基金报 晨曦

资管产品净值化时代,在银行买产品还需“擦亮眼”。

近日,中国裁判文书网公布的一起判决书显示,北京的马女士出资110万在光大银行北京分行购买的基金,持有三年后亏损48.68万元,仅收到赎回款61.32万元。

对此马女士认为,光大银行向其主动推介了与风险评估不相匹配的涉案理财产品,但未采取有效的方式充分披露投资风险,违反了诚实信用和勤勉尽责原则,应对其损失承担责任。马女士遂向法院提起诉讼,要求光大银行赔偿其投资损失。光大银行则表示,已履行“卖者尽责”义务,马女士应承担“买者自负”责任。

马女士的诉求能否得到法院的支持,其投资损失应由谁来承担?来看详情——

投资者:110万买基金亏损近半

首先来看投资者马女士方面的说法:

据马女士称,其在光大银行处开立了私人储蓄账户,2015年4月,经光大银行营业部工作人员主动推介,马女士同意购买“光大金控泰石3号股票型证券投资基金”的110万份额。马女士随即在光大银行营业部柜台现场办理了认购划款手续,从其储蓄账户共计划款110万元。

几周之后,经光大银行营业部工作人员通知,马女士前往光大银行营业部现场领取了《光大金控泰石3号股票型证券投资基金基金合同》,光大金控(上海)投资管理有限公司作为基金管理人、中国光大银行股份有限公司作为基金托管人在该合同上盖章。

此后,马女士再未从光大银行、前述基金的基金管理人、基金托管人处收到任何该基金投资运营的信息,也未有任何收益。后光大银行工作人员电话告知马女士称,其购买的前述基金发生巨额亏损,据此,马女士于2018年4月18日办理了赎回手续,其资金损失为48.68万元。

马女士认为,光大银行工作人员在基金推介过程中,未充分披露前述基金的投资风险,未向其出示和提供基金合同以及基金招募说明书,未充分介绍基金合同的主要条款,未对马女士进行风险认知、风险偏好和风险承受能力的评估测评。

马女士称,光大银行明知案涉基金风险超出其风险承受能力却仍然向其主动推介,其行为违反了诚实信用、勤勉尽责原则和适当性义务,其行为构成欺诈,造成了自己的投资损失。马女士向一审法院起诉请求,判令光大银行赔偿其理财认购金损失48.68万元,并支付相关利息及诉讼费用。

银行:已经“卖者尽责”

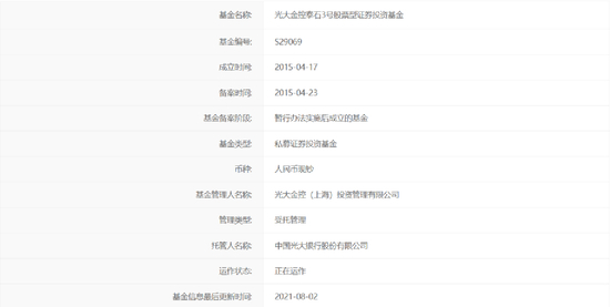
中基协信息显示,“泰石3号”成立于2015年4月,是由光大金控(上海)投资管理有限公司管理的私募证券投资基金,光大银行担任托管人。

据一审法院认定,2012年4月至2017年2月,马女士多次在光大银行处进行风险评估测试,结果显示其风险承担能力由稳健型变更为平衡型。2014年9月,马女士的风险等级评级为平衡型,评级有效期至2015年9月30日。

此后,2015年4月,马女士于2015年4月认购“泰石3号”,并填写申请书、支付认购金额110万元。2015年4月17日,光大金控公司发布基金成立公告。2018年4月18日,马女士赎回案涉基金,收到赎回款61.32万元。

在一审中,光大银行主张,马女士曾多次购买理财产品。例如,马女士于2013年5月购入“光证-光大金控泰玉1号集合资产管理计划”,认购金额为71万元。该资产管理计划说明书中载明产品风险等级为“高风险”。2014年3月,马女士赎回该产品,收到赎回款73.32万元。

一审法院认为,光大银行在《基金合同》签订前对马女士进行了数次风险评估测试,且相关文件中多处条款明确了基金的投资风险。马女士属于有一定经验的投资者,对其主张光大银行未向其充分介绍诉争基金的主要内容、未向其告知风险、未将适当产品推介给适当投资者的意见,法院不予采纳。

由于一审法院未支持其主张,马女士向北京金融法院提起上诉。马女士认为,光大银行向其主动推介了与其风险评估不相匹配的涉案理财产品,但未采取有效的方式充分向马女士披露涉案基金的各种重要信息和投资风险,光大银行未能履行适当性义务和充分的告知说明义务,违反了诚实信用和勤勉尽责原则,应对其损失承担责任。

对此,光大银行表示,认可一审判决。马女士是本科学历知识分子,有风险识别能力。在本案产品前,马女士投资过高风险理财产品,有投资经验。光大银行已提供充足的证据证明履行了“卖者尽责”义务,完成了相应的举证责任,马女士应承担“买者自负”责任。

法院:酌定赔偿30万元

在二审环节,北京金融法院对该案进行了改判,部分支持了投资者的赔偿请求。

首先,关于马女士投资的产品是否与其风险评估不匹配的问题。经二审庭审确认,光大银行认可案涉投资产品为较高风险型,与马女士风险评估不匹配。但光大银行主张,基于其银行内部的业务规则,投资人只要承诺愿意自担风险,也可以购买较高风险等级的产品。

关于光大银行是否恰当履行适当性义务及充分告知说明义务的问题,基于光大银行已认可向马女士销售的案涉产品确实超越了马女士的风险承受能力,但主张系马女士充分知晓案涉产品风险等级高于风险承受能力后主动要求购买,法院认为,应当由光大银行对此举证。

光大银行主张马女士已在《申请书》签字确认“超过本人风险承受能力,自愿承担风险”。经查,该《申请书》为光大银行提供的格式文本,其上虽打印“超过本人风险承受能力,自愿承担风险”字样,但该栏中签字处并无马女士确认,该字样本身亦无加黑加粗或其他显著提示。

经询,光大银行无其他证据证明对马女士进行过提示说明或充分告知,亦无其他证据证明马女士确认明知超出本人风险承受能力,仍自愿承担风险、坚持认购案涉产品。法院无法采信相关证据系马女士主动签字确认认购超出风险承受能力,自愿承担风险;更不足以据此认定光大银行恰当履行适当性义务以及进行过充分告知说明。

此外,光大银行主张,马女士曾在此产品前购买过高风险产品,属于有一定经验的投资者,应认定对风险明知。

法院认为,光大银行作为专业的金融机构在明知案涉产品超出马女士风险承受能力的情况下,并无充分证据证明马女士对此明知且确认,无法证明其恰当的履行了适当性义务及充分告知说明义务,法院对光大银行以投资者过往投资经验主张免除其未履行适当性义务及告知说明义务的责任无法支持。

关于责任承担范围和金额,法院认为,虽然光大银行在销售案涉产品时确实存在未恰当履行适当性义务和告知说明义务的情形,但马女士作为有一定经验的投资者应当对所投资产品的风险等级和自身风险的匹配进行关注。结合案涉产品的销售时间、马女士的投资经验及本案具体在案证据事实,最终法院酌定光大银行的赔偿责任为30万元。

编辑:舰长

加载中...