新浪财经 基金

一季度“冠军指基”呼之欲出,蛰伏两年后飙涨六个月

资本深潜号

关注

距离兔年的一季度结束还要10天时间,指数型股票基金的“领跑榜单”已经浮出水面。

自年初以来,随着行情整体震荡上行,动漫游戏ETF连续多日领涨股票型指数基,迄今仍劲头不减。

动漫游戏ETF何以开年以来领涨?

哪些投资者从中获益?

01

预定一季度“冠军”

得知一季度“冠军”指数基是动漫游戏ETF,很多人的反映是——啥,动漫游戏也有ETF了?

确实是有的。

根据Choice数据显示,截至2月20日,动漫游戏ETF在所有指数型股票基金的中的涨势异常突出,分居前二。

其中,华夏中证动漫游戏ETF收益率达到24.35%以上

国泰中证动漫游戏ETF的收益率接近23.5%

两者包揽了今年以来的基金涨幅前列位次。

02

曾经蛰伏近两年

动漫游戏ETF的这一波回暖,最早可以追溯到去年四季度。

以中证动漫游戏指数走势为参考,动漫ETF历史过去三年的最高点发生在2020年1月,而最低点则在去年11月,一轮浩浩汤汤的调整行情走了20个月(下图)。

这期间的跌幅接近50%。

而自去年10月中旬探底后,该指数又反弹了近40%。后者直接推升了相关ETF的净值表现。

03

原因为何?

关于动漫游戏的指数表现,或许可以追溯到整个行业的景气起伏。

历史上看,动漫游戏指数曾在2016年末达到了历史最高峰的4000点,恰好对应当年的游戏景气大年。

此后,相关个股的业绩波动不断推动指数下行,最多时候跌幅超过75%。

同样类似的,此轮反弹中,一些大型游戏公司也表现极佳。三七互娱最大涨幅超70%(从去年4季度最低位置起算),世纪华通涨幅30%左右,完美世界近40%,昆仑万维最高涨幅连翻倍都不止。

这些个股都是动漫游戏ETF的前十大重仓股,自然连带拉动行业ETF的涨幅靠前。

附图:华夏动漫游戏ETF前十大重仓股

04

谁成功抄底?

如果要电算这一波动漫游戏ETF 涨势中受益最大的,无疑是去年三季度左右在册的持有人。

但实实在在的说,大部分主流机构都没有抄到动漫游戏行业的底。

从华夏中证动漫游戏ETF 去年中报的持有人名单看,除了常见证券公司投资者外,富国智鑫FOF基金,私募优财鸿景一号,成为名单中罕见的机构投资者。

这两家最初的持有份额在500万份到900万份之间。

值得提示下的是,唯一一家私募基金是上海优优财富旗下的优财鸿景一号产品。上海优优财富是一家成立于2014年的私募基金公司,该公司由东方财富信息服务公司百分百控股。

唯一的一只FOF持有人是富国智鑫行业FOF—LOF基金。该只基金成立于2021年,截至去年末的管理规模是1.55亿元。

基金经理是张子炎,累计任职时间是三年多,现任基金总规模是29.21亿元。

此外,还有一位持有人虽来自于常见的保险系,却是车险背景公司,即众诚汽车保险。

这家车险公司成立于2011年,是首家总部设在广州市的中资保险法人机构。2015年注册资本变更为15亿元。

这家公司前三大股东占总股比的60%左右,有两家是广汽系,具备明显的广州国资背景。

05

牛散、私募频出

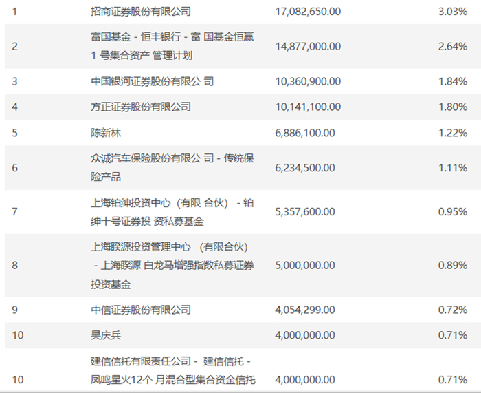
国泰中证动漫游戏ETF的持有人与与华夏中证动漫游戏ETF有相似之处。

持有人也有一定重合,比如上面提到的众诚汽车保险、方正证券、建信信托等。

不过,最让人眼前一亮的,是两位“牛散”和两家私募基金。

“牛散”陈新林的持有比例超过1%,吴庆兵持有占比为0.71%。

上海铂绅和上海睽源都是上海系的私募,股东皆为自然人,从股权结构来看,并没有特别的联系。

据天眼查APP内容显示,上海睽源和上海铂绅的股东均为个人。

本期责任编辑 倪静

加载中...