新浪财经 基金

哈佛博士搞了个锂电公司,昨晚纽交所上市,有投资方回报超过100倍

投中网

关注

动力电池产业将会越来越卷?

一家零收入的公司,刚刚拿下了36亿美元市值。2月4日晚,锂金属电池厂商SES以SPAC的方式登陆纽交所。

SES成立于2012年,创始人胡启朝是哈佛大学应用物理学博士,求学期间便从事锂电池的研究。2012年胡启朝博士毕业后创立了SES,次年拿到了祥峰投资的天使轮。到现在,SES已经进行了长达近十年的研发,但仍无产品上市。

而就是这样一家公司,其股东名单上可以看到天齐锂业、通用汽车、上汽集团、吉利集团、韩国SK集团、美国应用材料公司等等众多业界大名鼎鼎的公司,它们都是锂电池产业链上下游的产业巨头。这些产业资本为何而来?

当下动力电池行业战局火热,宁德时代1月27日刚刚发布了一份净利润同比增长181%-228%的业绩预告,市值已超1.3万亿人民币。同日,另一家动力电池巨头LG新能源在韩国上市,开盘股价暴涨99%,市值最高时突破了7500亿元人民币。

SES创始人胡启朝向投中网表示,未来随着锂金属电池的逐步产业化,动力电池市场格局还将会发生改变,而SES将致力于成为这一市场的“全球领导者”。祥峰投资管理合伙人郑俊聪则说的更加直白:SES未来完全有机会成为宁德时代量级的公司。

一家还没有产品上市的公司,却说要做下一个宁德时代,底气来自于哪里?

十年研发 量产仍需时间

2021年11月,SES发布了Apollo™锂金属电池,其容量高达107Ah,是目前全球单体容量最大的锂金属电池,也是世界上首次公开展示的超过100Ah的单体锂金属电池。

目前市面上新能源汽车采用的三元锂电池、磷酸铁锂电池,均属于锂离子电池。而锂金属电池则被认为是下一代动力锂电池,性能要远远超越传统的锂离子电池。

SES发布的这款Apollo™锂金属电池能量密度高达417Wh/kg。这是什么概念呢?目前实际量产的三元锂电池能做到200Wh/kg以上,磷酸铁锂方面,比亚迪著名的“刀片电池”能量密度大约是150Wh/kg。也就是说,与现有的锂电池相比,SES的产品能量密度一举提升了一倍。一旦上车应用,目前困扰新能源汽车的里程焦虑将永远成为历史。

手握全球领先的锂金属电池技术,正是SES能够拿下36亿市值的资本。

2021年3月,SES与通用汽车签署了锂金属电池A样品联合开发协议。一款新电池要真正上车,一般而言要经历工程样品、A样品、B样品、C样品几大环节,最后才是量产。SES是全球第一家与主流车企签署锂金属电池A样品联合开发协议的公司。

2021年5月,SES又与现代汽车签署了联合开发协议,这是全球第二份锂金属电池A样品合同。

2021年12月,SES又与本田签署联合开发协议。

目前,SES已经与三家主流车企签署了A样品联合开发协议。据胡启朝透露,接下来还将有更多的合作陆续发布。实际上,从SES的股东名单上的众多车企就不难看出,SES早就在布局商业化。

同时,SES还宣布正在上海嘉定建设总面积达30,000平方米的超级工厂,计划于2023年竣工,建成后将是全球产能最大的锂金属电池工厂。

对于上车的时间表,胡启朝表示,一般A样品阶段需要两年时间,B、C样品各需一年,然后是量产。因此,SES的电池预计在2025年左右可以上车与广大消费者见面。

尽管创业十年的SES仍处于亏损状态,但以上市为分界线,其将逐渐迎来商业化落地。SES在招股书中预计,公司将在2025年实现商业化生产。在产能上,正在建设的嘉定工厂将在2023年竣工后达到1GWh产能,随着韩国等其他国家的工厂相继启动,到2025年,SES总产能预计将超过10GWh,2027年超过80GWh,到2028年将超过100GWh。

按招股书描绘的这副图景,下一个宁德时代可不是说说而已。可资比较的是,宁德时代在2021年前三季度的产能是106GWh,这些产能实现的营收是733.62亿,净利润91.45亿元。

六轮融资 产业巨头云集

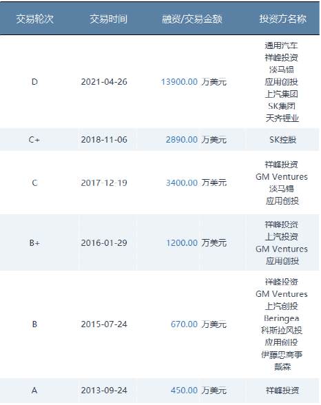
创业十年一直在烧钱,SES的发展自然离不开融资。到上市前,SES完成了6轮融资,引入了众多投资方。但有意思的是,其中绝大部分都是产业资本,仅有的财务型投资机构是祥峰投资,以及祥峰投资的母公司淡马锡。

SES融资史,来源:CVSource投中数据

祥峰投资管理合伙人郑俊聪向投中网表示,在2013年前后,无论是中国还是美国的VC,目光都集中在互联网行业,像SES这样的硬科技公司融资是不太容易的。

另一个原因是,相比于当时已经上车应用的锂离子电池,锂金属电池的商业化前景还非常不明朗。

按SES目前股价,作为天使投资方的祥峰投资回报已经超过100倍。回忆投资SES的过程,郑俊聪表示,他当时看到了锂离子电池在能量密度上的固有瓶颈,新能源汽车未来要真正普及,必须寻找能量密度更高的电池方案。在考察了各种技术路线之后,郑俊聪认为胡启朝团队的锂金属电池技术是离商业化最近的,可以最大程度的利用现有的锂离子电池生产工艺,不需要完全另起炉灶。但即便如此,郑俊聪当时的预期依然是SES“至少需要六七年”的时间才能商业化。

祥峰投资之后,SES在2015年钱烧的差不多了,融资又遇到了困难。最后还是在郑俊聪向淡马锡极力推荐之后,SES才拿到淡马锡的“救命钱”。

胡启朝向投中网坦言,投资方主要以产业方为主,一方面有产业资源上的考虑,另一方面也是因为产业方对商业化的要求不像财务型机构那么高,更愿意布局前瞻性的技术。

实际上,此次SES合并的SPAC实体Ivanhoe Capital Acquisition Corp背后也是一家产业方。Ivanhoe Capital中文名艾芬豪资本,其旗下的艾芬豪矿业是一家世界级矿企。胡启朝在采访中表示,艾芬豪在非洲有非常大的镍矿和铜矿,选择通过艾芬豪上市,也是希望与其在镍的原材料方面有战略合作。

固态电池山雨欲来 卡位赛已经打响

2021年1月,蔚来在“NIO Day”上发布了搭载固态电池的车型蔚来ET7,宣称其将在2022年四季度上市,续航可超过1000公里。这是第一次有车企明确了固态电池车型的上市时间表,从那时起,固态电池的概念火了整个2021年。

固态电池与锂金属电池,是两个紧密相关的概念。

每一款锂电池都有正极、负极、电解液三个基本结构。传统的三元、磷酸铁锂电池只是正极材料的不同,负极都是碳、硅,电解质则是液态的。如果把液态的电解质换成固态电解质,就是所谓的固态电池,再把负极由碳、硅换成锂金属,就是锂金属电池。

经过多年探索,锂金属电池如今已经被公认为动力电池的终极解决方案,它的优点除了前面提到的能量密度大大提升之外,安全性、充电速度也有数量级的提升。如果能够实现量产,新能源汽车被人诟病的里程焦虑、自燃起火、充电耗时等问题都将不复存在。宁德时代中国区乘用车解决方案部总裁项延火曾在2021年全球新能源汽车大会上表示:“经过近10年的攻关研究,我们认为采用锂金属为负极材料的全固态金属电池是固态电池的最优发展方向。”

当然,由于全固态电池在技术上遇到了难以克服的困难,目前的主流路线是“半固态”而非“全固态”,也就是混合使用固态、液态电解质。SES也不例外,在研发的早期就放弃了全固态路线。胡启朝表示,全固态电池遇到的问题是基础化学问题,在可预见的未来都没有办法解决,因此他认为混合锂金属电池为更加可行的技术路线。

路线图是明确的,问题在于谁能跑的更快?目前,几乎所有动力电池厂商、主机厂都在跑马圈地。

1月22日,东风汽车举办了首批50辆东风风神E70电动汽车交付仪式。这款车的特别之处是搭载了东风与赣锋锂业联合开发的固态电池,被冠之以“全球首款搭载固态电池的量产电动车”之名。

不过,东风风神E70搭载的固态电池准确而言也是半固态,并且负极材料并不是金属锂。从披露的信息来看,该款电池能量密度与目前主流三元电池相比提升不明显,能量密度在260Wh/kg左右。

2021年11月,国轩高科董事长李缜透露,公司为国内某高端纯电动汽车配套的半固态电池实现了续航里程超1000公里,比其第一代车型提高了一倍。不过李缜并未透露配套的车企、车型等信息。

1月13日,孚能科技董秘在回复投资者时表示,公司半固态电池送样给整车客户获得了良好反馈。2021年12月,曾有媒体报道称,孚能科技固液混合电池(A样)已送交戴姆勒奔驰,能量密度达330Wh/kg。

1月27日,戴姆勒奔驰宣布了投资了台湾固态电池研发企业辉能科技,投资额近亿欧元投资。双方还宣布签署技术合作协议,共同开发电动汽车固态电池电芯,首批配备此共同开发固态电池的梅赛德斯·奔驰测试车辆将在未来几年内推出。

2021年11月,固态电池创业公司卫蓝新能源获得来自华为和小米集团等战略机构的投资,据称估值50亿人民币,投资额约5亿元。卫蓝新能源传闻是蔚来半固态电池方案的供应商。

可以预见,未来的动力电池产业将会越来越卷。因此,胡启朝向投中网表示,SES上市后除了继续推进产品上车量产,还将积极进行产业链上下游布局,“未来几年行业将会经历整合,而只有大的公司能存活下来”。

加载中...